IKEA IDÅSEN Drawer Unit with Smart Lock

Product Information
- Product Name: ROTHULT
- Model Number: AA-2085692-4
- Date of Manufacture: 2022-03-31
Product Usage Instructions
- Identify the model number (AA-2085692-4) and confirm the date of manufacture before use.
- Refer to the user manual for detailed instructions on product installation, configuration, and maintenance.
- Use the product in accordance with its intended purpose and specifications.
- Ensure that all components of the product are properly installed and securely fastened before use.
- Do not attempt to modify or alter any part of the product, as this may result in damage or malfunction.
- Keep the product away from moisture, heat sources, and direct sunlight.
- Store the product in a dry, cool place when not in use.
- If experiencing any issues or problems with the product, contact customer support for assistance.
WHAT’S INCLUDE



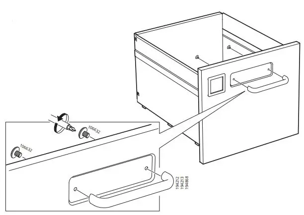
ASSEMBLY








































PRECAUTION

© Inter IKEA Systems B.V. 2017




















