NEOMITIS TMR7 7 Day Single Channel Digital Timer

TMR7

7 DAY SINGLE CHANNEL DIGITAL TIMER
PACK CONTAINS

INSTALLATION
MOUNTING OF WALL MOUTING PLATE
The digital timer is fixed on the wall with the wall plate which is supplied with the product.
- Unscrew the 2 screws under the timer.

- Remove the wall plate from the timer

- Secure the wall plate with the two screws provided using the horizontal and vertical holes.

- In case of surface mounting, a knock out area is provided on the wall plate and on the corresponding area of the timer.

WIRING
All electrical installation work should be carried out by a suitably qualified Electrician or other competent person. If you are not sure how to install this timer consult either with a qualified electrician or heating Engineer. Do not remove or refit the appliance onto the backplate without the mains supply to the system being isolated.
● Internal wiring
N = Neutral IN
L = Live IN
1 = Voltage free contact Feed IN 1
2 = Voltage free contact Feed IN 2
3 = Voltage free contact N.O. switching. out 1
4 = Voltage free contact N.O. switching out 2

Note: for 230V switching, insert link between L and 2.
• Wiring diagrams
Standard Connection to Combi Boiler (with Service shut-down if enabled of heating only)
Connection to Combi Boiler (with Service shut-down if enabled of both heating & hot water)
2- Secure the timer by screwing both locking screws under the time
INSTALLER SETTINGS
ADVANCED INSTALLER SETTING
● Access
Move the mode slider to off position.
Move the programming slider to
position.
Press simultaneously and Review for 5 seconds.

5 advanced settings can be modified.
Press until yes correct option is in display then use - or + to select your choice
| Setting number | Description |
| 1 | Select gravity/pumped mode (not used |
| 2 | Set 12 or 24 hours clock |
| 3 | Activation of auto Summer/Winter change over |
| 4 | Set the number of ON/OFF periods |
| 5 | Select your system between Z1or CH |
| 6 | Activation of backlight |
● Gravity/Pumped mode (1 – not used)
The pre-set system is Pumped.
- Press
-or+to change to Gravity (2).
1 = Pumped
2 = Gravity
- Then save by moving the programming slider or save and go to next setting by pressing
Yes.
● Set 12/24 hours clock (2)
The pre-set value is 12 hours clock.
- Press
-or+to change to “24h”.
- Then save by moving the programming slider or save and go to next setting by pressing
Yes.
• Auto Summer/Winter change over (3)
The auto Summer/Winter change over default is ON.
- Press
-or+to change to OFF
- Then save by moving the programming slider or save and go to next setting by pressing
Yes.
● Set number of ON/OFF periods (4)
You can adjust the number of ON/OFF switching time periods. The pre-set number is 2.
- Press
-or+to change to 3 periods.
- Then save by moving the programming slider or save and go to next setting by pressing
Yes.
● Installation operating (5)
The digital timer can manage Central Heating or 1 zone. The pre-set choice is CH.
- Press
-or+to change to Z1.
- Then save by moving the programming slider or save and go to next setting by pressing .

● Backlight (6)
The backlight can be switched Off. The pre-set value is ON.
- Press or to change to OFF

- Then save by moving the programming slider or save and go to next setting by pressing .

TECHNICAL SPECIFICATIONS
- Power supply: 220V-240V/50Hz
- Output per relay: 3(2)A, 12V-240V~.
- Rated impulse voltage: 4000V
- Micro disconnection: Type 1B.
- Pollution degree: 2.
- Automatic action: 100,000 cycles.
- Class II.
Environment: - Operation temperature: 0°C to +40°C.
- Storage temperature: from -20°C to +60°C.
- Humidity: 80% at +25°C (without condensation)
- Protection rating: IP30.
UKCA declaration of conformity: We, Neomitis Ltd, hereby declare under our sole responsibility that the products described in these instructions comply with statutory instruments 2016 No.1101 (Electrical Equipment safety Regulations), ), 2016 No.1091 (Electromagnetic Compatibility Regulations) , 2012 n°3032 (ROHS) and following designated standards:
- 2016 No.1101 (Safety): EN 60730-1:2011, EN 60730-2-7:2010/ AC:2011, EN 60730-2-9:2010, EN 62311:2008
- 2016 No.1091 (EMC): EN 60730-1:2011 / EN 60730-2-7:2010/AC:2011 / EN 60730-2- 9:2010
- 2012 n°3032 (ROHS): EN IEC 63000:2018 Neomitis Ltd: 16 Great Queen Street, Covent Garden, London, WC2B 5AH UNITED KINGDOM – [email protected]
EU declaration of conformity: We, Imhotep Creation, hereby declare under our sole responsibility that the products described in these instructions comply with the provisions of Directives and harmonized standards listed below:
- Article 3.1a (Safety): EN60730-1:2011/ EN60730-2-7:2010/EN60730-2-9: 2010/ EN62311:2008
- Article 3.1b (EMC): EN60730-1:2011/ EN60730-2-7: 2010/ EN60730-2-9: 2010
- RoHS 2011/65/UE, amended by Directives 2015/863/UE & 2017/2102/UE : EN IEC 63000:2018
Imhotep Creation: ZI Montplaisir – 258 Rue du champ de courses – 38780 Pont-Evêque – France – [email protected] Neomitis Ltd and Imhotep Creation belong to Axenco Group.
The symbol
affixed on the product indicates that you must dispose of it at the end of its useful life at a special recycling point, in accordance with European Directive WEEE 2012/19/EU. If you are replacing it, you can also return it to the retailer from which you buy the replacement equipment. Thus, it is not ordinary household waste. Recycling products enables us to protect the environment and to use less natural resources.
7 DAY SINGLE CHANNEL DIGITAL TIMER

OVERVIEW

Thank you for purchasing our TMR7, 7 day single channel digital timer.
It is by listening to your requirements we have created and designed our products to be easy to operate and install.
It is this ease of operation that is intended to make your life easier and help you save energy and money.
CONTROLS AND DISPLAY
● Timer

SETTINGS
INITIAL POWER UP
- Switch on the timer power supply. All symbols will be displayed on the LCD screen as shown for two seconds.

- – After 2 seconds, the LCD will show:
– The default time and day
– Run icon solid
– CH systems is OF
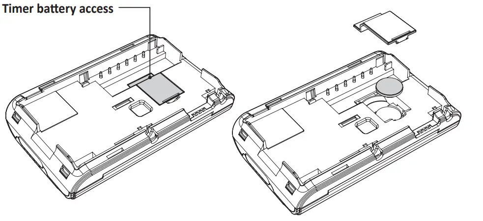
Note: A low battery level indicator
will appear in the display when the battery must be change
Remember to take used batteries to a battery collection point so they can be recycled.
PROGRAMMING
Note : The unit is already set with correct date and time. Should timer need reseting for any reasons, please see instructions on page 3.
SET THE CH/Z1 PROGRAMMING
- Move the Programming slider to position . All days of week are solid. Underscore and Yes/ No are flashing.

- Press
Dayif you want to set an other day of the week. Underscore moves under the other days. Then pressYesto program the underscored day.
- Press or to increment/decrement the first On/Off period start time. Then press
Yesto confirm
- Press
+or-to increment/decrement the first On/Off period end time.
Then press Yes to confirm.
- Repeat for the second On/Off period and for the third On/Off period. (Please refer to the advanced installer settings on Installation instruction to enable the third On/Off period).
On/Off periods Default schedule Two On/Off periods settings Period 1 Start at 06:30 am End at 08:30 am Period 2 Start at 05:00 pm End at 10:00 pm Three On/Off periods settings Period 1 Start at 06:30 am End at 08:30 am Period 2 Start at 12:00 pm End at 02:00 pm Period 3 Start at 05:00 pm End at 10:00 pm - The current program can be copy to the next days. Press Yes to copy or No to program manually the next day.

- When finished, move the program slider to
Runposition to confirm.
OPERATING
MODE SELECTION AND DESCRIPTION
Mode slider sequences for CH/Z1:
Constant → all day → auto → of
Constant: Permanent ON mode. The system is permanently turned ON.

All day: The system turn ON from the first On period start time until the last Off period end time of the current day

Auto: Automatic mode. The unit is controlling to the programming that have been selected (refer to “Programming” section page 2).

Off: Permanent Off mode. The system stays Off permanently. The boost mode can be still used.

BOOST
BOOST: Boost mode is a temporary mode which allows you to switch ON for 1, 2 or 3 hours. At the end of set period the device will revert to its prior setting.
BOOST will work from any running mode.
BOOST is entered by pressing button.
Press 1 time to set 1 hour, 2 times to set 2 hours and 3 times to set 3 hours.
BOOST is cancelled by pressing again on Boost or movement of sliders.
When BOOST is running the end of Boost period is shown for each system.
Note:
- The Programming slider must be in the
Runposition. - There will be a slight delay between pressing
Boostand activation of the relay.
ADVANCE
Advance: advance mode is a temporary mode which allows you to switch ON the system in advance, until the next On/Off period end time.
Press Adc button to activate this mode. Press again Adc button to disable it before the end.
HOLIDAY
Holiday: Holiday mode allows to switch off the heating (or Z1) for a specified number of days, adjustable between 1 and 99 days.

To set the holiday function:
- Press Day button for 5 seconds

- OFF appears on the display. Press
+or-to increment or decrement the number of days.
- Then press
Yesto confirm. the heating (or Z1) switch Off and the number of remaining days will count down on display.
- To cancel the holiday function, press
Daybutton.
REVIEW
Review: Review mode allows to review all programming in one time. The review starts from the beginning of the week and each steps appears each 2 seconds
Press Review button to start the programming review.
Press again to go back on normal operating mod
| Settings | Factory settings | |
| Two On/Off oeriods settin,zs | ||
| Period 1 | Start at 06:30 am | End at 08:30 am |
| Period 2 | Start at 05:00 pm | End at 10:00 pm |
| Three On/Off periods settings | ||
| Period 1 | Start at 06:30 am | End at 08:30 am |
| Period 2 | Start at 12:00 pm | End at 02:00 pm |
| Period 3 | Start at 05:00 pm | End at 10:00 pm |
Note: To restore factory settings, press and hold down this part for more than 3 seconds using the tip of a pen
All LCD display will be turned ON for 2 seconds and the factory settings will be restored.
SET DATE AND CLOCK
- Move the Programming slider to position
.
Preset year is solid.
- To select the current year, press , to increment the year.
Press , to decrement the year.
PressYesto confirm and set the current month.
- The preset month appears. Press to increment the month. Press to decrement the month.

- The preset day appears. Press
+to increment the day. Press or-to decrement the day.
01= January ; 02 = February ; 03 = March ; 04 = April ; 05 = May ;
06 = June ; 07 = July ; 08 = August ; 09 = September ; 10 = October ;
11 = November ; 12 = December
5- The preset time appears.
Press + to increment the time.
Press - to decrement the time.
Move the program slider to any other position to confirm/finish this setting.
TROUBLESHOOTING
Display disappears on timer:
- Check fused spur supply.
Heating does not come on:
- If the CH Indicator light is on then it is unlikely to be a fault with the timer.
- If CH indicator light is NOT ON then check programme then try BOOST as this should operate in any position.
- Check that your room thermostat is calling for heat.
- Check that the boiler is on.
- Check that your pump is working.
- Check that your motorized valve if fitted has opened.
If the problem persists contact your installer
Note: If Service due soon or service due appears in display please contact your landlord.
TECHNICAL SPECIFICATIONS
Please refer to the installing instructions for any informations about, standards and product environment
NOTE
In some instances the unit may have been set with the service interval function enabled.
By Law in rented accommodation, your gas boiler should be inspected/serviced annually to ensure it is working correctly. This option is designed to remind the end user to contact the relevant person to have the annual service carried out on the boiler.
This function will be enabled and programmed by your Installer, maintenance Engineer, or Landlord.
If it has been set to do so, the unit will display a message on the screen to remind you that a boiler service is due.
The Service Due Soon countdown will be indicated up to 50 days before the Service is due to allow time to arrange for an engineer to attend, normal functions will continue during this stage.
At the end of this service due soon period, the unit will go to Service Due OFF at which point only the 1hour boost will operate on TMR7 and PRG7, if the unit is a thermostat RT1/RT7, it will operate at 20°C during this hour.
If PRG7 RF, Thermostat has no function.,
WHAT IS A TIMER ?

..an Explanation for Householders. Programmers allow you to set ‘On’ and ‘Off’ time periods. Some models switch the central heating and domestic hot water on and off at the same time, while others allow the domestic hot water and heating to come on and go off at different times. Set the ‘On’ and ‘Off’ time periods to suit your own lifestyle. On some timers you must also set whether you want the heating and hot water to run continuously, run under the chosen ‘On’ and ‘Off’ heating periods, or be permanently off. The time on the timer must be correct. Some types have to be adjusted in spring and autumn at the changes between Greenwich Mean Time and British Summer Time. You may be able totemporarily adjust the heating programme, for example, ‘Advance’, or ‘Boost’. These are explained in the manufacturer’s instructions. The heating will not work if the room thermostat has switched the heating off. And, if you have a hot-water cylinder, the water heating will not work if the cylinder thermostat detects that the hot water has reached the correct temperature.
www.neomitis.com
NEOMITIS® LIMITED – 16 Great Queen Street, Covent Garden, London, WC2B 5AH UNITED KINGDOM
Registered in England and Wales No: 9543404
Tel: +44 (0) 2071 250 236 – Fax: +44 (0) 2071 250 267 – E-mail: [email protected]





















































