eve MOTIONBLINDS CM-03-E Upgrade Kit for Roller Blinds

What’s In The Box

Tools

Caution

Dimensions


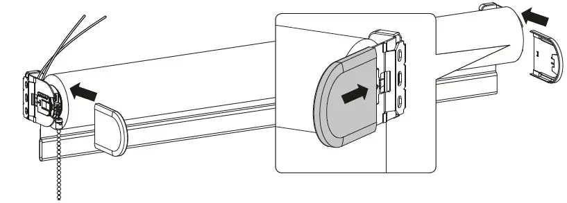
Installation Instruction










Follow the steps in the manual CM-03-E to activate the blind:

For more information and support:
Coulisse DIY B.V.
Vonderweg 48 7468 DC Enter
The Netherlands.
rtube.nl/red1920.

















