
USER MANUAL


Thank you for purchasing this Olight Product. Please read this manual carefully before use and keep it for future reference!
IN THE BOX

Arkfeld USB Magnetic Charging Cable
SPECIFICATIONS

- TURBO 1000 lumens
- HIGH 300 lumens
- MED 60 lumens
- LOW 15 lumens
- MOON 1 lumen

2,560cd 101m IPX7 1m
![]()
(L)110*(W)25*(H)15mm Working temperature:
(L)4.33*(W)0.98*(H)0.59in 0-45°C
| Max Output: 0.39mW (Class1) Max Runtime: 122h Wavelength: 510~530nm |
| WINTER 3 | ETERNAL 3 | |
| BODY MATERIAL | TITANIUM | COPPER |
![]() | 120g/4.23oz | 199g/7.02oz |
* All above specifications are test results based on ANSI/NEMA FL1-2009 Standard. The tests are performed using the battery included in the flashlight with full battery.
Note: The maximum output brightness will decrease as the battery voltage decreases.
LASER
1
Max Output: ≤0.39mW@510nm~530nm Wavelength
USB MAGNETIC CHARGING CABLE
| Parameter | Specification |
| Charging cable | USB magnetic charging cable, length: 0.5m |
| Input | USB A – Type DC 5V 1A |
| Charging pattern | CC&CV |
| Maximum charging current | 1A |
| Voltage of fully charged battery | 4.2V±0.05V |
| Time to fully charge | 2 hours (For reference only. When the USB power source is insufficient to provide 5V 1A power capacity, the charging time will be longer) |
| Charging indicator | Red: charging Green: full (battery ≥ 95%) or disconnected with flashlight |
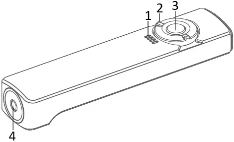
PRODUCT OVERVIEW

- Battery Indicators
- Selector
- Center Button
- Magnetic Charging Port

- Pocket Clip
- Green Laser
- White Light
BEFORE FIRST USE
The Arkfeld ships in lockout mode. Before first use, Press and hold the center button (about 1 second) until the flashlight turns on with the moonlight or laser, and the flashlight will be unlocked.

CHARGING

- GREEN
Charging Completed - RED
Charging - USB Magnetic Charging Cable
* Before first use please fully charge the product.
BATTERY LEVEL INDICATORS

- Four green indicators (>75%)
- Three green indicators (50%-75%)
- Two green indicators (25%-50%)
- One green indicator (10%-25%)
* One red indicator (<10%)
| ICON | LIGHT SETTING |
| WHITE LIGHT | |
| GREEN LASER |

DANGER
- Don’t store, charge or use this light in a car where inside of temperature may be over 60°C, or similar places.
- Don’t disassemble the battery.
WARNING
- Do not short the charging port with metallic object intentionally
CAUTION
- Do not look directly at the light source or shine to eyes, may cause temporary blindness or permanent damage to the eyes.
- Do not block the light outlet at close range, the energy emitted from the light may cause the object to burn.
- Do not remove or replace the built-in battery.
- Dedicated battery, do not take it out for charging.
NOTICE
- It is not recommended to use the product while charging.
- Do not put a hot light into any type of fabric bag or fusible plastic container.
- Do not activate the maxiumum brightness mode multiple times continuously to prevent the high temperature on the surface.
- When the light gets hot, please switch it to low brightness mode, or shut off the flashlight temporarily.
- Active thermal management: The built-in thermister monitors the temperature of the light in real time and suppresses overheating by reducing the output.
- Keep the charging port clean and dry.
- Do not put it in the mouth or lick it, leakage of the charging port can cause discomfort.
- Do not disassemble the product.
- The switch is magnetically sensitive. Its function may be affected nearby the strong magnets.
REMARK
- Fully charge the battery before storing the light for a long period of time.
- The maximum brightness level can only be reached when the battery level is>75%.
- Operating time in Turbo or high mode varies with ambient temperature and heat dissipation conditions, better heat dissipation longer runtime.
EXCLUSION CLAUSE
Olight is not liable for damages or injuries sustained resulting from the usage of the product inconsistent with the warnings in the manual, including but not limited to using the product inconsistent with the recommended lockout mode.
HOW TO OPERATE
WHITE LIGHT MODE
ON/OFF: Press the center button to turn the light on/off. When the light is turned on again, it will return to the previously selected brightness level (when the light is turned off on the Turbo mode, the mode memorized will be high mode) for 1 minute after it is turned off. After that time, it will then revert to medium mode; Strobe mode cannot be memorized.
BRIGHTNESS ADJUSTMENT: When the flashlight is on, press and hold the central button to automatically cycle through moonlight, low, medium, high modes. The mode is selected when the central button is released.
MOONLIGHT MODE: When the flashlight is off, press and hold the center button for over one second to access the moonlight mode. When the flashlight is turned on again, it returns to the moonlight mode due to its memory function.
DIRECT ACCESS TO TURBO MODE: Quickly double click the center button to activate Turbo mode. Double click quickly again to revert to the previous mode. When the light is turned off for on turbo mode, it will revert to high for up to 1 minute and revert to medium after that time.
STROBE: In the unlock state, triple click (or more than three times) the center button quickly to enter the strobe mode. To quit this mode, single click or press and hold the center button.
TIMER: The Arkfeld has a long (9 minutes) and short (3 minutes) timer when the light needs to be automatically turned off. When the flashlight is on, double click and hold the center button under the current brightness level to access the timer settings. A single blink accesses the short timer while two blinks accesses the long timer. The flashlight will automatically turn off when the timer is up. After the timer is set, double click and hold the side switch to shift the timer settings. After the first timer runs out and you enter the timer setting again, the last setting will be used.
LASER MODE
ON/OFF: Rotate the Selector to the right, and single click to turn it on or off.
LOCK/UNLOCK: When the flashlight is off, press and hold the center button (about 2 seconds) until the moonlight or laser turns on and then off, the flashlight is then in lockout mode. While in lockout mode, the red indicator at the bottom will light up for a short time. Press and hold the center button (about 1 second) until the flashlight turns on with the moonlight or laser, and the flashlight will be unlocked.
B. SELECTOR
Rotate the Selector clockwise to select the white light mode; rotate the Selector counterclockwise to select the Laser mode.
WARRANTY
Within 30 days of purchase: Contact the original seller for repair or replacement.
Within 2 years of purchase: Contact Olight for repair or replacement.
USB magnetic charging cable: One year.
This warranty does not cover normal wear and tear, modifications, misuse, disintegrations, negligence, accidents, improper maintenance, or repair by anyone other than an Authorized retailer or Olight itself.
USA Customer Support
[email protected]
Global Customer Support
[email protected]
Visit www.olightworld.com to see our complete product line of portable illumination tools.

Dongguan Olight E-Commerce Technology Co., Ltd
4th Floor, Building 4, Kegu Industrial Park, No 6
Zhongnan Road, Changan Town, Dongguan City,
Guangdong, China.
Made in China


3.4000.0484 A. 09, 23, 2022
THANK YOU!


















