BUTURE VC10 Cordless Vacuum Cleaner

WARNING
Thank you for purchasing the VC10 Cordless Vacuum Cleaner. Before using this appliance, please read the following safety warning first and take safety measures to avoid malfunction caused by improper operation.
- This BUTURE device is not intended to be used by persons (including children) with restricted physical, sensory or mental abilities or lack of experience and knowledge, unless they are supervised by a person responsible for their safety Or received instructions from her on how to use the device.
- ONLY suitable for dry locations. Do not use on wet surfaces. Do not touch any part of the plug or the device with wet hands. Store the device in a dry place indoors.
- Do not use with a damaged charger or cord. If the machine does not work properly when dropped, damaged, left outdoors or dropped into water, do not use BUTURE support team ([email protected]) and do not contact this one.
- Do not use for picking up flammable or combustible liquids such as gasoline, or in areas where they or their vapors may be present.
- Turn off the power switch before plugging or unplugging the adapter.
- Do not pick up burning or smoking objects such as cigarettes, matchsticks or ashes.
- Do not use without a dust cup and filter. Wash your hands after using the vacuum cleaner.
- FIRE WARNING – Do not place this appliance on or near a stove or other hot surface, and do not incinerate even if severely damaged. The battery can catch fire or explode.
- When your vacuum cleaner is fully charged, needs to be cleaned or repaired, please unplug the power plug in time and do not pull the power cord.
- Under extreme conditions, the battery may leak. If liquid gets on your skin, wash it quickly with soap and water. If liquid gets in your eyes, immediately flush eyes with plenty of water for at least 15 minutes. Seek medical treatment.
- This BUTURE device is not intended to be used by persons (including children) with reduced physical, sensory or mental abilities or lack of experience and knowledge, unless they are supervised by a person responsible for their safety Or received instructions from her on how to use the device.
- Do not use to pick up hard objects such as floss, needles, nails, etc.
Do not touch any part of the plug or the device with wet hands. Store the device in a dry place indoors.
Note: The vacuum cleaner has over-temperature protection to prevent overheating. It stops working when the device overheats.
PACKAGE CONTENTS
Please check and confirm the accessories and parts according to the following sheet before using.
Part Name/Quantity
- main body 1
- battery pack 1
- Adjustable extension tube 1
- Motorized brush head 1
- Soft Rolling Brush (Installed) 1
- Carbon fiber roller brush 1
- Long crevice nozzle 1
- 2in1 upholstery brush 1
- Mini cleaning brush 1
- Wall mounting plate 1
- charger 1
- HEPA filter replacement 1
- screws 1
- User Guide 1
KNOW YOUR PRODUCT
Product Details
Digital display screen
Accessory function
- 2in1 upholstery brush
Simple snap-on design.Can Help you get dust and hair off the carpet.
- Long crevice tool
Remove dust from hard-to-reach areas Places such as windows, bed fine, gaps between tables and chairs, etc
- wall mounting plate
Leave the vacuum cleaner conveniently at the against the wall. Easy storage.
- Mini cleaning brush
Remove hair, gauze and micro dust from Brush shaft to keep the brush head clean hold.
- Soft roller brush
Remove dust, dirt and hair from hard ground.
- Carbon fiber roller brush
Remove dirt, dust and hair in carpets tiles
PRODUCT ASSEMBLY DIAGRAM
Install desired cleaning accessories
Depending on your cleaning needs, you can use the cleaning accessories directly or after connecting the Install extension tube.
- Direct installation of the cleaning accessories

- Assemble the extension tube and cleaning accessories
- Long press and hold the button to adjust the telescopic tube, slide it down front Or pull them backwards to select the appropriate length of extension tube.

- Long press and hold the button to adjust the telescopic tube, slide it down front Or pull them backwards to select the appropriate length of extension tube.
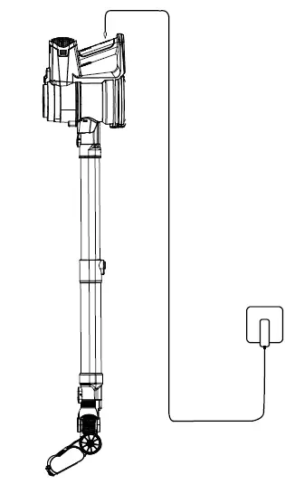
Wall Mounted Dock
Warning
- Make sure there is no gas, water or gas behind the mounting area electrical cables and lines are located.
- To avoid dropping the dock, you must take care that it is permanently installed
USE
Charging
- When using a new battery or replacing it after a long period of storage For the first time use, please fully charge the battery first.
- If you are going to store the vacuum cleaner and not use it for a long period of time, turn it off Please ensure that it is charged and discharged at least every three months becomes.
Billing Methods:
- Connect the main body to the charger

- Hang on the wall bracket to charge

When you charge and use the product, you can check the battery level on the check the following two points.
Digital display screen:
Battery indicator
Operation
Before use, make sure The battery is fully charged and permanently installed. The dust cup and filters are cleaned, dried and fixed.
- Start to work
Press the switch button, it starts sucking in MIN mode. Press again to get him turn off.
- Select cleaning mode
The device has 3 suction modes for different cleaning needs, which are provided by short press the (MIN MAX) by short press the suction power adjustment button on the battery pack or on the digital display
Note: Please keep your hands dry when using use it. Oil and water stains on your finger may affect the function of the screen.
Machine protection and error code display
The motor of the VC10 cordless vacuum cleaner has built-in anti-stall protection, and the battery has built-in over-temperature protection, over-current and over-voltage protection.
Blocking protection
If the brush head, tube or dust cup is blocked, the anti-blockage protection for the engine activated. When the brush head is blocked, the blocked brush indicator lights up. If the tube or dust cup is blocked, the tube blocked indicator lights up dust cup on. At the same time, the engine is temporarily switched off to prevent damage avoid. After cleaning the brush head, tube or dust cup, the will turn off
Blockage indicator and the engine works normally again.
Over-temperature protection
The temperature of the battery increases when the suction power is high. If you use the battery charge, if its temperature is too high, the overheating protection will be activated.On the screen lights up the over-temperature protection indicator, and the battery reduces to intelligent
Moderate charging power to prevent overheating. Wait 20-45 minutes for the battery has returned to its normal temperature. Then the temperature protection indicator goes out and the battery will be charged again with normal power
Overcurrent and overvoltage protection
During charging, if the input voltage or current is too high, the over-current and Overvoltage protection activated. The three indicators on the battery pack flash simultaneously and the Battery is temporarily not charging. After the input voltage and current again are normal, the battery indicator and charging process will intelligently return to normal normal state back.
MAINTENANCE
Please clean it regularly to prolong the life of the vacuum cleaner
Main body cleaning
- Turn off the power before cleaning the case.
- Please use a neutral detergent, wipe the body with a semi-wet cloth off.
- Please avoid exposure to the sun and store in a cool and dry place

Dust cup and HEPA filter cleaning
- Empty the dust cup
- Press the dust discharge button to discharge the dust.
- When the waste in the dust bin exceeds the MAX line, please empty it in time

Clean the dust cups and HEPA filters
- Press the dust cap release button to release the dust bin from the main body to separate.
- Hold the bottom part of the dust bin with one hand and the top part of the dust bin with the other hand, turn it counterclockwise, then separate the upper part of the dust container and the lower part, take the HEPA filter and the Stainless steel filters take turns out, clean or change them.


Install the filter and dust cup
Insert the filter and dust bin in the right direction, bring the buckles in place and twist to secure.
Brush roller cleaning
Note: After prolonged use, the bristles will come through hair or similar debris It is recommended to clean the roller brush regularly to ensure efficient cleaning to ensure operation and to maintain the suction power.
- Press the button on the “Unlock” sign and remove the roller brush.

- Remove the dirt wrapped around the roller with a mini cleaning brush and rinse Then follow up with water

- Gently push the roller brush into the motor brush until it is firmly seated. (Please make sure Make sure the brush roll is completely dry before use).

SPECIFICATION
- Model VC10
- Rated voltage DC22.2V
- Battery type lithium
- Suction mode Min-Mid-Max
- Charging time 4-5H
TROUBLESHOOTING

GUARANTEE
The 2 year guarantee
- Your BUTURE device has a 2-year guarantee against original defects in materials and workmanship, if it is for private household use in accordance with the BUTURE instructions for use is used.
- This warranty covers all labor and parts required at no additional cost to you are required to ensure that your device is in a is in proper operating condition.
WHAT IS COVERED?
- Applies to purchases from BUTURE authorized retailers only.
- This guarantee is only valid if the device is used in the country in which it is sold became.
HOW TO USE?
- Please keep your proof of purchase. To make a claim under our unrestricted
- To make a warranty claim, you must have your original purchase receipt showing the date of purchase and the Present the order number on it.
- If your device is not working properly Or you after carefully reading this Instructions have any questions, please feel free to contact us, we will do our do our best to give you a satisfactory solution
Email our Customer Service: [email protected]
If you have any questions, email to [email protected]




















