AQUAJOE AJ-ISGD Turbo Drive 360° Sprinkler

Know Your Turbo Drive 360º Sprinkler
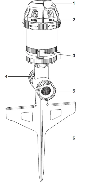
Read the owner’s manual and safety rules carefully before using your turbo drive 360º sprinkler. Compare the illustration below to the actual unit in order to familiarize yourself with the location of the various controls and adjustments. Save this manual for future reference.
- Spray distance adjuster
- Spray pattern adjuster
- Coverage sliding tabs
- Water outlet
- Water inlet (Hose-end connector)
- Step spike

Technical Data
- Coverage Max …………………… 5300 sq ft
- Watering Diameter Max ………. 41 ft (12.5 m)
- Max Pressure* …………………… 120 PSI
- Max Flow ………………………….. 4.5 GPM (17 l/min)
- Spray Patterns …………………… 6
- Adjustable Coverage ………Partial to full 360º circle
- Fitting Size …………………….Standard garden hose
- Net Weight …………………….0.9 lb (0.4 kg)
* Peak pressure at initial discharge; working pressure under typical load is 60 PSI.
Unpacking
Carton Contents
- Turbo drive 360º sprinkler
- Manual and registration card
- Carefully remove the sprinkler and check to see that all of the above items are supplied.
- Inspect the product carefully to make sure no breakage or damage occurred during shipping. If you find damaged or missing parts, DO NOT return the unit to the store. Please call the Snow Joe® + Sun Joe® customer service center at 1-866-SNOWJOE (1-866-766-9563).
NOTE: Do not discard the shipping carton and packaging material until you are ready to use your new sprinkler. The packaging is made of recyclable materials. Properly dispose of these materials in accordance with local regulations.
IMPORTANT! The equipment and packaging material are not toys. Do not let children play with plastic bags, foils, or small parts. These items can be swallowed and pose a suffocation risk!
Distance Control
Slide the spray distance adjuster in or out to adjust the distance of the spray.
Six Selectable Spray Patterns
Use the spray pattern adjuster to select your desired spray pattern: large/full/fan/mini/jet/flat.
Coverage Control
The sliding tabs allow for coverage adjustment from 0º – 360° rotation.
Step Spike
The spike pierces the soil for extra stability without tearing up your yard as you move the sprinkler around to cover different areas. Push the spike straight into the soil.
Connecting to the Garden Hose
Attach your garden hose to the hose-end connector.
Watering Tips
Water only when necessary, preferably in the morning to minimize water loss through evaporation. To promote deep root growth, water deeply but as infrequently as possible. Watch water application to avoid water run-off. NOTE: Since water expands when it freezes, completely drain water from sprinklers and hoses to avoid damage if temperature falls below 32ºF (0ºC).
Maintenance
Drain the sprinkler after use. DO NOT allow water to freeze in the sprinkler.
Service + Support
If your Aqua Joe® AJ-ISGD Turbo Drive 360º Sprinkler requires service or maintenance, please call Snow Joe® + Sun Joe® customer service at 1-866-SNOWJOE (1-866-766-9563) for assistance.
Model + Serial Numbers
When contacting the company or arranging service from an authorized dealer, you will need to provide the model and serial numbers, which can be found on the decal located on the sprinkler. Copy these numbers into the space provided below.
ABOVE ALL ELSE, Snow Joe, LLC (“Snow Joe”) is dedicated to you, our customer. We strive to make your experience as pleasant as possible. Unfortunately, there are times when a Snow Joe®, Sun Joe®, or Aqua Joe® product (“Product”) does not work or breaks under normal operating conditions. We think it’s important that you know what you can expect from us. That’s why we have a Limited Warranty (“Warranty”) for our Products.
OUR WARRANTY
Snow Joe warrants new, genuine, powered and non-powered Products to be free from defects in material or workmanship when used for ordinary household use for a period of two years from the date of purchase by the original, end-user purchaser when purchased from Snow Joe or from one of Snow Joe’s authorized sellers with proof of purchase. Because Snow Joe is unable to control the quality of its Products sold by unauthorized sellers, unless otherwise prohibited by law, this Warranty does not cover Products purchased from unauthorized sellers. If your Product does not work or there’s an issue with a specific part that is covered by the terms of this Warranty, Snow Joe will elect to either (1) send you a free replacement part, (2) replace the Product with a new or comparable product at no charge, or (3) repair the Product. How cool is that!
This Warranty gives you specific legal rights, and you may also have other rights which vary from State to State.
PRODUCT REGISTRATION:
Snow Joe strongly encourages you to register your Product. You can register online at snowjoe.com/register, or by printing and mailing in a registration card available online from our website, or calling our Customer Service Department at 1-866-SNOWJOE (1-866-766-9563), or by e-mailing us at [email protected]. Failure to register your Product will not diminish your warranty rights. However, registering your Product will allow Snow Joe to better serve you with any of your customer service needs.
WHO CAN SEEK LIMITED WARRANTY COVERAGE:
This Warranty is extended by Snow Joe to the original purchaser and original owner of the Product.
WHAT IS NOT COVERED?
This Warranty does not apply if the Product has been used commercially or for non-household or rental applications. This Warranty also does not apply if the Product was purchased from an unauthorized seller. This Warranty also does not cover cosmetic changes that do not affect performance. Wearing parts like belts, augers, chains and tines are not covered under this Warranty, and can be purchased at snowjoe.com or by calling 1-866-SNOWJOE (1-866-766-9563).
sunjoe.com





















