AKICON 96918P1 Kitchen Faucet with Spray Installation Guide
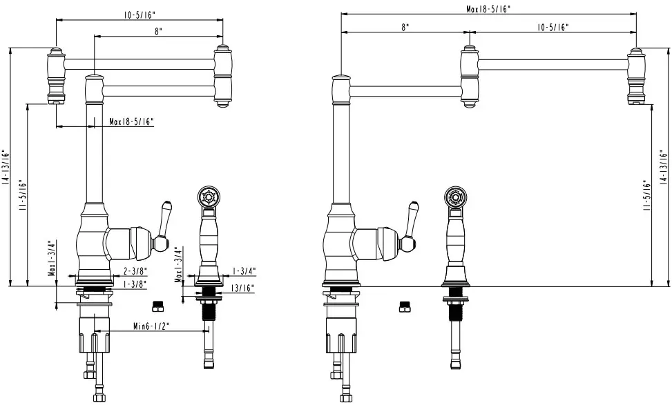
Dimensions

Handle Removal Maintenance
Turn off water and relieve pressure! Detach handle button using a small flathead screwdriver, unscrew set screw using Allen Wrench and take off handle.
Valve Cartridge Removal Maintenance
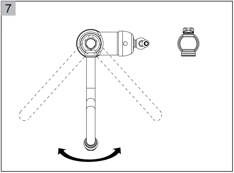
Remove handles. Unscrew Dome Cap counter clockwise by hand. Unscrew Retaining Nut using adjustable wrench, take out cartridge assembly and inspect. Replace parts as necessary. Reassemble parts by reversing steps.
CAUTION: Maintenance
- Replacement parts may be available at the store where you purchased your faucet.
- Always turn off water and relieve pressure before working on your faucet.
NOTES: Cleaning Instructions
- To keep the faucet clean, you should clean the faucet frequently and regularly.
- Clean the faucet with clear water or mild liquid, rinse the faucet with clear water and then dry the faucet with soft cotton cloths.
- Do not use any abrasive cleansers, cloths, or paper towel.
- Do not use any acid or abrasive detergent.
TROUBLE-SHOOTING
If you’ve followed the instruction carefully and your faucet still does not work properly, take these corrective steps.
| Problem | Cause | Action |
| Leaks underneath handle. | Cartridge has come loose. | Tighten the cartridge |
| Aerator leaks or has an inconsistent water flow pattern. | Aerator is dirty or worn out or misfitted. | Unscrew the aerator to clean or replace washer, or replace the aerator. |
| Water will not shut off completely | Dirty or worn out washer in cartridge. | Remove handle and cartridge to check if the washer is damaged permanently or dirty. Re-install cartridge. |
PACKING LIST
After you open this package, please check to ensure that all of the following items are included.
A- Faucet B- Side Spray C- Mounting Nut D-Flexible Hoses(2) E- F- Pull-out hose G- Spray Seat H- Mounting Nut I- Support J- Washer K- Allen wrench L- Pipe plug (Use it when side sprays are not installed.)
IMPORTANT NOTICES: For easy installation, please read all the instruction completely before beginning. Before installing this product, make sure that water line trash is cleared to avoid blockage.
YOU MAY NEED

INSTALLATION PROCEDURES
You should clean all the dirts from valve outlets. Turning off the water supply valves. This is usually found near the water meter. If you are replacing an existing faucet, remove the faucet from the sink and clean the sink surface thoroughly.
Install without deck plate. Make sure the O-ring is placed onto the bottom of base ring. Install faucet through hole in sink. From underside sink, put Plastic Washer and mounting nut. Position faucet on sink properly and
tighten mounting nut.
Install with deck plate. Place a bead of plumber’s putty between faucet and sink. Place deck plate over the three holes of sink. 2A
Make sure the O-ring is placed onto the bottom of base ring. Install faucet through deck plate. From underside sink, put plastic washer and mounting nut. Position faucet on sink properly and tighten mounting nut.
If necessary, tighten screws using a adjustable wrench until the faucet is firmly connected to the sink.
Insert spray seat through far right-hand hole on sink, then tighten mounting nut using adjustable wrench. Insert spray hose down through spray seat, then connect the spray hose to the outlet hose at the bottom of the tap and tighten it.
If you do not want to install the spray, please use the plug “L” to block-off and tighten it.
Connect the hot and cold water supply lines of the faucet to the water supply valves.
Open the valve, then turn the handle according to thesign of C and H on the handle to regulate the temperature of the water. (C=Cold,H=Hot)
Swing Spout
Faucet Start Up
After installation is complete, remove aerator and rotate handle to the closed position. Then turn on the water supply valves, and check all connections for a leak. Turn on your faucet and allow both hot and cold water to run at least one minute each, then Install the Aerator.















