Operation Guide
PB32 Drive Camera Recorder

![]()

Please read this manual carefully before use and keep it properly.
Dash camera x 1 Rear camera x 1
Built-in GPS holder x 1 Extension cord for rear camera
Car charge with power cable x 1 Electrostatic sticker x 1
GPS holder double-sided sticker x 2 Cable storage clip x 5
Car crowbar x 1 Operation guide x 1
Product introduction



- GPS
- Ethernet pull-back interface
- Power interface
- Infrared light
- Indicator light
- Built-in camera
- Screen
- TF card
- Power key
Installation instructions
1. Turn off the car engine.
2. Insert the TF card into the recorder card slot. [Notice] Please use a high-speed TF card (Class10 or above) with a capacity of no less than 64G. If you use an SD card for the first time, please format the SD card on this machine.
3. Install the PB32 dash camera on the front windshield.




4.
(1) Clean the windshield with a dry cloth first.
(2) Remove the electrostatic sticker and attach it to the windshield, making sure there is no air inside.
(3) Peel off the sticker of the double-sided adhesive of the movable holder and paste it onto the dash camera holder.
(4) Peel off the other side of the double-sided adhesive, and stick the dash camera in the wire frame of the electrostatic sticker. (if you want to remove the dash camera, please use a crowbar to remove the electrostatic sticker.)

(1) Electrostatic sticker (2) Cable storage clip
5. Adjust the recorder angle to ensure a good view. (During the installation process, the camera angle 1/3 for the sky view is the best effect, as shown in the picture.)

6. Connect the car charger power cord to the USB power port of the movable holder. and then plug the car charger into the cigarette lighter.
7. Connect the rear camera to the extension cable and insert it into the rear camera interface of the host machine to check whether the rear camera works.
8. Install rear camera.
Position 1: Install the rear camera on the rear windshield. This method is easier to install. The power cord wiring method is as follows:

Notice:
(1) Connect the rear camera with the extension cable. Please refer to the following methods:

(2) Before installing the rear camera, please clean the sticking position to ensure the adhesive quality.
(3) If the rear camera is installed on the rear windshield, please clean the rear windshield regularly to ensure image quality.
9. Hide the extension cord.
Image angle switching






- In the shutdown state, press the power button to start the machine automatically.
- You can switch the following modes: front (4K), back (2K), inside (1080P) three-way (2K+1080P+2K)mode, front and back double recording mode (front 4K+ back 2K), double recording (front 4K+ inside 1080P)on this machine.
- In the power-on state, long press and hold the power button for 3 seconds the machine will automatically save the video files and user settings, and then shut down.)
Precautions for use
- Due to the huge amount of high-definition video data, the memory card may not be able to keep up with the reading and writing speed. Please use a high-speed TF card (above Class10) with a capacity of no less than 64G. A TF card with a small capacity will cycle over the video in a short time. so the video cannot be seen in the memory card. If you use SD for the first time please format the SD card on this machine.
- Please use the car charger delivered with the product. Using an unqualified car charger will cause harm to the product. and even burn the product.
- Check whether the recorder is correctly connected to the car charger. If manually start the machine, check whether the battery is low and needed to be charged.
- When the machine is installed correctly, the system work indicator light is on; The machine starts and enters the recording state, and the recording indicator blinks.
- Please check whether there are dirt or finger marks on the lens before use and keep the lens clean and tidy, so that the picture will be clearer.)
- The picture definition and effect of the shooting are related to the back light forward light, and the intensity of the light. Different environmental factors will cause different video effects.
- If there is a crash. please insert a thimble into the’RESET’ hole to reset it.
Email address: [email protected]
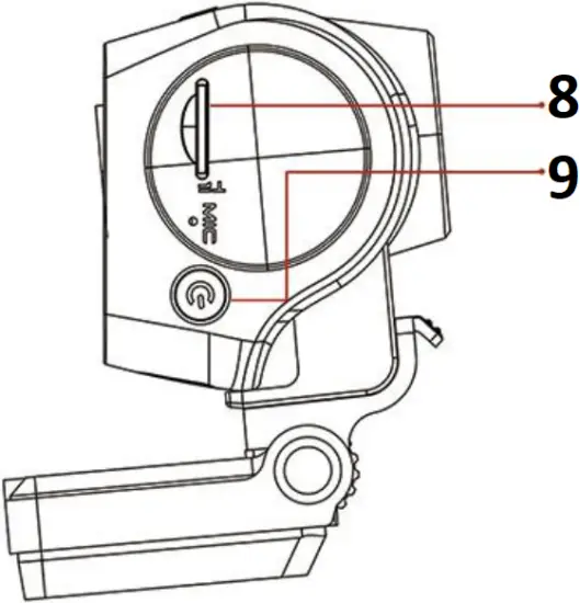
Camera Overview



| NO | Name | Description |
| 1. | Speaker | Used to play sound. |
| 2. | Mount Connector | Used to couple with GPS bracket. |
| 3. | Front Camera | For capturing the road ahead. |
| 4. | Power Button | Press and hold it to power ON/OFF;Press it to turn off the screen. |
| 5. | Microphone | For recording sound. |
| 6. | SD Card Slot | For inserting SD card. |
| 7. | Indicator Light & IR LEDs | Flashing blue light: The cam is recording; Steady blue light: Camera is on; Red light: The cam is being charged. IR lights: For compensating the light when there is insufficient light at night. |
| 8. | Screen | 2″IPS screen presents better images. |
| 9. | Inside Camera | Inside camera for recording in-car situation. |
| 10. | Reset Button | Used to restart the cam when it freezes. |
| 11. | Lock/Unlock/ Menu/Back Button |
|
| 12. | OK/Files/Sound Recording/Delete Button |
|
| 13. | Snapshot/UP/ Parking monitoring switch button |
|
| 14. | Start/ Stop Recording |
|
| 15. | Type-c USB Charging Port | Type-c USB Charging Port. |
Screen Overview
Recording Mode

- Recording
- Recording Time
- GPS: No GPS Signal
- Video Resolution
- Current Date/ Time
- Lock Video
- Sound Recording
- Snapshot
- Pause Recording
No Recording Mode

- Remaining Recording Time of The Card
- GPS:No GPS Signal
- Sound Recording
- Charging
- Resolution
- Date/Time
- Press the Button to Enter Settings
- Files
- Parking Monitoring
- Start Recording

- Camera Setting Mode
- System Setting Mode
- Back
- Enter
- Turn Left
- Turn Right
Using Your Dash Cam
4k 30fps / 2k 30fps / 1080p 60fps (Default:2 k+1080p +2k)
You are able to set the resolution of videos:
Front 4k+Rear2k
Front 4k+Cabin1080p
Loop Recording:
Off/1 Minute/3 Minutes/5 Minutes (Default: 3 Minutes)
While recording, the blue LED indicator and a red dot on the top left of the screen will flash.
The camera will overwrite the oldest file to save the current file automatically when the card reaches its capacity. Note: When loop recording is turned off, the dash cam will not overwrite the oldest file and cannot loop recording. It is not recommended to turn off loop recording.

Display Option: Front Camera/Cabin Camera/Rear Camera (Default: Front/Cabin/Rear )
- Front Camera – The image captured by the front cam will be displayed in full screen.
- Cabin Camera – The image captured by the Cabin cam will be displayed in the full screen
- Front Camera/Cabin Camera/Rear Camera – The image captured by the front cam will be displayed in the upper left corner;The image captured by the Cabin cam will be displayed in the upper left corner;The image captured by the Rear Camera will be displayed simultaneously in the bottom of the screen.
WDR: On/Off (Default: off)
Suitable for situations like low light or backlight, WDR is able to restore the true colors of objects to the greatest extent.
G-Sensor: Off/Low/Medium/High (Default: off)
- Once the G-sensor detects collision and vibration, it will lock the current video clips to the “G-sensor File” folder automatically. The locked files won’t be overwritten by loop recording. So the important events will be saved and can be used as evidence.
- There are 3 levels of sensitivity: High, Medium, Low. We suggest you should choose medium or low because high sensitivity will lead to many unnecessary video clips being saved as emergency file, thus affecting the normal recording.
GPS Information

- Current Speed(The speed value can only be detected if the GPS signal is successfully received)
- Longitude
- Latitude
- Satellite Signal Value
- Satellite Number
- When the GPS signal is strong, the GPS icon appears in green. When there is no signal, it is red.
- The reception of GPS signals is affected by weather, buildings and other factors. On cloudy days, rainy days, in locations blocked by buildings, signal reception is slow or difficult to receive (for example, in an underground parking lot) In an open area, the GPS module can successfully receive GPS signals within 1-3 minutes.
- GPS can record driving speed, latitude, longitude (coordinate) and driving route among which the speed, latitude and longitude (coordinate) are directly printed on the video as watermarking
Volume Setting:
- Beep Sound: On/Off. (Default: On) Turn on/off the”beep”when you operate the camera.
- System Volume: 100%175%/50%/off (Default: 100%) System Volume includes the sound of video playback and camera boot.
Note: When you turn it off, this does not affect the sound recorded by the camera itself.
Default Settings:
If you press OK bottom, you will restore all settings to the factory state.
Format:
If you press OK bottom, all the data will be deleted.
Version:
You can view the software information.
FCC Statement
This device complies with part 15 of the FCC rules. Operation is subject to the following two conditions: (1) this device may not cause harmful interference, and (2) this device must accept any interference received, including interference that may cause undesired operation.
Changes or modifications not expressly approved by the party responsible for compliance could void the user’s authority to operate the equipment. NOTE: This equipment has been tested and found to comply with the limits for a Class B digital device, pursuant to part 15 of the FCC Rules. These limits are designed to provide reasonable protection against harmful interference in a residential installation. This equipment generates uses and can radiate radio frequency energy and, if not installed and used in accordance with the instructions, may cause harmful interference to radio communications. However, there is no guarantee that interference will not occur in a particular installation. If this equipment does cause harmful interference to radio or television reception, which can be determined by turning the equipment off and on, the user is encouraged to try to correct the interference by one or more of the following measures:
- Reorient or relocate the receiving antenna.
- Increase the separation between the equipment and receiver.
- Connect the equipment into an outlet on a circuit different from that to which the receiver is connected.
- Consult the dealer or an experienced radio/TV technician for help.
Radiation Exposure Statement
To comply with FCC RF exposure compliance requirements, this grant is applicable to only mobile configurations. The antennas used for this transmitter must be installed to provide a separation distance of at least 20 cm from all persons and must not be co-located or operating in conjunction with any other antenna or transmitter.





















