51831 Flex-Force Power System 13 Inch or 15 Inch 60V MAX String Trimmer
User Manual

For assistance, please see www.Toro.com/support for instructional videos or contact 1-888-384-9939 before returning this product.
WARNING
CALIFORNIA Proposition 65 Warning The power cord on this product contains lead, a chemical known to the State of California to cause birth defects or other reproductive harm. Wash hands after handling. Use of this product may cause exposure to chemicals known to the State of California to cause cancer, birth defects, or other reproductive harm.
Introduction
This trimmer is intended to be used by residential homeowners to trim grass as needed outdoors. It is designed to use lithium-ion battery pack Models 88620 (provided with Model 51831), 88625, Model 88640, Model 88650, Model 88660, or Model 88675. These battery packs are designed to be charged only by battery charger Model 88602, Model 88605, or Model 88610 (provided with Model 51831). Using this product for purposes other than its intended use could prove dangerous to you and bystanders.
Model 51831T does not include a battery or a charger. Read this information carefully to learn how to operate and maintain your product properly and to avoid injury and product damage. You are responsible for operating the product properly and safely.
Visit www.Toro.com for product safety and operation training materials, accessory information, help to find a dealer, or to register your product.
Whenever you need service, genuine the manufacturer parts, or additional information, contact an Authorized Service Dealer or the manufacturer Customer Service and have the model and serial numbers of your product ready. Figure 1 identifies the location of the model and serial numbers on the product. Write the numbers in the space provided. Important: With your mobile device, you can scan the QR code on the serial number decal (if equipped) to access warranty, parts, and other product information.

- Model and serial number location
![]()
This manual identifies potential hazards and has safety messages identified by the safety-alert symbol (Figure 2), which signals a hazard that may cause serious injury or death if you do not follow the recommended precautions.

This manual uses 2 words to highlight information. Important calls attention to special mechanical information and Note emphasizes general information worthy of special attention.
Safety
WARNING—When using electric gardening appliances always read and follow basic safety warnings and instructions to reduce the risk of tire, electric shock, and personal injury, including the following:
IMPORTANT SAFETY INSTRUCTIONS
I. Training
- The operator of the appliance is responsible for any accidents or hazards occurring to others or their property.
- Do not allow children to use or play with the appliance, battery pack, or battery charger; local regulations may restrict the age of the operator.
- Do not allow children or untrained people to operate or service this device. Allow only people who are responsible, trained, familiar with the instructions, and physically capable to operate or service the device.
- Before using the appliance, battery pack, and battery charger, read all the instructions and cautionary markings on these products.
- Become familiar with the controls and proper use of the appliance, battery pack, and battery charger.
II. Preparation
- Keep bystanders and children away from the operating area.
- Use only the battery pack specified by Toro. Using other accessories and attachments may increase the risk of injury and fire.
- Plugging the battery charger into an outlet that is not 120 V can cause a fire or electric shock. Do not plug the battery charger into an outlet other than 120 V. For a different style of connection, use an attachment plug adapter of the proper configuration for the power outlet if needed.
- Do not use a damaged or modified battery pack or battery charger, which may exhibit unpredictable behavior that results in fire, explosion, or risk of injury.
- If the supply cord to the battery charger is damaged, contact an Authorized Service Dealer to replace it.
- Do not use non-rechargeable batteries.
- Charge the battery pack with only the battery charger specified by Toro. A charger suitable for 1 type of battery pack may create a risk of fire when used with another battery pack.
- Charge the battery pack in a well-ventilated area only.
- Do not expose a battery pack or battery charger to fire or to temperatures higher than 68°C (154°F).
- Follow all charging instructions and do not charge the battery pack outside of the temperature range specified in the instructions. Otherwise, you may damage the battery pack and increase the risk of fire.
- Do not operate the appliance without all guards and other safety protective devices in place and functioning properly on the appliance.
- Dress properly—Wear appropriate clothing, including eye protection; long pants; substantial, slip-resistant footwear; rubber gloves; and hearing protection. Tie back long hair and do not wear loose clothing or loose jewelry that can get caught in moving parts. Wear a dust mask in dusty operating conditions.
III. Operation
- Avoid dangerous environments—Do not use the appliance in rain or in damp or wet locations.
- Use the proper appliance for your application—Using the appliance for purposes other its intended use could prove dangerous to you and bystanders.
- Prevent unintentional starting—Ensure that the switch is in the OFF position before connecting to the battery pack and handling the appliance. Do not carry the appliance with your finger on the switch or energize the appliance with the switch in the ON position.
- Operate the appliance only in daylight or with good artificial light.
- Remove the battery pack from the appliance before adjusting it or changing accessories.
- Keep your hands and feet away from the cutting area and all moving parts.
- Stop the appliance, remove the battery pack from the appliance, and wait for all movement to stop before adjusting, servicing, cleaning, or storing the appliance.
- Remove the battery pack from the appliance whenever you leave it unattended.
- Do not force the appliance—Allow the appliance to do the job better and safer at the rate for which it was designed.
- Do not overreach—Keep proper footing and balance at all times, especially on slopes. Walk, never run with the appliance.
- Stay alert—Watch what you are doing and use common sense when operating the appliance. Do not use the appliance while ill, tired, or under the influence of alcohol or drugs.
- Ensure that the ventilation openings are kept clear of debris.
- Under abusive conditions, the battery pack may eject liquid; avoid contact. If you accidentally come into contact with the liquid, flush with water. If the liquid contacts your eyes seek medical help. Liquid ejected from the battery pack may cause irritation or burns.
- CAUTION—A mistreated battery pack may present a risk of fire or chemical burn. Do not disassemble the battery pack. Do not heat the battery pack above 68°C (154°F) or incinerate it. Replace the battery pack with a genuine Toro battery pack only; using another type of battery pack may cause a fire or explosion. Keep battery packs out of the reach of children and in the original packaging until you are ready to use them.
IV. Maintenance and Storage
- Maintain the appliance with care—Keep it clean and in good repair for best performance and to reduce the risk of injury. Follow the instructions for lubricating and changing accessories. Keep handles dry, clean, and free from oil and grease.
- When the battery pack is not in use keep it away from metal objects such as paper clips, coins, keys, nails, and screws that can make a connection from 1 terminal to another. Shorting the battery terminals may cause bums or a fire.
- Keep your hands and feet away from moving parts.
- Stop the appliance, remove the battery pack from the appliance, and wait for all movement to stop before adjusting, servicing, cleaning, or storing the appliance.
- Check the appliance for damaged parts—If there are damaged guards or other parts, determine whether it will operate properly. Check for misaligned and binding moving parts, broken parts, mounting, and any other condition that may affect its operation Unless indicated in the instructions have an Authorized Service Dealer repair or replace a damaged guard or part.
- Do not replace the existing non-metallic cutting means on the appliance with metallic cutting means.
- Do not attempt to service or repair the appliance, battery pack, or battery charger except as indicated in the instructions. Have an Authorized Service Dealer perform service using identical replacement parts to ensure that the product is safely maintained.
- Store an idle appliance indoors in a place that is dry, secure, and out of the reach of children.
- Do not dispose of the battery in a fire. The cell may explode. Check with local codes for possible special disposal instructions.
SAVE THESE INSTRUCTIONS
Safety and Instructional Decals
Safety decals and instructions are easily visible to the operator and are located near any area of potential danger. Replace any decal that is damaged or missing.


- The battery pack is
- The battery pack is fully
- The battery pack is overcharging. or under the appropriate temperature range.
- Battery pack charging fault charged.





- Warning—read the Operator’s Manual; stay away from moving parts; keep all guards in place: wear eye protection: do not operate in wet conditions.

- Read the Operator’s Manual.
- Call2Recycle® battery recycling program
- Keep away from open fire or flames.
- Do not expose to rain.

1. Battery charge status
Setup
Loose Parts
Use the chart below to verify that all parts have been shipped.
| Procedure | Description | Qty. | Use |
| 1 | Allen wrench | 1 | Unfold the handle. |
| 2 | Auxiliary handle assembly Screwdriver (not included) | 1 | Install the auxiliary handle. |
| 3 | Guard Screwdriver (not included) | 1 | Install the guard. |
Important: The battery pack is not fully charged when you purchase it. Before using the tool for the first time, refer to Charging the Battery Pack (page 13).
Unfolding the Handle
Parts needed for this procedure:
| 1 | Allen wrench |
Procedure
- Unfold the handle (A of Figure 3).
- Align the locking button on the lower shaft with the slotted hole on the upper shaft and slide the 2 shafts together (B and C of Figure 3)
Note: The locking button clicks into the slotted hole when the shafts are secured (D of Figure 3). - Using the provided Allen wrench, tighten the screw on the shaft connector until it is secure (E of Figure 3).
Installing the Auxiliary Handle
Parts needed for this procedure:
| 1 | Auxiliary handle assembly |
| – | Screwdriver (not included) |
Procedure
- Using a Phillips head screwdriver, separate the auxiliary handle from the handle plate by removing the 2 screws (A of Figure 4).
- Line up the auxiliary handle with an auxiliary handle plate on the trimmer handle (B of Figure 4).
- Secure the auxiliary handle to the handle plate with the 2 previously removed screws (C of Figure 4).
Installing the Guard
Parts needed for this procedure:
| 1 | Guard |
| – | Screwdriver (not included) |
Procedure
- Using a Phillips head screwdriver, remove the 2 screws, 2 washers, and 2 spacers from the trimmer base (A of Figure 5).
- Align the guard onto the trimmer base (B of Figure 5).
- Secure the guard onto the base of the trimmer with the 2 screws, 2 washers, and 2 spacers previously removed (C of Figure 4).
Product Overview
- Battery latch
- Lockout trigger
- Auxiliary handle
- Run trigger
- Guard
- String
- Battery charger Model 88610 (included with Model 51831)
- Battery pack Model 88620 (included with Model 51831)
Specifications
| Model | 51831/T |
| Rated Voltage | 60V DC maximum. 54 VDC nominal usage |
| Charger Type | 88602. 88605. or 88610 (included with 51831) |
| Battery Type | 88620 (included with 51831). 88625. 88640, 88650. 88660. or 88675 |
Appropriate Temperature Ranges
| Charge/store the battery pack at | 5°C (41°F) to 40°C (104°F) |
| Use the battery pack at | -30°C (-22°F) to 49°C (120°F) |
| Use the trimmer at | 0°C (32°F) to 49°C (120°F) |
| Store the trimmer at | 0°C (32°F) to 49°C (120°F)’ |
Charge/store the battery pack at 5°C (41°F) to 40°C (104°F) Use the battery pack at -30°C (-22°F) to 49°C (120°F) Use the trimmer at 0°C (32°F) to 49°C (120°F) Store the trimmer at 0°C (32°F) to 49°C (120°F)’
Charging time will increase if you do not charge the battery within this range.
Store the tool, battery pack, and battery charger in an enclosed clean, dry area.
Operation
Starting the Trimmer
- Make sure that the vents on the trimmer are clear of any dust and debris.
1. Trimmer venting areas - Align the cavity in the battery pack with the tongue on the handle housing (Figure 9).
- Push the battery pack into the handle until the battery locks into the latch (Figure 9).
1. Battery latch - To start the trimmer, squeeze the lockout trigger, then squeeze the run trigger (Figure 10).
1. Lockout trigger
2. Run trigger
Shutting Off the Trimmer
To shut off the trimmer, release both triggers. Whenever you are not using the trimmer or are transporting the trimmer to or from the work area, remove the battery pack.
Removing the Battery Pack from the Trimmer
Press the battery latch on the machine to release the battery pack and slide the battery pack out of the machine (Figure 11).
- Battery latch
Charging the Battery Pack
Important: The battery pack is not fully charged when you purchase it. Before using the tool for the first time, place the battery pack in the charger and charge it until the LED display indicates the battery pack is fully charged. Read all safety precautions.
Important: Charge the battery pack only in temperatures that are within the appropriate range; refer to Specifications (page 11).
Note: At any time, press the battery-charge-indicator button on the battery pack to display the current charge (LED indicators).
- Ensure that the vents on the battery and charger are dear to any dust and debris.
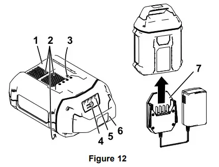
1. Battery pack cavity 5.
2. Battery pack venting areas 6.
3. Battery pack terminals 7.
4. Battery-charge-indicator button
LED indicators (current charge) Handle Charger - Line up the charger with the cavity on the back of the battery pack (Figure 12).
- Slide the charger into the battery pack until it is fully seated (Figure 12).
- To remove the charger, slide the charger backward out of the battery.
- Refer to the following table to interpret the LED indicator light on the battery charger.
Indicator light Indicates ON No battery pack inserted Green blinking The battery pack is charging Green The battery pack is charged Red The battery pack and/or battery charger are over or under the appropriate temperature range Red blinking Battery pack charging fault’
Refer to Troubleshooting (page 18) for more information.
Important: The battery can be left on the charger for short periods between uses.
If the battery will not be used for longer periods, remove the battery from the charger; refer to Storage (page 17).
Advancing the Line Using the Bump Feed
- Run the tool at full throttle.
- Tap the bump button on the ground to advance the line. The line advances each time the bump button is tapped. Do not hold the bump button on the ground.
Note: The line trimming cut-off blade on the grass deflector cuts the line to the correct length.
Note: If the line is worn too short, you may not be able to advance the line by tapping it on the ground. If so, release both triggers and refer to Advancing the Line Manually (page 14).
1. Bump button
Advancing the Line Manually
Remove the battery pack from the trimmer, then push the bump button at the base of the spool retainer while pulling on the trimmer line to manually advance the line.
Adjusting the Cutting Swath
The trimmer comes from the factory with a cutting swath of 33.0 cm (13 inches) as shown in A of Figure 14. Refer to the following instructions to adjust the swath to 38.1 cm (15 inches) as shown in D of Figure 14.
- Remove the swath blade from the bottom of the guard by removing the 2 screws holding it in place using the provided Allen wrench (B of Figure 14) and rotate the swath blade 180°.
- Once the swath blade is rotated, install it onto the guard using the 2 screws previously removed (C of Figure 14).

Operating Tips
- Keep the trimmer tilted toward the area being cut; this is the best culling area.
- The string trimmer cuts when you move it from left to right. This prevents the trimmer from throwing debris at you.
- Use the tip of the string to do the cutting; do not force the string head into uncut grass.
- Wire and picket fences can cause the string to wear rapidly and even break. Stone and brick walls, curbs, and wood can also cause the string to wear rapidly.
- Avoid trees and shrubs. The string can easily damage tree bark, wood moldings, siding, and fence posts.
1. Direction of rotation
2. String path
Maintenance
After each use of the trimmer, complete the following:
- Remove the battery from the trimmer.
- Wipe the trimmer clean with a damp cloth. Do not hose the trimmer down or submerge it in water.
CAUTION
The line cutoff blade on the deflector is sharp and can cut you.
Do not use your hands to clean the deflector shield and blade. - Wipe or scrape clean the cutting head area any time there is an accumulation of debris.
- Check and tighten all fasteners. If any part is damaged or lost, repair or replace it.
- Brush debris away from air intake vents and exhaust on the motor housing to prevent the motor from overheating.
Replacing the String
Important: Use only 2 mm (0.080 inches) monofilament replacement string (the manufacturer Part No. 88201), or purchase pre-wound spool Part No. 88615 or pre-wound spool 3-pack Part No. 88616.
- Remove the battery pack and clean any debris from the trimmer head.
- Press the tabs simultaneously on the side of the trimmer head and remove the cover and spool (Figure 16).
1. Cover and spool
2. Cover tabs - Remove the spool from the cover and remove any remaining string from the spool.
- Cut 1 piece of 2 mm (0.080 inches) string to approximately 3 m (10 ft). Important: Do not use any other gauge or type of string, as this could damage the trimmer.
- Bend the new string at the midpoint and insert the bend into the starter slot in the center rim of the spool (Figure 17).
Note: Ensure that the line snaps into position in the slot. - Wrap the 2 halves of the string evenly and firmly around the spool as shown in Figure 17.
Note: Ensure that the string is wrapped clockwise around the spool when looking at the bottom of the spool.
1. Guide slot for string end
2. Center rim spool starter slot
3. New string (once fully wound) - Wind the string, leaving just enough extending from the spool to contact the swath blade, and snap the ends into the guide slots on the spool (Figure 17).
- Install the spool into the cover and route the ends of the string through the holes in the cover as shown in Figure 18.
1. String exit holes - Install the spool and cover assembly to the trimmer head push until the cover tabs snap into place
Storage
Important: Store the tool, battery pack, and charger only in temperatures that are within the appropriate range; refer to Specifications (page 11).
Important: If you are storing the battery pack for the off-season, charge it until 2 or 3 LED indicators turn green on the battery. Do not store a fully charged or fully depleted battery. When you are ready to use the machine again, charge the battery pack until the left indicator light turns green on the charger or all 4 LED indicators turn green on the battery.
- Disconnect the product from the power supply (i.e., remove the plug from the power supply or the battery pack) and check for damage after use.
- Do not store the machine with the battery pack installed.
- Clean all foreign material from the product.
- When not in use, store the tool, battery pack, and battery charger out of the reach of children.
- Keep the tool, battery pack, and battery charger away from corrosive agents, such as garden chemicals and de-icing salts.
- To reduce the risk of serious personal injury, do not store the battery pack outside or in vehicles.
- Store the tool, battery pack, and battery charger in an enclosed clean, dry area.
Preparing the Battery Pack for Recycling
Important: Upon removal, cover the terminals of the battery pack with heavy-duty adhesive tape. Do not attempt to destroy or disassemble the battery pack or remove any of its components.
![]() | Lithium-ion battery packs labeled with the Ca112Recycle seal can be recycled at any participating retailer or battery recycling facility in the Call2Recycle program (US and Canada only). To locate a participating retailer or facility closest to you. please call 1-800.822-8837 or visit www.call2recycle.org. If you cannot locate a participating retailer or facility nearby. or if your rechargeable battery is not labeled with the Ca112Recycle seal. please contact your local municipality for more information on how to responsibly recycle the battery. If you are located outside of the US and Canada, please contact your authorized Toro distributor. |
Troubleshooting
Perform only the steps described in these instructions. All further inspection, maintenance, and repair work Must be performed by an authorized service center or a similarly qualified specialist if you cannot solve the problem yourself.
| Problem | Possible Cause | Corrective Action |
| The tool does not start. | 1. The battery is not fully installed in the tool. 2. The battery pack is not charged. 3. The battery pack is damaged. 4. There is another electrical problem with the tool. | 1. Remove and then replace the battery in the tool, making sure that it is fully installed and latched. 2. Remove the battery pack from the tool and charge it. 3. Replace the battery pack. 4. Contact an Authorized Service Dealer. |
| The tool does not reach full power. | 1. The battery pack charge capacity is too low. 2. The air vents are blocked. | 1. Remove the battery pack from the tool and fully charge the battery pack. 2. Clean the air vents. |
| The tool is producing excessive vibration or noise. | 1. There is debris on the drum area on the trimmer. 2. The spool is not properly wound. | 1. Clean any debris off of the drum area. 2. Advance the line using the trigger switch and/or remove the line on the spool and wind the spool again. |
| The battery pack loses charge quickly. | 1. The battery pack is over or under the appropriate temperature range. | 1. Move the battery pack to a place where it is dry and the temperature is between 5°C (41°F) and 40°C (104°F). |
| The battery charger is not working. | 1. The battery charger is over or under the appropriate temperature range. 2. The outlet that the battery charger is plugged into does not have power. | 1. Unplug the battery charger and move it to a place where it is dry and the temperature is between 5°C (41 °F) and 40°C (104°F). 2. Contact your licensed electrician to repair the outlet. |
| The LED indicator light on the battery charger is red. | 1. The battery charger and/or battery pack is over or under the appropriate temperature range. | 1. Unplug the battery charger and move the battery charger and battery pack to a place where it is dry and the temperature is between 5°C (41°F) and 40°C (104°F). |
| The LED indicator light on the battery charger is blinking red. | 1. There is an error in the communication between the battery pack and the charger. 2. The battery pack is weak. | 1. Remove the battery pack from the battery charger, unplug the battery charger from the outlet, and wait 10 seconds. Plug the battery charger into the outlet again and place the battery pack on the battery charger. If the LED indicator light on the battery charger is still blinking red, repeat this procedure again. If the LED indicator light on the battery charger is still blinking red after 2 attempts, properly dispose of the battery pack at a battery recycling facility. 2. Properly dispose of the battery pack at a battery recycling facility. |
| The tool does not run or run continuously. | 1. There is moisture on the leads of the battery pack. 2. The battery is not fully installed into the tool. | 1. Allow the battery pack to dry or wipe it dry. 2. Remove and then replace the battery in the tool making sure that it is fully installed and latched. |
California Proposition 65 Warning Information
What is this warning?
You may see a product for sale that has a warning label like the following:
WARNING: Cancer and Reproductive Harm—www.p65Warnings.ca.gov.
What is Prop 65?
Prop 65 applies to any company operating in California. selling products in California. or manufacturing products that may be sold in or brought into California. It mandates that the Governor of California maintain and publish a list of chemicals known to cause cancer. birth defects, and/or other reproductive harm. The list, which is updated annually, includes hundreds of chemicals found in many everyday items. The purpose of Prop 65 is to inform the public about exposure to these chemicals.
Prop 65 does not ban the sale of products containing these chemicals but instead requires warnings on any product. product packaging, or literature with the product. Moreover. a Prop 65 warning does not mean that a product is in violation of any product-safety standards or requirements. In fact. the California government has clarified that a Prop 65 warning Is not the same as a regulatory decision that a product is ‘safe’ or ‘unsafe.- Many of these chemicals have been used in everyday products for years without documented harm. For more information, go to https://oag.ca.gov/prop65/faqs-view-all.
A Prop 65 warning means that a company has either (1) evaluated the exposure and has concluded that it exceeds the ‘no significant risk lever: or (2) has chosen to provide a warning based on its understanding of the presence of a listed chemical without attempting to evaluate the exposure.
Does this law apply everywhere?
Prop 65 warnings are required under California law only. These warnings are seen throughout California in a wide range of settings. including but not limited to restaurants, grocery stores, hotels, schools, and hospitals. and on a wide variety of products. Additionally, some online and mail order retailers provide Prop 65 warnings on their websites or in catalogs.
How do the California warnings compare to federal limits?
Prop 65 standards are often more stringent than federal and international standards. There are various substances that require a Prop 65 warning at levels that are far lower than federal action limits. For example, the Prop 65 standard for warnings for lead is 0.5 pg/day, which is well below the federal and international standards.
Why don’t all similar products carry the warning?
- Products sold in California require Prop 65 labeling while similar products sold elsewhere do not.
- A company involved in a Prop 65 lawsuit reaching a settlement may be required to use Prop 65 warnings for its products, but other companies making similar products may have no such requirement.
- The enforcement of Prop 65 is inconsistent.
- Companies may elect not to provide warnings because they conclude that they are not required to do so under Prop 65: a lack of warnings for a product does not mean that the product is free of listed chemicals at similar levels.
Why does the manufacturer include this warning?
the manufacturer has chosen to provide consumers with as much information as possible so that they can make informed decisions about the products they buy and use. the manufacturer provides warnings in certain cases based on its knowledge of the presence of one or more listed chemicals without evaluating the level of exposure, as not all the listed chemicals provide exposure limit requirements. While the exposure from the manufacturer products may be negligible or well within the no significant risk range. out of an abundance of caution, the manufacturer has elected to provide the Prop 65 warnings. Moreover, if the manufacturer does not provide these warnings, it could be sued by the State of California or by private parties seeking to enforce Prop 65 and subject to substantial penalties.





1. Trimmer venting areas
1. Battery latch
1. Lockout trigger
1. Battery pack cavity 5.
1. Bump button
1. Direction of rotation
1. Cover and spool
1. Guide slot for string end
1. String exit holes



















