SOLIGHT WO778 LED Outdoor Light with Adjustable CCT

instruction manual for LED luminaire
Dear customer, thank you for purchasing our product. For its safe and full functioning, please read these instructions carefully and adhere to them to avoid product misuse or damage. Please prevent unauthorized use of this appliance and always observe all rules for using electric appliances. Keep these instructions for future reference. The installation must be performed by qualified personnel only. The light source of this luminaire is not replaceable; when the light source reaches its end of life the whole luminaire shall be replaced.
Instalace
- Turn off the power source
- Create holes in the back plate according to the arrows shown on the figure 2
- Use the back plate as a template and mark three holes

- Drill the holes and insert plastic anchors
- Push the input cable through the central hole and attach the plate to the wall

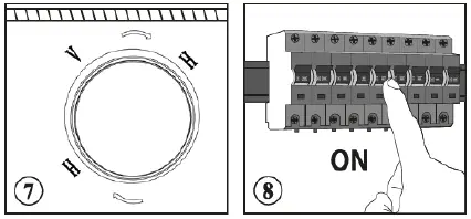
- Connect the power input cable to the terminal block and select the desired chromaticity

- Close the luminaire (for design reasons, the cover can only be closed if the cover is bolted to the wall or ceiling)
- Turn on the power source





















