EMERSON AVENTICS PE5 IIoT-Enabled Pressure and Flow Sensors for Pneumatic Systems

Abbreviations and Figures
| Designation | |
| DR/ DS | Delay for the resetting point/switching point |
| FH/ FL | Upper/lower window limit |
| MBA/MBE | Start/end of measuring range |
| OL | Upper measuring range limit exceeded |
| RP/ SP | Resetting point/switching point |
| UL | Level below lower measuring range limit |
| LT | Leak tester |
| p1/LTP1 | Upper pressure value/threshold value Leakage measurement |
| p2/LTP2 | Lower pressure value/threshold value for leakage measurement |
| tout/TOUT | Timeout/time period for leakage measurement |
| dP | Determined pressure difference of the leakage measurement |
| PVOL | Volume of the pressure system/lines to be measured |
| TimA | Timer A (time from start of measurement to reaching p1) |
| DONE | Leakage measurement completed |
| p0/psupply | System pressure/supply pressure |
| dT | Time/duration of leakage measurement |
| QL | Leak rate |
| AMODE | Analog output mode (dP or dT) |
| MEAS | Leakage measurement in progress |
| Wait User | Sensor ready for start of leakage measurement (waiting for user command) |
- Fig. 1: Device overview

- Fig. 2: Display areas

- Fig. 3: Hysteresis function in case of overpressure

- Fig. 4: Hysteresis function in case of underpressure

- Fig. 5: Window function

- Fig. 6: Delays

- Fig. 7: Assembling the pressure sensor on a DIN rail

- Fig. 8: DIN rail with mounted pressure sensor

- Fig. 9: Fix the R412010405 mounting kit with two screws

- Fig. 10: Center the pressure sensor on the mounting kit and hook it in place

- Fig. 11: Mounting kit with mounted pressure sensor

- Fig. 12: Opening in the control panel

- Fig. 13: Insert the front frame in the cut-out

- Fig. 14: Push the pressure sensor onto the front frame

- Fig. 15: Attach the mounting kit at the lower mounting clip of the pressure sensor and let it catch

- Fig. 16: Fix in place and secure with mounting screws

- Fig. 17: Double nipples for pressure sensor (1 = O-ring, 2 = PTFE sealing ring)

- Fig. 18: Permissible period T (gray area) as a function of the pressure fluctuation

- Fig. 19: Connecting the push-in fitting

- Fig. 21: Behavior of the analog voltage outputs if levels exceed or fall below the measuring range

- Fig. 22: Behavior of the analog current outputs if levels exceed or fall below the measuring range

- Fig. 23: Leakage characteristic

Pin Assignment
Pin Assignment P 1 UB
- 24 V power supply (+)
- Digital switch output 2 (PNP/NPN/push-pull, switchable)
- 0 V power supply (-)
- Digital switch output 1 (PNP/NPN/push-pull, switchable)
Pin Assignment P 1 UB
- 24 V power supply (+)
- Analog output (4 to 20 mA/0 to 10 V)
- 0 V power supply (-)
- Digital switch output 1 (PNP/NPN/push-pull, switchable)
Pin Assignment P 1 UB
- 24 V power supply (+)
- Digital switch output 2 (PNP/NPN/push-pull, switchable)
- 0 V power supply (-)
- IO-Link/digital switch output 1 (PNP)
| Pin | Assignment | P | 1 UB 2 OUT2 3 0V 4 OUT1 / IN | |
| 1 | 24 V power supply (+) | |||
| 2 | Digital switch output 2 (PNP/NPN/push-pull, switchable) | |||
| 3 | 0 V power supply (-) | |||
| 4 | Digital switch output 1 (PNP/NPN/push-pull) in leakage mode: digital switch input PNP | |||
| 5 | Analog output (4 to 20 mA/0 to 10 V) |
About This Documentation
This documentation is valid for PE5 series pressure sensors.
This documentation is intended for installers, operators, and service technicians. Only commission the product once you have obtained the system documenta-tion and understood and complied with its contents.
Notes on Safety
The product has been manufactured according to the accepted rules of current technology. Even so, there is danger of injury and damage to equipment if the following chapter and safety instructions of this documentation are not followed.
- Read these instructions completely before working with the product.
- Keep this documentation in a location where it is accessible to all users at all times.
- Always include the documentation when you pass the product on to third par-ties.
Intended use
The pressure sensor is a pneumatic device for the monitoring of pressure values. It is intended for application in a machine or system. It may be operated only in the installed state.
- Use within the limits listed in the technical data. The product is intended for professional use only.
Improper use includes installing the pressure sensor in hydraulic systems or ap-plying aggressive or flammable gases, or liquids, to it.
No liability is assumed for any damages resulting from improper use. The user alone bears the risks of improper use of the product.
Personnel qualifications
The work described in this documentation requires basic mechanical and pneumatic knowledge, as well as knowledge of the appropriate technical terms. In or-der to ensure safe use, these activities may therefore only be carried out by qualified technical personnel or an instructed person under the direction and supervision of qualified personnel.
Qualified personnel are those who can recognize possible hazards and institute the appropriate safety measures, due to their professional training, knowledge, and experience, as well as their understanding of the relevant regulations pertaining to the work to be done. Qualified personnel must observe the rules relevant to the subject area.
General safety instructions
- Observe the regulations for accident prevention and environmental protection.
- Observe the safety instructions and regulations of the country in which the product is used or operated.
- Only use AVENTICS products that are in perfect working order.
- Follow all the instructions on the product.
- Use only accessories and spare parts approved by the manufacturer.
- Comply with the technical data and ambient conditions listed in the product documentation.
- Never modify the product on your own authority.
- You may only commission the product if you have determined that the end product (such as a machine or system) in which the AVENTICS products are in-stalled meets the country-specific provisions, safety regulations, and standards for the specific application.
CAUTION Improperly installed compressed air lines! Danger of injury!
- Lay the compressed air lines so that no one can trip over them.
CAUTION Dangerous system operating states if the pressure sensor is disconnected from the voltage source during operation!
Danger of injury and system damage from uncontrolled system operating states.
- Do not disconnect the pressure sensor from the voltage source during operation.
General instructions on equipment and product damage
NOTICE Mechanical loads!Damage to the device!
- Make sure that you never expose the device to mechanical loads or mount it with mechanical stress.
- Avoid mechanical stress when connecting the pneumatic tubing and the electrical connection.
- Make sure that the device is not damaged by falling parts or incorrect tool usage.
Scope of Delivery
- 1 pressure sensor with or without leak tester function
- 1 blanking screw, mounted
- 1 set of operating instructions
Device Description
The pressure sensor is used as a switch in signaling, control, and regulation circuits. It monitors the applied relative pressure and converts it, depending on the version and the set switching points or functions, into a digital switch signal or analog current or voltage signal. The switching behavior is presented in Figs. 3 to 6.
The pressure sensor with leak tester has an additional integrated function to check closed compressed air systems or individual sections for leakages.
Device overview See Fig. 1
| 1 | Display | 2 | Control panel with three buttons |
| 3 | Electrical connection, M12x1 | 4 | Mounting clip for hat rail (DIN EN 60715, 35 x 7.5; 35 x 15) or mounting kit |
| 5 | Threaded connection, G1/4, with blanking screw, on the rear | 6 | Push-in fitting, 4 mm, bottom |
| 7 | Threaded connection, G1/4, bottom |
Assembly
CAUTION
Danger of injury from uncontrolled operation
If the system is under electrical voltage and/or pressure during assembly of the pressure sensor, this may lead to uncontrolled responses and, as a result, to in-juries to personnel or damage to the system.
- Always make sure the relevant system component is not under pressure or voltage before connecting pneumatics or electrics for the pressure sensor!
Assembling the pressure sensor on a DIN rail
- Mount the DIN rail (DIN EN 60715; 35 mm x 15 mm/7.5 mm) in a suitable manner.
- Insert the pressure sensor in the DIN rail at the lower mounting clip and tilt the pressure sensor towards the top until it catches (Fig. 7).
Assembling the pressure sensor with the mounting kit
- Attach the mounting kit to your mounting surface with 2 screws (Fig. 9).
- Center the pressure sensor in the mounting kit at the lower mounting clip and tilt the pressure sensor towards the top until it catches (Figs. 10 and 11).
Installing the pressure sensor with the control panel installation kit
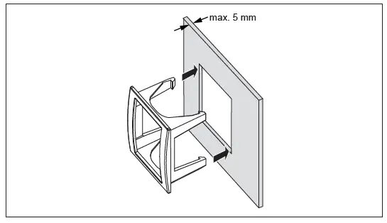
The control panel installation kit consists of a front frame and mounting kit. The sheet metal thickness may not exceed 5 mm.
- For the dimensions and tolerances for the cut-out, see Fig. 12.
- Insert the front frame into the cut-out from the front (Fig. 13).
- Push the pressure sensor onto the front frame from the back until the snap-fits catch (Fig. 14).
- Insert the mounting kit into the pressure sensor at the lower mounting clip and tilt the kit towards the top until it catches (Fig. 15).
- Turn the two mounting screws in until sufficient tensile force fixes the pressure sensor (Fig. 16).
Tightening torque: max. 4 Ncm (tighten slightly) - Fix both mounting screws with counter nuts.
Connecting the pneumatics
CAUTION Danger of injury due to unsuitable compressed air tubing!
Unsuitable compressed air tubing may disconnect from the device under pressure and result in injury.
- Only use AVENTICS tubing.
CAUTION
Damage to the device!
Incorrect fittings can damage the device.
Non-compliance with the limit values can damage the device.
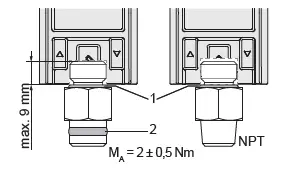
- Do not use fittings with a conical thread! Only use fittings with axial sealing at the outer flange, with a maximum insertion depth of 9 mm (Fig. 17).
- Comply with the limits for pressure and temperature g 12. Technical Data.
Depending on your order, the device is equipped with either a G1/4 thread connection or a push-in fitting. You can adjust the G1/4 thread connection to your application using double nipples.
- Close the unused compressed air connection with the blanking screw mounted on the rear. Tightening torque 1 Nm±0.3 Nm
Connecting the double nipple to the G1/4 threaded connection
Double nipples with G1/4 or G1/8 threads have a PTFE sealing ring (Fig. 17). Seal double nipples with NPT thread with liquid sealant or PTFE tape, and align where necessary.
- On the side with the O-ring (Fig. 17), screw the double nipple onto the pressure sensor. Tightening torque: 2 + 0.5 Nm.
- Using a 17 mm wrench, screw the pressure sensor with the attached double nipple into the provided mounting thread until the seal is completely screwed in.
A double nipple with a PTFE ring may be turned a maximum of 3/4 of a rotation back forth during alignment. - Make sure that the PTFE ring is completely screwed in and check for lea tightness.
Connecting the push-in fitting
See Fig. 19 To connect pneumatic lines to push-in fittings, slide the tubing up to the stop in the push-in fitting and gently tug to see if the tubing is tightly inserted.
- Insert the pneumatic tubing (Ø 4 mm, 5/32″) into the push-in fitting of the pressure sensor.
Electrical connection
See Figs. 24, 25
The pressure sensor is available in four versions:
- Output signal 2x digital
- Output signal 1x digital, 1x analog
- Output signal 1x IO link, 1x digital
- Output signal 2x digital, 1x analog (in leakage mode: output signal 1x digital, 1x analog, input signal 1x digital)
- For your version see the rating plate.
- Please note the pin assignments of the plug.
- Use only AVENTICS connecting cables to connect the pressure sensor. The length must not exceed 30 m.
- Use shielded cables if the pressure sensor is exposed to strong electromagnetic fields.
- Attach the M12x1 connector on the connecting cable to the device plug. Max. torque: 0.6 Nm
Commissioning and Operation
CAUTION Dangerous system operating states from incorrect settings or if the maxi-mum/minimum operating voltage is exceeded!
Danger of injury and system damage from uncontrolled system operating states.
- Do not make any improper changes to the pressure sensor during operation. Note that the previous settings become immediately effective if the center button is pressed!
- Immediately exchange defective pressure sensors.
- Do not disconnect the pressure sensor from the voltage source during operation!
CAUTION Danger caused by the repeated compression of the pressurized air! The device heats up beyond the permissible limit.
- Avoid repeated compression of the pressurized air.
- For the permissible period T as a function of the pressure fluctuation Δp, see Fig. 18.
NOTICE
Damage due to sharp objects! The device may be damaged.
- Never operate the device with tools or sharp objects.
Before commissioning the system, the following steps must have been carried out and completed:
- You have fully assembled and connected the pressure sensor.
- You have carried out the presetting and configuration.
You can now pressurize the system part to which the pressure sensor is con-nected.
Switching on the device
After connecting to the power supply, all segments of the display are illuminated for 2 s in the basic color and then for 2 s in the warning color.
- Check the error-free function of all segments during this time.
The device will then display the manufacturer name and device designation for 2 s. Afterwards, the device changes to the display mode.
The measuring and switching functions are operational in the display mode. In the case of an electrical start-up, the device may already show a value in a pressure-free state (physical effect). During commissioning, perform a zero point offset in the EF extended program function with the function “0SET”. The device switches off the display in the energy saving mode. Pushing one of the buttons reactivates the display for 5 s.
To switch on the energy saving mode:
- In the extended programming functions, select the value “OFF” for the parameter “DISC” g 8.8. Selecting the extended programming functions.8.2 Selecting the information mode
The pressure sensor is in display mode:
- Press and hold the arrow pointing upwards for at least 3 s. The pressure sensor is now in the information mode.
The device displays the following parameters in sequence for 3 s each:
- SP1/FH1 (setting for switching point 1 or upper window limit 1)
- RP1/FL1 (setting for resetting point 1 or lower window limit 1)
- SP2/FH2 (setting for switching point 2 or upper window limit 2)
- RP2/FL2 (setting for resetting point 2 or lower window limit 2)
- Analog output (electrical output signal in mA or V)
- LOW (minimum applied pressure value stored since the last reset)
- HIGH (maximum applied pressure value stored since the last reset) To exit the information mode:
- Press both arrow buttons at the same time. The pressure sensor is now in the display mode.
Display areas
The display areas differ between the pressure sensor and the pressure sensor with additional leak tester function (Fig. 2).
Table 1: Pressure sensor
| Display areas | Display mode | Programming mode |
| A | Display of applied pressure | Value of the selected parameter |
| B | Key symbol if key lock is activated, set pressure unit | Selected parameter |
| C1/C2 | Set switching thresholds | Additional information |
| D1/D2 | Switching state, switch output 1/2 | Switching state, switch output 1/2 |
| E1/E2 | Value set for switching thresholds | Value set for switching thresholds |
Table 2: Pressure sensor with leak tester function
| Display areas | Display mode | Programming mode | Measurement mode |
| A | Display of applied pressure | Value of the se- lected parameter | Display of applied pressure |
| B | Key symbol (if key lock is activated), set pressure unit | Selected parameter | Set pressure unit |
| C1/C2 | Ready for measurement display (“WAIT”/“USER”) | C1: Leakage state (Wait User, MEAS, DONE) or TimA until P1 is reached, error message (“WARN”) in case of insufficient supply pressure, “DONE” after (error- free) completion of the measurement C2: Alternating between QL, dT, dP, or P>P1 until P1 is reached, or P<P2 until P2 is reached | |
| D1/D2 | D2: “Leakage measurement activation” state | ||
| E1/E2 | E1: Timer in seconds until P1 is reached E2: Measured values QL, dT, dP |
Selecting the programming mode
The pressure sensor is in display mode:
- Press the arrow pointing downwards for at least 2 s.
The pressure sensor is now in the programming mode. The measuring and switching functions continue.
If you do not make an entry for more than 15 s, the device automatically switches back to the display mode.
The pressure sensor is in the programming mode:
The device displays menu items and selectable parameters in the display area B (Fig. 2).
Selecting the switching and resetting points or the extended programming functions
The pressure sensor is in the programming mode:
- Press one of the two arrow buttons until the desired switching point (SP1, SP2), the resetting point (RP1, RP2) or the display for the extended programming functions (EF) appears on the display. The following displays appear in sequence:
Display1) Explanation 1
Switching point 1 or upper window limit 1 Value range: min: MBA +0.2% of the range; max: MBE Factory setting: MBE 2 Resetting point 1 or lower window limit 1 Value range: min: MBA; max. MBE -0.2% of the range Factory setting: MBE -10% 3 Switching point 2 or upper window limit 2 (if second switch output is present) Value range: min: MBA +0.2% of the range; max: MBE Factory setting: MBE 4 Resetting point 2 or lower window limit 2 (if second switch output is present) Value range: min: MBA; max. MBE -0.2% of the range Factory setting: MBE -10% 5 Extended programming functions g 8.8. Selecting the extended programming functions Display mode – In the window mode, the switching and resetting points SPx and RPx are called FHx and FLx.
- Press the center arrow button to confirm the selection.
- You can now enter the parameter values for the switching points.
Selecting the extended programming functions
The pressure sensor is in the programming mode:
- Press one of the two arrow buttons repeatedly until “EF” appears in the dis-play.
- Press the center button to go to the extended functions.
- Press one of the two arrow buttons repeatedly until the desired parameter appears in the display.
| Display | Explanation |
| Switching logic of the switch outputs: PNP/NPN/push-pull (applies to both switch outputs if second switch output is present) Value range: PNP, NPN, P/P / factory setting: PNP | |
| If an analog output is present: • Output signal 4 to 20 mA (I) • Inverted output signal 20 to 4 mA (IINV) • Output signal: 0 to 10 V (U) • Inverted output signal 10 to 0 V (UINV) • Automatic detection depending on the current ohmic load • (non-inverted output signals) (AUTO) Value range: I, IINV, U, UINV, AUTO / factory setting: AUTO | |
| Setting the pressure unit in the display Value range: BAR, MPA, KPA, PSI, inHg/factory setting: BAR | |
| Zero point offset correction max. 5% Value range: – / factory setting: – | |
| • Display of the switching points or window limits in the display ar- eas C and E (Fig. 2)(SPRP) • Display of the LOW/HIGH values in the display areas C and E (LoHi) | |
| Update of the display (display update) Value range: 1/2/5/10 updates per second Factory setting: 5 per second | |
| Electronically invert each display field Value range: YES, NO / factory setting: – | |
| Color in the display • Red for p < SP or FL < p < FH, and green for p > SP or p < FL or p > FH (OD) • Red for p > SP or p < FL or p > FH, and green for p < SP or FL < p < FH (DU) • Always red (without color change) (RED) • Always green (without color change) (GRN) • Display OFF (energy saving mode, pushing one of the buttons ac- tivates the display for 5 s): (OFF) | |
| Display of the maximum applied pressure value Value range: no setting options / factory setting: MBA | |
| Display of the minimum applied pressure value Value range: no setting options / factory setting: MBE | |
| Reset the HIGH and LOW values Value range: YES, NO / factory setting: – | |
| Set the password for the display lock Password “0000” = no password entry required Value range: – / factory setting: none | |
| 16-character alphanumeric measuring point number Value range: – / factory setting: none | |
| Return to the display mode |
Setting the switching points
The pressure sensor is in the programming mode:
- Press the arrow pointing downwards‚ to show the SP1 menu item.
- Press the center button to enable setting the switching point.
- Use both arrow buttons to set the desired switching point.
The following applies: | RPx | < | SPx |, SPx ≠ 0.
Exception for -1 to +1 bar
(For RP = 0, selecting SP < 0 or SP > 0 allows switching between vacuum and overpressure switching behavior).
RP = 0: Switching between SP+ and SP– possible.
RP (Pmin … SP – 1 digit) for SP > 0: Overpressure sensor behavior
RP (Pmax … SP + 1 digit) for SP < 0: Vacuum sensor behavior - Confirm the set value by pressing the center button briefly.
- Repeat steps 1 to 4 to set the resetting point RP1, switching point SP2 and re-setting point RP2, one after the other.
Configuring the switch output
Setting the switch-on and reset delay
- Select menu item DS1 or DR1 and press the center button.
- Set the desired switch-on or reset delay with the two arrow buttons.
- Press the center button to accept the selected value.
- Select menu item DS2 or DR2 and press the center button to set the values for output 2.
- Repeat steps 2 and 3.
Setting the switching element function
- Press the lower arrow to show the menu item OUT1 or OUT2.
- Press the center button to enable selecting the switching element function.
- Select the desired switching element function with one of the two arrow buttons.
- Press the center button to accept the selected switching element function.
Using the password function
You can protect the pressure sensor from unauthorized access by entering a password. If a password has been assigned, settings can only be changed if the password is entered. Password “2677” is reserved for resetting the password.
If the first chosen password is “2677”, the password is not reset.
Assigning a new password or changing a password
The pressure sensor is in the extended programming functions (EF).
- Select menu item PAS and press the center button.
The last selected password appears in the display. - Use one of the two arrow buttons to select a password consisting of a 4-digit code.
- Press the center button to accept the selected setting.
By setting “0000” you turn off the password function.
Resetting the password
If the password is reset, the pressure sensor continues to use the set parameters.
- Enter the password “2677”. The password is reset.
- Make sure the system part in which the pressure sensor is installed is not un-der pressure or voltage.
- Disconnect the pressure sensor from the supply voltage.
- Hold down both arrow buttons and the center button while you reconnect the pressure sensor to the supply voltage.
The password function is switched off and all previous settings are returned to the factory settings.
Resetting previously set parameters
The pressure sensor is in the extended programming functions (EF).
- Select menu item RES and press the center button.
- Select the setting YES with one of the two arrow buttons.
- Press the center button to confirm the selection.
All parameters now reflect the factory settings.
Leak tester function
Changing parameter values Setting LTP1 (changing values)
- Press the arrow pointing downwards for more than 2 s. This takes you to the LTP1 setting.
- Press the center button to change this setting.
- Use the two arrow buttons to change the values and the press the center arrow button again to accept the desired value.
Setting LTP2 (duration of measurement)
- Press the arrow pointing downwards for more than 2 s. This takes you to the LTP2 setting.
- Repeat the steps as described under setting LTP1.
- Press the arrow pointing downwards and then press the center button to con-firm.
- Use both arrow buttons to set the TOUT measurement duration (in seconds, from 1 to 9999) and then press the center button to confirm.
Setting the system/system section volume (if known)
- Press the arrow pointing downwards to go to the menu for setting the volume and then press the center button to confirm.
- Set the values with the two arrow buttons.
At the end of the measurement, the display shows the leak rate information in L/min.
SET AMODE
- Press the arrow pointing downwards to go to the SET AMODE menu and then press the center button to confirm.
- Use the two arrow buttons to select the value to be transmitted via the analog output, either the measurement duration (dT) or the pressure difference (dP).
STOP LT
- Press the arrow pointing downwards to go to the STOP LT menu and then press the center button to confirm.
- Use the two arrow buttons to select if you want to use the sensor in leakage mode (select NO) or as a pressure sensor (select YES), and then press the cen-ter button to confirm.
- Press the arrow pointing downwards.
Starting the leakage measurement
After connecting the sensor to the power supply, it displays the corresponding firmware version “FWv x.xx”. The display shows the initialization “PE5 Aventics”, the current system pressure p0 as well as “Wait” and “User” in the lower two lines.
- Press the center button for > 200 ms to start the measurement with the pre-set parameters.
The factory setting is:
p1 = 0.6 bar
p2 = 0.4 bar
tout = 30 seconds
PVOL = 0.0 liters
QA = dT
Alternatively, the measurement can be started with a pulse from a control (PLC). The pulse is sent to the sensor as an input signal via Q1 (pin 4).
The upper part of the display always shows the current measured value.
The following scenarios can occur during the measurement:
System supply pressure p0 < (pressure) threshold value p1 or p2
After starting the measurement, the sensor immediately enters an error mode if the value for p0 is not at least 0.02 bar higher than the upper threshold value p1. The display changes to red. “WARN” is shown below the current measured value, and “p<p1” as well as the value for p1 (e.g. “0.60”), or “p<p2” and the value for p2 appear in the bottom line.
- Press the center button to acknowledge the message and return the sensor to measurement readiness.
Supply pressure p0 > p1 and reaching tout before value falls below p1
Timer A starts after the start of the measurement. The upper threshold value p1 is not reached by the time tout is reached. During the measurement, “TimA” ap-pears in the upper status bar with the corresponding time in seconds, and in the lower status bar “P>P1” appears with the value for p1 (e.g. “0.60”). The measurement stops as soon as the time value for tout is reached. “DONE” appears in the upper status bar to indicate that the measurement has been completed. In the lower status bar, the display alternates between the values for dP (pressure difference between p0 and the current pressure when tout is reached), dT (corresponds to tout in this case), and the value for QL (absolute value if a volume has been specified, or “- – – -QL” if the setting Vol = 0 has been retained).
Supply pressure p0 > p1 and value below p1 before reaching tout
If the upper pressure value p1 is not reached after the start of the measurement, measurement of dT starts. “MEAS” then appears in the upper status bar. In the lower status bar, the display alternates between the values for dP (pressure difference between p0 and the current pressure), dT (time period in seconds since passing through p1), and QL. After tout has expired, “DONE” appears in the up-per status bar, and the values for dP, dT, and QL appear alternately in the lower status bar.
- Press the center button to acknowledge the message and return the sensor to measurement readiness.
Supply pressure p0 > p1 and values below p1 and p2 before reaching tout
If the upper pressure value P1 is not reached after the start of the measurement, measurement of dT starts. “MEAS” then appears in the upper status bar. In the lower status bar, the display alternates between the values for dP (pressure differ-ence between p1 and p2), dT (time period in seconds since passing through p1 until reaching p2), and QL. If the value falls below the lower (pressure) threshold P2, the display color changes from green to red.
There is a leak. Fig. 23 shows a schematic depiction of the leakage measurement.
“DONE” appears in the upper status bar, and the values for dP, dT, and QL appear alternately in the lower status bar.
- Press the center button to acknowledge the message and return the sensor to measurement readiness.
Service and Maintenance
The device is maintenance-free.
- Only use water and, if necessary, a mild cleaning agent for cleaning.
Disassembly and Exchange
CAUTION System is under high pressure!
Danger of injury and system damage from uncontrolled system operating states.
- Make sure that the system component in which the pressure sensor is in-stalled is not under pressure or voltage before beginning disassembly.
- Make sure that the system is not under voltage or pressure.
- Loosen and remove all connections.
- Loosen the pressure sensor from the (threaded) pressure connection using a wrench, or pull the pressure sensor straight out of the push-in fitting.
- Dispose of the packaging and used parts in accordance with the regulations of the country where used.
Error and Warning Messages
The display areas A and B blink in case of error and warning messages (Fig. 2).
| Display | Cause | Remedy |
| OL OVERPRESS | Applied pressure > end of measuring range | Set the pressure within the measuring range (see Figs. 21 and 22) |
| UL UNDERPRES | Applied pressure < start of the measuring range | |
| ERR1 GEN.ERROR | General error | Contact us! |
| ERR2 SHORTOUT1 | Short-circuit present at out- put 1 | Rectify short-circuit and dis- connect the supply voltage temporarily so that the out- put returns to normal operation. |
| ERR2 SHORTOUT2 | Short-circuit present at out- put 2 | |
| ERR3 OVERVOLTG | Supply voltage > 30 V DC1) | Correct the setting of the supply voltage |
| ERR4 LOW VOLTG | Supply voltage < 17 V DC1) | |
| ATT1 SHIFT RP1 | The switching point is set be- low the existing resetting point. The resetting point is automatically set with the smallest possible hysteresis below the new switching point. | Press the center button to ac- knowledge the message |
| ATT1 SHIFT RP2 |
The outputs switch off if the supply voltage exceeds 30 V DC or falls below 17 V DC.
- In the extended programming functions (EF), select the value “DIA” for the parameter “OUT2” g 8.8. Selecting the extended programming functions.
The diagnostic output and the digital outputs behave as follows in case of an error:
| Display (area A) | Digital outputs | Diagnostic output | ||||
| PNP mode | NPN mode | Push-pull mode | PNP mode | NPN mode | Push-pull mode | |
| OL | Normal function | Low Only pull- down | High Only pull-up | Low NPN active | ||
| UL | ||||||
| ERR1 | Low Only pull- down | High Only pull-up | Low Only pull- down | Low Only pull- down | High Only pull-up | Low NPN Pull-down |
| ERR2 | ||||||
| ERR3 | ||||||
| ERR4 | ||||||
Technical Data
| General data | ||
| Dimensions (W x H x D) | 35 mm x 63 mm x 35 mm | |
| Weight | Approx. 45 g | |
| Display | LCD, 4-digit, backlit | |
| System pressure display | Selectable: bar, MPa, kPa, psi, and inHg | |
| Update of the display | Settable: 1000, 500, 200, and 100 ms | |
| Protection class acc. to IEC 60529 | IP65/67 with assembled connection ports | |
| Measuring ranges | –1 … 0 bar –1 … +1 bar 0 … +6 bar | 0 … +10 bar –1 … +10 bar 0 … +12 bar |
| Operating temperature range | 0 … 60°C | |
| Storage temperature range | -20 … 80°C | |
| Relative humidity | < 90% | |
| Shock load | Max. 30 g, xyz, DIN EN 60068-2-27 (11 ms, mechanical shock) | |
| Vibration load | Max. 5 g, xyz acc. to IEC 60068-2-6 (10 to 150 Hz, vibration at resonance) | |
| Materials | Housing: polycarbonate Buttons: TPE Mounting clip: POM Seals: NBR | |
| Port | M12x1, 4-pin: (outputs 2x digital and outputs 1x analog and 1x digital) 5-pin: (outputs 2x digital, 1x analog, leakage mode: outputs 1x digital, 1x analog, input 1x digital) | |
| Supply voltage1) | 17 … 30 V DC, protected against polarity re- versal | |
| Current consumption2)
| Max. 40 mA (24 V) | |
| Electrical safety | Protection class III | |
| Switch outputs | PNP/NPN/push-pull, selectable (for the ver- sion with IO link: switch output 1: IO link/PNP and switch output 2: PNP/NPN/push-pull, se- lectable) | |
| Function | Opener/closer, window/hysteresis function freely adjustable | |
| Switching voltage | Supply voltage – 2 V | |
| Max. switching current per switch output | 100 mA | |
| Switching delay | 0 … 50 s (programmable) | |
| Switching time | ≤ 5 ms | |
| Diagnostic output | Switch output 2 configurable | |
| Analog output signal | Optional 4 to 20 mA, 0 to 10 V, automatic switching depending on the connected load or settable to a fixed value Output signals invertible: 20 to 4 mA, 10 to 0 V | |
| Ohmic load for current output | < 600 ohms | |
| Ohmic load for voltage output | > 3 kiloohms | |
| Non-linearity | ≤ ± 0.5% of the range | |
| Accuracy | ≤ ± 1.5% of the range ≤ ± 2.0% of the range including temperature error | |
| Non-repeatability | ≤ ± 0.2% of the range | |
| Measuring temperature range | +10 … +60°C | |
| Permissible medium | Compressed air | |
| Compressed air quality acc. to ISO 8573-1:2010 | Max. particle size: ≤ 40 µm Oil content: 0 … 40 mg/m3 The pressure dew point must be at least 15°C below the ambient and medium tempera- tures and must not exceed 3°C. | |
| Pneumatic ports | 2x G1/4 acc. to ISO 16030 1x push-in fitting, 4 mm, and 1x G1/4 acc. to ISO 16030 | |
Accessories
See online catalog






































