WATTECO Press’O 0-5V Atex Zone 1
Recommendations for use
The use of accessories:
Installation, maintenance and use must only be carried out by personnel who are competent in the use of electrical equipment in explosive atmospheres as defined in EN 60079-14.
Any repair or modification is strictly prohibited without the written permission of Watteco.
Risk of electrostatic discharge: The user must implement any action to control the risks of electrostatic discharge, especially by cleaning the product only with a damp cloth.
USE ONLY SAFT TYPE LS17500 BATTERIES.
Only the use of accessories in accordance with the intrinsic safety parameters is permitted (see on pages 3-4)
Start
Provision the device on your LoRaWAN® network with the keys available on the secure platform.
ON :
OFF : 
Video :ON – OFF
https://www.watteco.fr/assistance/tutoriels-video/
Connectors
| Connector: Red circle: 6 points | ||
| Connector | IS parameters | |
| 0-5V | ||
| Press’O Atex Zone 1 IP55 : [50-70-151] IP68 : [50-70-114] | P1: OUT – V+ [~5,5Vdc@5mA] P2: GND P3: IN-Measure 1 P4: GND P6: IN-Measure 2 P7: GND | Uo = 6,51V Io = 67mA Po = 108 mW Co = 500µF[IIB], Co = 22µF[IIC] Lo = 33mH [IIB], Lo = 8mH [IIC] |
The connectivity of the subbase is defined by :
Marking
The 0-5V Press’O sensors are certified according to the harmonised standards EN60079-0 ed. 6 and EN60079-11 ed.6 (EU Type Examination Certificate DEKRA20ATEX0017 X)
Press’O 0-5V
![]()
Ex ib IIB, IIC T4 Gb
Ex ib IIIC T135°C Db
-20 ≤ Tamb ≤ +50°C
DEKRA 20ATEX0017 X
WARNING – DO NOT CHANGE THE BATTERY IN EXPLOSIVE ATMOSPHERE – ONLY USE TYPE OF BATTERY SAFT LS17500 – POTENTIAL
ELECTROSTATIC CHARGING HAZARD – INSTRINSIC SAFETY PARAMETERS FOR CONNECTORS – SEE INSTRUCTIONS WATTECO – RUE GUTENBERG – 56700
HENNEBONT – FRANCE
Setting up
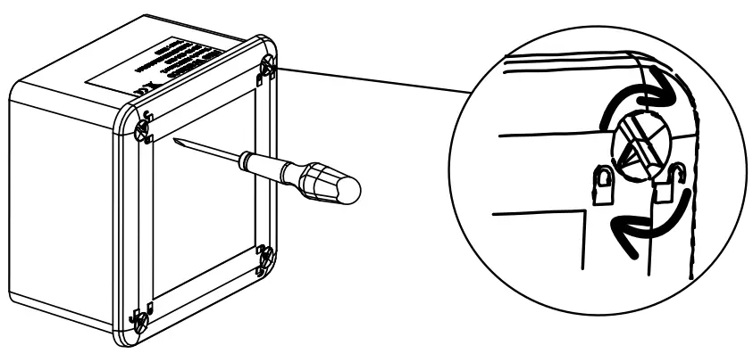
Opening / Closure
Unscrew the 4 screws by ¼ turn
Wall mounting
Place the dowels and screw the housing to the wall
Radio propagation
Check the radio coverage with the Netw’O.

For the sensor communicates correctly, the number of obstacles should be limited to avoid excessive radio attenuation.
Characteristics
| Reference | 50-70-114 | 50-70-151 |
| Class | A | |
| Power Level | +14 dBm | |
| Measures : | 0-5V | |
| Antenna | Internal | |
| Casing materials | ASA / PC | |
| IP rating | IP55 | IP68 |
SITE SUPPORT
IoT device manufacturer
Thanks for choosing WATTECO devices






















