Westfalia 96 2 Jack Stands for 3 Tons of Load each

SAFETY NOTES
Please note the included General Safety Notes and the following safety notes to avoid malfunctions, damage or physical injury:
- Please read this manual carefully and use the device only according to this manual.
- Dispose of used packaging material carefully or store it out of the reach of children. There is a danger of suffocation!
- In addition to the safety advice given in these operating instructions, the general provisions for accident prevention, safety and environmental protection relevant for the application range of this tool must be observed.
- Persons with limited physical, sensorial or mental abilities are not allowed to use the foldable jack stand, unless they are supervised and briefed for their safety by a qualified person.
- Keep bystanders away from the jack stands and the load to be lifted.
- Do not use the jack stands as ladder, stool or similar.
- Always place the jack stands on an even and hard surface and make sure the ground can stand the load. Ensure a safe stand. Failure to do this can lead to instability of the device and cause damage to the load.
- Use the jack stands only for its intended use, for supporting the load such as cars.
- Do not overload the jack stands. The maximum load is 3000 kg each. Overload and inappropriate use may cause the jack stand to break and lead to personal injury or damage to property.
- The jack stands must not be moved under load.
- Position the load on the centre of the saddle only.
Make sure the load to be lifted cannot move in any way or topple over. - Always secure the jack stands with the safety pins.
- Secure the vehicle against rolling.
- Always use jack stands in pairs. Ensure that the jack stands are identical in shape and design.
- Do not use damaged jack stands.
- Working under lifted loads, which are not secured (e.g. with the jack stands) is forbidden.
- The jack stands must not be modified in any way.
- Before each use, check the jack stands for full functionality. Do not use the jack stands if their full functionality cannot be ensured or if damage is detected.
Operation
Before the first Use
- Unpack the jack stands and check them for transport damage. Dispose of any packaging material that is not required or keep it in a place inaccessible to children. There is a risk of suffocation!
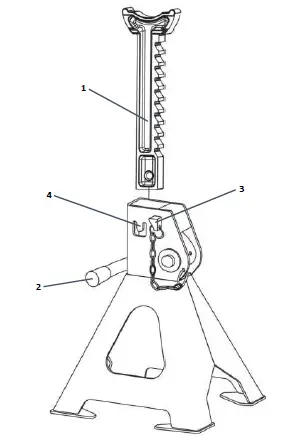
- Insert the rack / saddle unit into the base of the jack stands. Bend the safety tab (4) inwards, e.g. with a pair of pliers, to securely couple the rack / saddle unit to the base.
Operation
- Place the vehicle on a level surface and jack it up with a jack. Secure the vehicle beforehand against rolling away, e.g. with the help of brake wedges.
- Set the required height of the jack stands. Lift the release lever (2) in the base and hold the rack (1) at the required height. Then lower the unlocking lever and fix the rack in the set position.
- Secure the rack with the locking pin (3).
- Place the jack stands in a suitable place under the vehicle. It is essential that you also observe the information provided by the vehicle manufacturer. Only use the jack stands in pairs per axle.
- Lower the jack until the vehicle is securely seated on the jack stands. Always check that the jack stands are correctly positioned. If necessary, lift the load again to correct the positioning of the jack stands.
- After finishing the work, raise the vehicle again, remove the jack stands one after the other and slowly lower the vehicle again. Make sure that no people and / or objects remain under or within range of the vehicle. Pull out the locking pin (3) and lift the release lever (2) and lower the saddle all the way.

Maintenance, Cleaning and Storage
- Oil the moving parts regularly with lubricating oil.
- Remove dust and dirt from the jack stands with a slightly damp cloth or with a hand broom.
- Do not use harsh cleaning agents or aggressive chemicals for cleaning.
- Store the jack stands indoors in a dry place protected from dust, dirt and extreme temperatures.
- Store the jack stands out of the reach of children.
Technical Data
- Working height: min. 276 mm – max. 420 mm
- Max. Load capacity per piece: 3000 kg
- Weight: 6,4 kg
CUSTOMER SERVICES
DEUTSCHLAND
Westfalia Werkzeugstraße 1
D-58093 Hagen
Telefon: (0180) 5 30 31 32
Telefax: (0180) 5 30 31 30
Internet: www.westfalia.de
DISPOSAL
Dear Customer,
Please help avoid waste materials.
If you at some point intend to dispose of this article, then please keep in mind that many of its components consist of valuable materials, which can be recycled. Please do not discharge it in the rubbish bin, but check with your local council for recycling facilities in your area.





















