DJI ZENMUSE
X9 Focus Motor
Product Information
v 1.0 2021.09
Scan the OR code or visit the official DJI website to download the latest DJI Zenmuse X9 Focus Motor User Guide.
In the Box
|
| ![]() X9 Focus Motos Holder | ![]() X9 Focus Motos Rod |
LiDAR Range Finder/Focus Motor Cable | Hex Wrench | Gear | Screw |
Disclaimer and Warning
Congratulations on purchasing your new DJI OSMOTm product. Carefully read this entire document and all safe and lawful practices provided by DJI OSMO before use. Failure to read and follow instructions and warnings may result in serious injury to yourself or others, damage to your DJI OSMO product, or damage to other objects in the vicinity. By using this product, you hereby signify that you have read this document carefully and that you understand and agree to abide by all terms and conditions of this document and all relevant documents of this product.
You agree to only use this product for proper purposes. You agree that you are solely responsible for your own conduct while using this product and for any consequences thereof. DJI OSMO accepts no liability for damage, injury, or any legal responsibility incurred directly or indirectly from the use of this product.
RONIN is a trademark of SZ DJI OSMO TECHNOLOGY CO., LTD. (abbreviated as “DJI OSMO”) and its affiliated companies. Names of products, brands, etc., appearing in this document are trademarks or registered trademarks of their respective owner companies. This product and document are copyrighted by DJI OSMO with all rights reserved. No part of this product or document shall be reproduced in any form without the prior written consent or authorization of DJI. This document and all other collateral documents are subject to change at the sole discretion of WI OSMO. This content is subject to change without prior notice. For up-to-date product information, visit the product page for this product at http://www.dji.com.
Introduction
The DJI ZENMUSETm X9 Focus Motor enables users to control the lens focus of the WI X9 gimbal camera. 
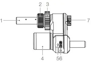
- Rod
- Gear Lock Knob
- Gear
- Motor
- Status LED
- Power and Communication Port
- Rod Lock Knob
Attaching the Focus Gear Strip
Attach the provided gear strip to the camera lens to use the focus motor if the camera does not have a lens focus ring with a 0.8 module gear. Make sure to power off the gimbal camera before attaching.

Make sure the teeth of the gear strip are facing outward. Line up the gear strip on the focus ring or the zoom ring on the lens and pull it taut.

Press the gear strip into the belt holder while holding it tightly.
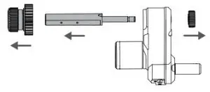
Installing the Focus Motor

Install the X9 focus motor holder (hereinafter referred to as . the “holder’) onto the bottom of the gimbal camera.

Open the holder buckle

Insert the focus motor into the holder. Loosen the gear lock knob, move the gear to the same height as the gear strip before tightening the gear lock knob, and adjust the gear until it locks into the gear strip. Close the holder buckle. 
Connect the LiDAR range finder/focus motor cable to the power port of the gimbal
![]()
- Make sure the focus motor gear can rotate smoothly after attaching it to the gear strip. Otherwise, calibration and the performance of the focus motor may be affected.
- Trim the gear strip to the required length while leaving enough for adjustments if needed.
- To loosen the gear strip, push the gear strip outward while holding the belt holder tightly. DO NOT pull out the gear strip forcibly. Otherwise, the gear strip may be damaged.
- DO NOT bend the gear strip excessively. Otherwise, the gear strip may break.
Replacing the Rod
Loosen the gear lock knob and remove the rod lock knob.
Remove the rod. 
Install the new rod.

Tighten the gear lock knob and attach the rod lock knob.
The gear also contains smaller parts. Make sure they are not lost when removing the gear lock knob from the gear.
Specifications Focus
| Focus Motor | |
| Weight (with default rod) | 110g |
| Dimensions | 89x69x28 mm |
| Max Torque | 0.2 Nm |
| Max Speed | 120 RPM |
| Operating Current | Free current 50 mA (13.7 V) Stall current: 1 A |
| Operating Voltage | 13.7 V |
| Focus Gear Strip | |
| Adapted Lens | 30-110mm |
| Diameter Range | |
| Noise | 40 dB(A) (0.1 m distance) |
| Gear | No. of teeth: 28. Module: 0.8 |
| Operating Temperature | -10° to 400 C (14° to 104° F) |
| Compatibility | DJI Ronin 4D |
| Adapted Lens | 40-90 mm |
| Diameter Range | |
| Ca’ Strip Length | 377 mm |
Compliance Information
FCC Compliance Statement: Supplier’s Declaration of Conformity
Product name: WI Zenmuse X9 Focus Motor
Model Number: X9FM Responsible Party: DJI Technology. Inc.
Responsible Party Address: 201 S. Victory Blvd. Burbank. CA 91502
Website: www.dji.com
We. WI Technology, Inc., is the responsible party. declares that the above-mentioned model was tested to demonstrate complying with all applicable FCC rules and regulations. This device complies with part 15 of the FCC Rules. Operation is subject to the following two conditions: (1)
This device may not cause harmful interference. and (2) this device must accept any interference received. including interference that may cause undesired operation.
Any changes or modifications not expressly approved by the party responsible for compliance could void the user’s authority to operate the equipment.
ISED Compliance
CAN ICES-003 (B)/NMB-003(B)
GB Compliance Statement: SZ DJI Osmo Technology Co., Ltd. hereby declares that this device Zenmuse X9 Focus Motor) is in compliance with the essential requirements and other relevant provisions of Electromagnetic Compatibility Regulations 2016. A copy of the GB Declaration of Conformity is available online at www.dji.com/euro-compliance
Environmentally-friendly disposal
Old electrical appliances must not be disposed of together with the residual waste. but have to be disposed of separately. The disposal at the communal collecting point via private persons is for free. The owner of old appliances is responsible to bring the appliances to these collecting points or to similar collection points. With this little personal effort. you contribute to recycling valuable raw materials and the treatment of toxic substances.![]()

X9 Focus Motos
Focus Gear Strip

LiDAR Range Finder/Focus Motor Cable
Gear
Screw


















