PENTAIR PC600-P, PC1000-P Whole House Water Filter System

IMPORTANT INFORMATION
- Read these instructions carefully and determine the location of all system components before beginning installation.
- Check all applicable plumbing, building, and electrical codes for installation compliance.
- Install the system on the main water supply.
- The use of plumber’s tape and/or pipe thread seal paste will be needed on all threaded connections.
- To condition all water in the home, install the Carbon Water Filter System close to the water supply inlet, and upstream of all other plumbing connnections, except outside water pipes. Outside faucets should remain on unfiltered water.
WARNING
Installing this system in a metal (conductive) plumbing system, i.e., copper or galvanized metal, will interrupt the continuity of the plumbing system and grounding source in some homes. If your home’s electrical appliances are grounded through the plumbing system, you will need to install a bypass that consists of the same material as the existing plumbing or a grounded “jumper wire” to bridge the equipment and reestablish the contiguous conductive nature of the plumbing before using this Pentair system. Failure to do so can result in errant electricity from improperly grounded appliances or potential galvanic activity in the plumbing system, which could increase the risk of fire or injury while using your home appliances. Please consult a licensed electrician before attempting to install.
CAUTION
When adding a filtration/softening system to homes/buildings supplied by well water, the system should be installed following the pressure tank. DO NOT USE this system for pneumatic or hydropneumatic applications. If you are using a booster pump, then install this system following the booster pump. If you have questions, please call customer service.
DO NOT USE with water that is microbiologically unsafe or of unknown quality without adequate disinfection before or after the system.
PRODUCT OPERATION AND SPECIFICATIONS
| Specification Description | PC600-P | PC1000-P |
| Rated Service Flow Rate | 8 GPM | 12 GPM |
| Peak Flow Rate | 12 GPM | 16 GPM |
| Minimum Working Pressure | 25 PSI | |
| Maximum Working Pressure | 80 PSI | |
| Maximum Vacuum | 5 inch/127 mm Hg | |
| Operating Temperatures | 36˚F – 120˚F | |
| pH Range | 6-11 | |
| Pressure Drop at Rated Service Flow | 13 PSI at 8 GPM | 13 PSI at 12 GPM |
COMPLETE PARTS LIST
Note
The parts supplied are intended to accommodate a variety of water supply lines. Additional fittings may be needed to fit to your plumbing. Visit pentair.com to view our full line of installation kits.
| Part | Description | Qty. |
![]() | 1″ Plastic Male NPT Assembly: V3007-04 1″ Plastic Male NPT Assembly (2): O-Rings (2), Split Rings (2), and Connectors (2) | 1 |
![]() | Sediment Filter System: Blue Sediment Filter Housing, Mounting Bracket, Phillips Head Screws (4), Bolt Head Screws (4), and Washers (4) | 1 |
![]() | Sediment Filter: 5 Micron Poly-Spun Sediment Filter | 1 |
![]() | Sediment Filter Wrench | 1 |
![]() | Non-Abrasive Auto Wax: 4 oz. Bottle | 1 |
| Bypass Valve: In/Out Bypass Valve with Red Arrow Handles | 1 |
| Hose Bib Assembly | 1 |
| Whole House Water Filter | 1 |
Note
Drawings not to scale.
INSTALLATION OVERVIEW
- Top View

- Front View

Note
Sediment filter position is at the discretion of your professional installer. As a general guideline, the sediment prefilter is typically installed in the “pre” position (as shown above) for well water applications. For city water applications, the sediment filter is typically installed in the “post” position after the Carbon Water Filter System.
PRE-INSTALLATION
Note
Head may come loose in transit. Please check head by tightening clock wise, hand tighten only, no more than 1/4 turn. Head may not move at all or less than 1 /4 turn.
Bypass Valve Installation
- Top View

Figure 2
The bypass valve comes pre-assembled and ready to install with the o-rings, split rings, and quick connect nuts. Push the bypass valve into the head of the Carbon Water Filter System with the unthreaded ends oriented toward the tanks and hand-tighten the quick connect nuts.
Note
The bypass valve(s) included with this system are designed for multiple water systems. This may result in the arrows on the bypass valve(s) pointing differently than shown. If the arrows on your bypass valve(s) do not match the diagram, remove the red arrows by pulling them straight up, turn them 180˚ to match the drawing, and push them back down onto the stem.
MEDIA SOAK
- Top View

Carbon Soak/Rinse
Note
Steps 1-3 should be done prior to installation
- Locate the carbon filter tank and the hose bib attachment.
- Attach the hose bib attachment to “Inlet” side of the carbon filter. Attach garden hose to the hose bib and turn water slowly until water flows out of the outlet of the tank (a stream of water about the size of a pencil). Allow this water to flow out for 15 minutes.
Note
The first few gallons of water could look black and cloudy due to the carbon fines, this is a normal occurrence. - After 15 minutes, turn water off for 1 minute. Then turn water on for fully for 1 minute, and then turn off and wait 1 minute. Continue this process until water comes out of the outlet clear. When complete, remove hose bib attachment.
- Should you lose water pressure while completing step 3, turn water off, and allow the tank to settle with no water usage. Repeat step 3, but reduce how fast you flush the tank.
Note
Should you need to perform the above steps after the tanks are connected to the home plumbing, it is recommended to use an outside garden hose spigot or faucet with an aerator to perform the rinsing procedure.
WARNING
For 72 hours after installation, try not to use a high demand of water (multiple fixtures at one time). This can cause the media to float and could restrict water pressure. Should this happen, stop using the water and allow the tank to sit undisturbed (no water flow) for 15 minutes. Then resume a lower water usage.
SEDIMENT FILTER INSTALLATION
Note
Sediment filter position is at the discretion of your professional installer. As a general guideline, the sediment pre filter is typically installed in the “pre” position (as shown above) for well-water applications. For city water applications, the sediment filter is typically installed in the “post” position after the Carbon Water Filter System Tank.

Part 1
- Unscrew the cover from the blue filter housing.
- Remove the plastic covering from the sediment filter.
- Place the sediment filter onto the stand pipe in the blue filter housing and set aside.

Part 2
- Shut off the water.
- Attach the filter cover to the mounting bracket using the supplied bolt head screws and washers. Make sure to properly orientate the IN and OUT to match your flow pattern.
- Attach the mounting bracket to the wall using the supplied phillips head screws.
- Hand tighten the blue filter housing and then, using the supplied filter wrench, lightly snug the housing making sure not to over-tighten (counterclockwise).
- Determine the size of your inlet water supply line.
CARBON WATER FILTER SYSTEM TANK INSTALLATION
- Level the Carbon Water Filter System Tank.
Note
See “Troubleshooting” section on tips for leveling the tank.
If the tank is not level, lift the tank straight up 6 inches and tap it on the ground until the tank stands vertical. The bottom of the tank is round and the boot allows the tank to stand upright.
Top View
- Determine the size and material of your incoming water supply line and choose the appropriate plumbing required to adapt to the 1” male NPT Assembly.
Note
Visit Pentair.com/homewater to view our full line of installation kits.
CAUTION
Do not over-tighten any of the fittings during installation.
Note
The fitting below is designed with a ¼” give to allow for proper pipe alignment. It will not leak and is intended to have some flexibility.Part Description Qty. 
1″ Plastic Male NPT Assembly: V3007-04 WS1 Fitting 1″ Plastic Male NPT Assembly (2): O-Rings (2), Split Rings (2), and Connectors (2) 1 bag 
- Install the fittings into the INLET and OUTLET sides of the bypass valve. Follow the diagram supplied with the fitting.
- Connect the incoming water supply from the sediment filter to the fitting on the INLET side of the bypass valve.
- Connect the outgoing water supply to the OUTLET side of the bypass valve.
BYPASS VALVE OPERATIONS
Figure A shows the system “in service” which allows water to flow in and out of the tank. In this position the system would be considered ON.

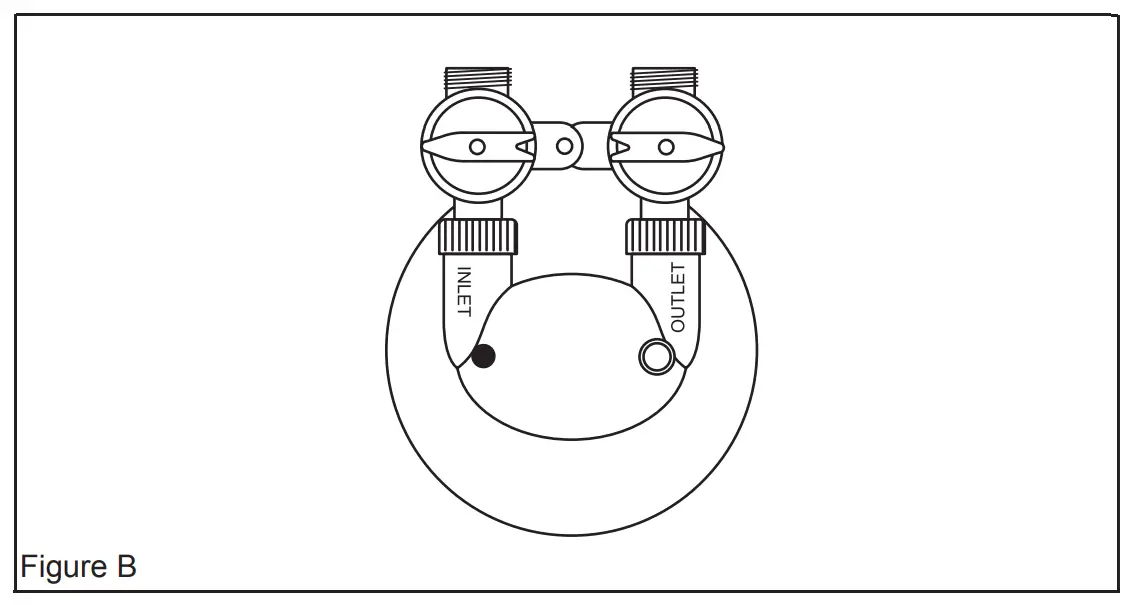
Figure B shows the system “in bypass” which will direct water straight to the home without going in and out of the tank. In this position the system would be considered OFF.

COMPLETE THE INSTALLATION

- Turn on main water supply and check for leaks.
- Peel off the protective plastic wrap from the stainless steel tank jacket(s)
- Add the Pentair logo sticker(s) in the desired location on the tank.
- Wax stainless steel tank jacket(s) with wax provided (or any other non-abrasive auto wax) a minimum of 1-2 times per year or as needed based on the installed environment.
CAUTION
Avoid high flow rates such as bathtub, utility sinks, hose bibs, multi-headed showers, body sprayers, or anything that is considered high flow for the first 72 hours to avoid flow restrictions caused by carbon blockage of the top basket inside the carbon tank.
CAUTION
Carbon dust may be released into the water lines of the house/building during the first few days of water use after carbon tank installation. The carbon dust is harmless, but may give the water a gray appearance that should diminish within a week or 10 days depending on water use.
MAINTENANCE
Media Replacement
Your Pentair® PC600-P / PC1000-P Premium Whole House Water Filter requires care and cleaning after a period of 5 years. Replacement media and instructions can be ordered on-line at Pentair.com/homewater or by calling 877-842-1635. Model numbers for replacement media are PC600-R or PC1000-R.
Sediment Filter
It is recommended that the sediment filter be replaced every 6-12 months depending on the amount of sediment present in the water supply. If the system has been working properly and the pressure is slowing, it may be time to change the sediment filter. Check the sediment filter and replace if necessary.

Replacing the Sediment Filter
- Turn off the main water supply to the sediment filter system and bypass all tanks.
- Run a faucet (cold water) inside the house to relieve the pressure. Leave the faucet open.
- Unscrew the blue filter housing clockwise using the supplied filter wrench.
- Remove the existing sediment filter and discard.
- Remove the o-rings and wipe the upper groove clean. Lubricate two new o-rings with a coating of clean silicone grease. Replace both o-rings. Be sure to press the upper o-rings down into the groove with two fingers.
Note
This step is important to ensure the proper filter seal. Make sure the upper o-rings is seated level in the groove. If the o-ring appears damaged, stretched, or crimped it should be replaced. - Place a new sediment filter onto the stand pipe in the blue filter housing.
- Screw the blue filter housing onto the filter cover hand tight. Lightly snug the housing with the spanner wrench making sure not to over-tighten.
- Turn on the main water supply slowly to allow the sediment filter system to fill with water and expel air from lines. Put tanks back in service (out of bypass).
- Check for leaks.
TROUBLESHOOTING
| Problem | Solution |
| Water leaking at the top of the tank around the head. | You may need to turn the head to tighten it. The tank head is pre-installed hand-tight, do not overtighten the head (just turn it snug). |
| The tank leans to one side or is not level. | If the tank is not level, lift the tank straight up 6 inches and tap it on the ground until the tank stands vertical. The bottom of the tank is round and the boot allows the tank to stand upright. |
![]() | |
| Water pressure is slowing. | It is recommended that the sediment filter be replaced every 6-9 months depending on the amount of sediment present in the water supply. If the system has been working properly and the pressure is slowing, it may be time to change the sediment filter. Check the sediment filter and replace if necessary. |
| Water appears grey or cloudy. | Water may appear grey or cloudy for the first seven to ten days after installation due to extra carbon dust. |
| Water pressure is slowing immediately after installation. | The check valve on the lower end of the pump is stuck in the open position. Turn water off, relieve pressure, remove the suction hose nut as well as the retaining nut underneath. Remove the check valve by pulling down. Rotate the white retainer cap to expose the check valve. Clean o-ring, inner housing and Replace. |
Note
If you have experienced a Boil Alert or require your system to be sanitized, please go to pentair.com/assets/pwsboilalert for product sanitization instructions.
PPRODUCT WARRANTY AND REGISTRATION FORM
For details on your Pentair product warranty, please visit pentair.com/assets/residential-filtration-warranty.
Warranty Registration Form
Send in this Warranty Registration Form to validate your warranty or visit
pentair.com/register-warranty to complete the warranty registration form online.
Send to:
Pentair
2361 Mason Avenue, Suite 100
Daytona Beach, FL 32117
Phone: 1.800.842.1635
PRODUCT CERTIFICATION
Certified By IAPMO R&T to NSF/ANSI Standard 42 for the reduction of Chlorine Taste & Odor, structural integrity & NSF/ANSI 61 for material safety.

PERFORMANCE DATA SHEET
| Performance Data – Pentair Whole House Filters | ||||||
| Model | Replacement | Max Operating Pressure | Rated Capacity | Operating Temp Range | Rated Flow | Rated Pressure Drop (At Rated Flow) |
| PC600-P | PC600-R | 25-80 PSI | 662,400 gallons | 36°F – 120°F | 8 GPM | 13 PSI |
| PC1000-P | PC1000-R | 25-80 PSI | 1,324,800 gallons | 36°F – 120°F | 12 GPM | 13 PSI |
This system has been tested according to NSF/ANSI 42 for the reduction of the substances listed below. The concentration of the indicated substances in the water entering the system was reduced to a concentration less than or equal to the permissible limit for water leaving the system, as specified in NSF/ANSI 42.
| NSF/ANSI 42 | Influent Challenge Chlorine | Minimum Required Reduction | Average Reduction % | Results |
| Chlorine Reduction, Free Available | 2 mg/L ±10% | ≥50% | 95.93% | Pass |
| Performance Data – Pentair Whole House Filters | |||||
| Model | Accumulated Volume (Gallons) | Chlorine, Free Available (mg/L) | Flow Rate (GPM) | Reduction % | |
| Influent | Effluent 1 | ||||
| PC600-P | 650,885 | 2.05 | 0.07 | 8 GPM | 96.6% |
| PC1000-P | 1,301,770 | 2.05 | 0.07 | 12 GPM | 96.6% |
Statements: Testing was performed under standard laboratory conditions, actual performance may vary. Filter usage must comply with all state and local laws. Filter is only to be used with cold water. All contaminants reduced by this filter are listed. Not all contaminants listed may be present in your water. Filter does not remove all contaminants that may be present in tap water. See owner’s manual for general installation conditions and needs as well as manufacturer’s limited warranty.
2361 Mason Ave | Suite 100 | Daytona Beach, FL 32117 | United States
P: 877.842.1635 | Technical Services: 877.842.1635 | pentair.com/homewater
©2021 Pentair. All indicated Pentair trademarks and logos are property of Pentair. Third party registered and unregistered trademarks and logos are the property of their respective owners.




































