
BN-6 FID Bench + Chin Up
+ Dip Attachment
USER MANUAL

The product may vary slightly from the item pictured due to model upgrades. Read all instructions carefully before using this product. Retain this owner’s manual for future reference.
NOTE:
This manual may be subject to updates or changes. Up to date manuals are available through our website at www.lifespanfitness.com.au
IMPORTANT SAFETY INSTRUCTIONS
WARNING: Read all instructions before using this product.
Total Weight capacity: 250KG.
Please keep this manual with you at all times
- It is important to read this entire manual before assembling and using the equipment. Safe and effective use can only be achieved if the equipment is assembled, maintained, and used properly. Please note: It is your responsibility to ensure that all users of the equipment are informed of all warnings and precautions.
- Before starting any exercise program, you should consult your doctor to determine if you have any medical or physical conditions that could put your health and safety at risk, or prevent you from using the equipment properly. Your doctor’s advice is essential if you are taking medication that affects your heart rate, blood pressure or cholesterol level.
- Be aware of your body’s signals. Incorrect or excessive exercise can damage your health. Stop exercising if you experience any of the following symptoms: pain, tightness in your chest, irregular heartbeat, extreme shortness of breath, lightheadedness, dizziness, or feelings of nausea. If you do experience any of these symptoms, you should consult your doctor before continuing with your exercise program.
- Keep children and pets away from the equipment. This equipment is designed for adult use only.
- Use the equipment on a solid, flat-level surface with a protective cover for your floor or carpet. To ensure safety, the equipment should have at least 2 meters of free space around it.
- Before using the equipment, check that the nuts and bolts are securely tightened. If you hear any unusual noises coming from the equipment during use and assembly, stop immediately. Do not use the equipment until the problem has been rectified.
- Wear suitable clothing while using the equipment. Avoid wearing loose clothing that may get caught in the equipment or that may restrict or prevent movement.
- Care must be taken when lifting or moving the equipment so as not to injure your back.
- Always keep this instruction manual and assembly tools at hand for reference.
- The equipment is not suitable for therapeutic use.
CARE INSTRUCTIONS
- Lubricate moving joints with grease after periods of usage.
- Be careful not to damage plastic or metal parts of the machine with heavy or sharp objects.
- The machine can be kept clean by wiping it down using a dry cloth.
BN-6 PARTS LIST
| Key No. | Description | Qty. | |
| 1 | Main Tube | 1 | |
| 2 | Seat Pad | 1 | |
| 3 | Back Frame | 1 | |
| 4 | Support Frame | 1 | |
| 5 | Cushion | 1 | |
| 6 | Support Plates | 2 | |
| 7 | Connecting Bolt | 2 | |
| 8 | Double Screw Bolt | 1 | |
| 9 | Adjustable Bar | 2 | |
| 10 | Axis | 1 | |
| 11 | Washer | Φ10 | 26 |
| 12 | Nuts | M10 | 4 |
| 13 | Hex Bolt | M10x95mm | 2 |
| 14 | Hex Bolt | M10x20mm | 18 |
| 15 | Washer | Φ8 | 10 |
| 16 | Hex Bolt | M8x16mm | 10 |
| 17 | Bracket | 1 | |
| 18 | Wheels | 2 | |
| 19 | Hex Bolt | M10x45mm | 2 |
| 20 | Tube Plug | 50x70mm | 2 |
| 21 | Tube Plug | 50x70mm | 2 |
| 22 | Seat Plate | 1 | |
| 23 | Ball Head Rod | 1 | |
BN-6 ASSEMBLY INSTRUCTIONS

STEP 1
a. Secure 1 x Main Tube (#1) to the 1 x Back Frame (#3) with:
- 6 x Hex Bolts M10 x 20mm (#14)
- 6 x Washers Φ10 (#11)
b. Secure 1 x Main Tube (#1) to the 1 x Bracket (#17) with: - 6 x Hex Bolts M10 x 20mm (#14)
- 6 x Washers Φ10 (#11)
c. Attach 2 x Wheels (#18) to the 1 x Back Frame (#3) with: - 2 x Hex Bolts M10 x 45mm (#19)
- 4 x Washers Φ10 (#11)
- 2 x Nuts (#12)
d. Attach 2 x Tube Plug 50 x 70mm (#20) to 1 x Bracket (#17)

STEP 2
a. Attach the 1 x Seat Plate (#22) to 1 x Main Tube (#1) with:
- 1 x Hex Bolt M10 x 95mm (#13)
- 2 x Washers Φ10 (#11)
- 1 x Nuts M10 (#12)
- 1 x Ball Head Rod (#23)
NOTE: the Seat Plate is adjustable through the Ball Head Rod (#23).
b. Secure 1 x Axis (#10) into 1 x Support Frame (#4) with: - 2 x Adjustable Bar (#9)
c. Secure 1 x Support Frame (#4) to the 1 x Main Tube (#1) with: - 2 x Hex Bolt M10 x 20mm (#14)
- 2 x Washers Φ10 (#11)
d. Attach 2 x Support Plates (#6) together with: - 2 x Connecting Bolt (#7)
- 4 x Hex Bolt M10 x 20mm (#14)
- 4 x Washers Φ10 (#11)
e. Secure 2 x Support Plates (#6) to the 1 x Support Frame (#4) with: - 1 x Hex Bolts M10 x 95mm (#13)
- 2 x Washers Φ10 (#11)
- 1 x Nuts M10 (#12)

STEP 3
a. Secure 1 x Seat Pad (#2) to 1 x Seat Plate (#22) with:
- 4 x Hex bolts M8 x 16mm (#16)
- 4 x Washers Φ8 (#15)
b. Secure 1 x Cushion (#5) to Support Frame (#4) with: - 6 x Hex Bolts M8 x 16mm (#16)
- 6 x Washers Φ8 (#15)
BN-6 CHIN-UP PARTS LIST
| No. | Description | Qty. | |
| 4 | Support Frame | 1 | |
| 14 | Knot | 1 | |
| 17 | Washer | Φ10 | 8 |
| 18 | Nuts | M10 | 4 |
| 33 | Pull Up Tube | 1 | |
| 34 | Pull Up Bar | 1 | |
| 35 | Hex Bolt | M10 x 65mm | 4 |
| 36 | Plastic Bushing | 2 | |
| 37 | Tube Plug | 1 | |
BN-6 CHIN-UP ASSEMBLY INSTRUCTIONS

STEP 1
a. Secure 1 x Pull Up Bar (#34) and 1 x Pull Up Tube (#33) with:
- 4 x Hex Bolts M10 x 65mm (#35)
- 8 x Washers Φ10 (#17)
- 4 x Nuts M10 (#18)
b. Attach 1 x Tube Plug (#37) to 1 x Pull Up Tube (#33).
Attach 2 x Plastic Bushing (#36) to 1 x Pull Up Bar (#34).

STEP 2
a. Secure 1 x Pull Up Tube (#33) to 1 x Support Frame (#4) with:
- 1 x Knot (#14)
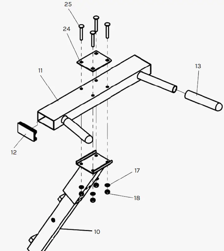
BN-6 DIP PARTS LIST
| No. | Description | Qty. | |
| 4 | Support Frame | 1 | |
| 10 | Chin Tube | 1 | |
| 11 | Handhold Frame | 1 | |
| 12 | Plastic Plug | 2 | |
| 13 | Plastic Bushing | 2 | |
| 14 | Knot | 1 | |
| 17 | Washer | Φ10 | 4 |
| 18 | Nuts | M10 | 4 |
| 24 | Bracket | 1 | |
| 25 | Carriage Bolt | M10x70mm | 4 |
BN-6 DIP ASSEMBLY INSTRUCTIONS

STEP 1
a. Secure 1 x Handhold Frame (#11) and 1 x Chin Tube (#10) with:
- 4 x Carriage Bolts M10 x 70mm (#25)
- 4 x Washers Φ10 (#17)
- 4 x Nuts M10 (#18)
- 1 x Bracket (#24)
b. Place the 2 x Plastic Plug (#12) onto 1 x Handhold Frame (#11).
Place 2 x Plastic Bushing (#13) onto 1 x Handhold Frame (#11).

STEP 2
a. Secure 1 x Chin Tube (#10) to 1 x Support Frame (#4) with:
- 1 x Knot (#14)
EXERCISE GUIDE
PLEASE NOTE:
Before beginning any exercise program, consult your physician. This is important for individuals over the age of 45 or with pre-existing health problems.
The pulse sensors are not medical devices. Various factors, including the user’s movement, may affect the accuracy of heart rate readings. The pulse sensors are intended only as an exercise aid in determining heart rate trends in general.
Exercising is great way to control your weight, improve your fitness and reduce the effect of aging and stress. The key to a healthy lifestyle is to make exercise a regular and enjoyable part of your everyday life.
The condition of your heart and lungs and how efficient they are in delivering oxygen via your blood to your muscles is an important factor in your fitness. Your muscles use this oxygen to provide enough energy for daily activity. This is called aerobic activity. When you are fit, your heart will not have to work so hard. It will pump a lot fewer times per minute, reducing the strain on your heart. So as you can see, the fitter you are, the healthier and greater you will feel.

WARM-UP
Start each workout with 5 to 10 minutes of stretching and some light exercises. A proper warm-up increases your body temperature, heart rate, and circulation in preparation for exercise. Ease into your exercise.
After warming up, increase the intensity of your desired exercise program. Be sure to maintain your intensity for maximum performance. Breathe regularly and deeply as you exercise.
COOLDOWN
Finish each workout with a light jog or walk for at least 1 minute. Then complete 5 to 10 minutes of stretching to cool down. This will increase the flexibility of your muscles and will help prevent post-exercise problems.
WORKOUT GUIDELINES

This is how your pulse should behave during general fitness exercise. Remember to warm up and cool down for a few minutes.
WARRANTY
AUSTRALIAN CONSUMER LAW
Many of our products come with a guarantee or warranty from the manufacturer. In addition, they come with guarantees that cannot be excluded under the Australian Consumer Law. You are entitled to a replacement or refund for a major failure and compensation for any other reasonably foreseeable loss or damage.
You are entitled to have the goods repaired or replaced if the goods fail to be of acceptable quality and the failure does not amount to a major failure. Full details of your consumer rights may be found at www.consumerlaw.gov.au.
Please visit our website to view our full warranty terms and conditions: http://www.lifespanfitness.com.au/warranty-repairs
WARRANTY AND SUPPORT
Any claim against this warranty must be made through your original place of purchase.
Proof of purchase is required before a warranty claim may be processed.
If you have purchased this product from the Official Lifespan Fitness website, please visit
https://lifespanfitness.com.au/warranty-form
For support outside of warranty, if you wish to purchase replacement parts or request a repair or service, please visit https://lifespanfitness.com.au/warranty-form and fill in our Repair/Service Request Form or Parts Purchase Form. Scan this QR code with your device to go to lifespanfitness.com.au/warranty-form

https://www.lifespanfitness.com.au/pages/product-support-form

















