
INSTRUCTION MANUAL
Cordless Multi Function Power Head
XUX02

IMPORTANT: Read Before Using.
SPECIFICATIONS
| Model: | XUX02 | |
| No load speed (without attachment) | Low | 0 – 6,800/min |
| High | 0 – 9,700/min | |
| Overall length | 977 mm (38-1/2″) | |
| Rated voltage | D.C. 18 V | |
| Net weight | 4.0 kg – 10.3 kg (8.8 lbs – 22.7 Ibs) | |
- Due to our continuing program of research and development, the specifications herein are subject to change without notice.
- Specifications may differ from country to country.
- The weight may differ depending on the attachment(s), including the battery cartridge. The lightest and heaviest combination, according to EPTA-Procedure 01/2014, are shown in the table.
Applicable battery cartridge and charger
| Battery cartridge | BL1820B / BL1830 / BL1830B / BL1840B / BL1850B / BL1860B |
| Charger | DC18RC / DC18RD / DC18RE / DC18SD / DC18SE / DC18SF /DC18SH |
- Some of the battery cartridges and chargers listed above may not be available depending on your region of residence.
WARNING: Only use the battery cartridges and chargers listed above. Use of any other battery cartridges and chargers may cause injury and/or fire.
Recommended battery adapter
| Battery adapter | PDC01 |
- The battery adapter(s) listed above may not be available depending on your region of residence.
- Before using the battery adapter, read instruction and cautionary markings on the battery adapter.
No load speed with attachment
| Model | Rotation speed | |
| Low | High | |
| EM409MP | 0 – 5,000 /min | 0 – 7,000 /min |
| EN401MP, EN410MP, EN420MP (Strokes per minute) | 0 – 2,800 /min | 0 – 4,000 /min |
| EY401MP (chain speed) | 0 – 14 m/s | 0 – 20 m/s |
| KR400MP | 0 – 200 /min | 0 – 280 /min |
| KR401MP | 0 – 160 /min | 0 – 230 /min |
| EE400MP | 0 – 3,300 /min | 0 – 4,700 /min |
| EJ400MP | 0 – 2,000 /min | 0 – 2,800 /min |
| BR400MP | 0 – 160 /min | 0 – 230 /min |
| SW400MP | 0 – 160 /min | 0 – 230 /min |
Approved attachment
| Type | Model |
| Grass trimmer attachment | EM409MP |
| Hedge trimmer attachment | EN401MP, EN410MP |
| Ground trimmer attachment | EN420MP |
| Pole saw attachment | EY401MP |
| Cultivator attachment | KR400MP, KR401MP |
| Edger attachment | EE400MP |
| Coffee harvester attachment | EJ400MP |
| Shaft extension attachment | LE400MP |
| Power brush attachment | BR400MP |
| Power sweep attachment | SW400MP |
Intended use
This cordless multi-function power head is intended for driving an approved attachment listed in the section “SPECIFICATIONS” of this instruction manual. Never use the unit for the other purpose.
WARNING: Read the instruction manual of the attachment as well as this instruction manual before using. Failure to follow the warnings and instructions may result serious injury.
SAFETY WARNINGS
General power tool safety warnings
WARNING: Read all safety warnings, instructions, illustrations, and specifications provided with this power tool. Failure to follow all instructions listed below may result in electric shock, fire, and/or serious injury.
Save all warnings and instructions for future reference.
The term “power tool” in the warnings refers to your mains-operated (corded) power tool or battery-operated (cordless) power tool. Work area safety
- Keep work area clean and well lit. Cluttered or dark areas invite accidents.
- Do not operate power tools in explosive atmospheres, such as in the presence of flammable liquids, gases or dust. Power tools create sparks which may ignite the dust or fumes.
- Keep children and bystanders away while operating a power tool. Distractions can cause you to lose control.
Electrical Safety
- Power tool plugs must match the outlet. Never modify the plug in any way. Do not use any adapter plugs with earthed (grounded) power tools. Unmodified plugs and matching outlets will reduce risk of electric shock.
- Avoid body contact with earthed or grounded surfaces, such as pipes, radiators, ranges and refrigerators. There is an increased risk of electric shock if your body is earthed or grounded.
- Do not expose power tools to rain or wet conditions. Water entering a power tool will increase the risk of electric shock.
- Do not abuse the cord. Never use the cord for carrying, pulling or unplugging the power tool. Keep cord away from heat, oil, sharp edges or moving parts. Damaged or entangled cords increase the risk of electric shock.
- When operating a power tool outdoors, use an extension cord suitable for outdoor use. Use of a cord suitable for outdoor use reduces the risk of electric shock.
- If operating a power tool in a damp location is unavoidable, use a ground fault circuit interrupter (GFCI) protected supply. Use of a GFCI reduces the risk of electric shock.
- Power tools can produce electromagnetic fields (EMF) that are not harmful to the user. However, users of pacemakers and other similar medical devices should contact the maker of their device and/or doctor for advice before operating this power tool.
Personal Safety
- Stay alert, watch what you are doing and use common sense when operating a power tool. Do not use a power tool while you are tired or under the influence of drugs, alcohol or medication. A moment of inattention while operating power tools may result in serious personal injury.
- Use personal protective equipment. Always wear eye protection. Protective equipment such as dust mask, non-skid safety shoes, hard hat, or hearing protection used for appropriate conditions will reduce personal injuries.
- Prevent unintentional starting. Ensure the switch is in the off-position before connecting to power source and/or battery pack, picking up or carrying the tool. Carrying power tools with your finger on the switch or energising power tools that have the switch on invites accidents.
- Remove any adjusting key or wrench before turning the power tool on. A wrench or a key left attached to a rotating part of the power tool may result in personal injury.
- Do not overreach. Keep proper footing and balance at all times. This enables better control of the power tool in unexpected situations.
- Dress properly. Do not wear loose clothing or jewellery. Keep your hair, clothing and gloves away from moving parts. Loose lothes, jewellery or long hair can be caught in moving parts.
- If devices are provided for the connection of dust extraction and collection facilities, ensure these are connected and properly used. Use of dust collection can reduce dust-related hazards.
- Do not let familiarity gained from frequent use of tools allow you to become complacent and ignore tool safety principles. A careless action can cause severe injury within a fraction of a second.
- Always wear protective goggles to protect your eyes from injury when using power tools. The goggles must comply with ANSI Z87.1 in the USA. It is an employer’s responsibility to enforce the use of appropriate safety protective equipment by the tool operators and by other persons in the immediate working area.
Power tool use and care
- Do not force the power tool. Use the correct power tool for your application. The correct power tool will do the job better and safer at the rate for which it was designed.
- Do not use the power tool if the switch does not turn it on and off. Any power tool that cannot be controlled with the switch is dangerous and must be repaired.
- Disconnect the plug from the power source and/or remove the battery pack, if detachable, from the power tool before making any adjustments, changing accessories, or storing power tools. Such preventive safety measures reduce the risk of starting the power tool accidentally.
- Store idle power tools out of the reach of children and do not allow persons unfamiliar with the power tool or these instructions to operate the power tool. Power tools are dangerous in the hands of untrained users.
- Maintain power tools and accessories. Check for misalignment or binding of moving parts, breakage of parts and any other condition that may affect the power tool’s operation. If damaged, have the power tool repaired before use. Many accidents are caused by poorly maintained power tools.
- Keep cutting tools sharp and clean. Properly maintained cutting tools with sharp cutting edges are less likely to bind and are easier to control.
- Use the power tool, accessories and tool bits etc. in accordance with these instructions, taking into account the working conditions and the work to be performed. Use of the power tool for operations different from those intended could result in a hazardous situation.
- Keep handles and grasping surfaces dry, clean and free from oil and grease. Slippery handles and grasping surfaces do not allow for safe handling and control of the tool in unexpected situations.
- When using the tool, do not wear cloth work gloves which may be entangled. The entanglement of cloth work gloves in the moving parts may result in personal injury.
Battery tool use and care
- Recharge only with the charger specified by the manufacturer. A charger that is suitable for one type of battery pack may create a risk of fire when used with another battery pack.
- Use power tools only with specifically designated battery packs. Use of any other batterypacks may create a risk of injury and fire.
- When battery pack is not in use, keep it away from other metal objects, like paper clips, coins, keys, nails, screws or other small metal objects, that can make a connection from one terminal to another. Shorting the battery terminals together may cause burns or a fire.
- Under abusive conditions, liquid may be ejected from the battery; avoid contact. If contact accidentally occurs, flush with water. If liquid contacts eyes, additionally seek medical help. Liquid ejected from the battery may cause irritation or burns.
- Do not use a battery pack or tool that is damaged or modified. Damaged or modified batteries may exhibit unpredictable behaviour resulting in fire, explosion or risk of injury.
- Do not expose a battery pack or tool to fire or excessive temperature. Exposure to fire or temperature above 130 °C may cause explosion.
- Follow all charging instructions and do not charge the battery pack or tool outside the temperature range specified in the instructions. Charging improperly or at temperatures outside the specified range may damage the battery and increase the risk of fire.
Service
- Have your power tool serviced by a qualified repair person using only identical replacement parts. This will ensure that the safety of the power tool is maintained.
- Never service damaged battery packs. Service of battery packs should only be performed by the manufacturer or authorized service providers.
- Follow instruction for lubricating and changing accessories.
- Do not modify or attempt to repair the appliance or the battery pack except as indicated in the instructions for use and care.
Additional safety instructions
- Always keep your hands, face, and clothes away from the cutting tool when it is rotating. Failure to do so may cause personal injury.
- During operation, keep bystanders or animals at least 15 m away from the tool. Stop the tool as soon as someone approaches.
- During operation, never stand on an unstable or slippery surface or a steep slope. During the cold season, beware of ice and snow and always ensure secure footing.
- Never work on a ladder or tree to avoid loss of control.
- Before operation, examine the work area for stones or other solid objects. They can be thrown or cause dangerous kickback and result in serious injury and/or property damage.
- When using cutting blades, avoid kickback and always prepare for an accidental kickback. See the section for Kickback.
- When you leave the tool, even if it is a short time, always remove the battery cartridge. The unattended tool with the battery cartridge installed may be used by unauthorized person and cause serious accident.
- Before doing any maintenance or repair work or cleaning the tool, always turn it off and remove the battery cartridge.
- Before storing the tool, perform full cleaning and maintenance. Remove the battery cartridge. Attach the cover to the cutting blade.
- Store the tool in a dry and high or locked location out of reach of children.
- When touching the cutting blade, wear protective gloves. Cutting blades can cut barehands severely.
- When handling a cutter blade, always wear gloves and put the blade cover on the blade.
- When not in use, attach the blade cover onto the blade. Remove the cover before operation.
- Before transporting the tool, turn it off and remove the battery cartridge. Attach the cover to the cutting blade.
- Before starting the tool, be sure that the cutting tool is not touching the ground and other obstacles such as a tree.
- The cutting ool has to be equipped with the guard. Never run the tool with damaged guardsor without guards in place!
- Check the cutting attachment frequently during operation for cracks or damages. Before the inspection, remove the battery cartridge and wait until the cutting attachment stops completely. Replace damaged cutting attachment immediately, even if it has only superficial cracks.
- Do not operate the tool in bad weather or if there is a risk of lightning.
- Make sure there are no electrical cables, water pipes, gas pipes, etc. that could cause a hazard if damaged by use of the tool.
- During operation always hold the tool with both hands. Never hold the tool with one hand during use.
- Keep handles dry, clean, and free from oil and grease. Keep all cooling air inlets clear of debris.
- During operation, use the shoulder harness. Keep the tool on your right side firmly.
- Do not touch the gear case during and immediately after the operation. The gear case becomes hot during operation and can cause urn injury.
- Take a rest to prevent loss of control caused by fatigue. We recommend taking a 10 to 20-minute rest every hour.
- Avoid dangerous environment. Don’t use the tool in dump or wet locations or expose it to rain. Water entering the tool will increase the risk of electric shock.
- Do not dispose of the battery(ies) in a fire. The cell may explode. Check with local codes for possible special disposal instructions.
- Do not open or mutilate the battery(ies). Released electrolyte is corrosive and may cause damage to the eyes or skin. It may be toxic if swallowed.
- Do not charge battery in rain, or in wet locations.
Personal protective equipment

- Wear safety helmet, protective goggles and protective gloves to protect yourself from flying debris or falling objects.
- Wear ear protection such as ear muffs to prevent hearing loss.
- Wear proper clothing and shoes for safe operation, such as a work overall and sturdy, non-slip shoes. Do not wear loose clothing or jewelry. Loose clothes, jewelry or long hair can be caught in moving parts.
- When touching the cutting blade, wear protective gloves. Cutting blades can cut bare hands severely.
Kickback (Blade thrust)
- Kickback (blade thrust) is a sudden reaction to a caught or bound cutting blade. Once it occurs, the tool is thrown sideway or toward the operator at great force and it may cause serious injury.
- Kickback occurs particularly when applying the blade segment between 12 and 2 o’clock to solids, bushes and trees with 3 cm or larger diameter.

- To avoid kickback:
- Apply the segment between 8 and 11 o’clock.
- Never apply the segment between 12 and 2 o’clock.
- Never apply the segment between 11 and 12 o’clock and between 2 and 5 o’clock, unless the operator is well trained and experienced and does it at his/her own risk.
- Never use cutting blades close to solids, such as fences, walls, tree trunks and stones.
- Never use cutting blades vertically, for such operations as edging and trimming hedges.

Vibration
- People with poor circulation who are exposedto excessive vibration may experience injury to blood vessels or the nervous system. Vibration may cause the following symptoms to occur in the fingers, hands or wrists: “Falling asleep” (numbness), tingling, pain, stabbing sensation, alteration of skin color or of the skin. If anyof these symptoms occur, see a physician!
- To reduce the risk of “white finger disease”, keep your hands warm during operation and well maintain the tool and accessories.
Symbols
The followings show the symbols used for tool.
V | volts |
| direct current |
Important safety instructions for battery cartridge
- Before using battery cartridge, read all instructions and cautionary markings on (1) battery charger, (2) battery, and (3) product using battery.
- Do not disassemble or tamper the battery cartridge. It may result in a fire, excessive heat, or explosion.
- If operating time has become excessively shorter, stop operating immediately. It may result in a risk of overheating, possible burns and even an explosion.
- If electrolyte gets into your eyes, rinse them out with clear water and seek medical attention right away. It may result in loss of your eyesight.
- Do not short the battery cartridge:
- Do not touch the terminals with any conductive material.
- Avoid storing battery cartridge in a container with other metal objects such as nails, coins, etc.
- Do not expose battery cartridge to water or rain. A battery short can cause a large current flow, overheating, possible burns and even a breakdown.
- Do not store and use the tool and battery cartridge in locations where the temperature may reach or exceed 50 °C (122 °F).
- Do not incinerate the battery cartridge even if it is severely damaged or is completely worn out. The battery cartridge can explode in a fire.
- Do not nail, cut, crush, throw, drop the battery cartridge, or hit against a hard object to the battery cartridge. Such conduct may result in a fire, excessive heat, or explosion.
- Do not use a damaged battery.
- The contained lithium-ion batteries are subject to the Dangerous Goods Legislation requirements. For commercial transports e.g. by third parties, forwarding agents, special requirement on packaging and labeling must be observed. For preparation of the item being hipped, consulting an expert for hazardous material is required. Please also observe possibly more detailed national regulations. Tape or mask off open contacts and pack up the battery in such a manner that it cannot move around in the packaging.
- When disposing the battery cartridge, remove it from the tool and dispose of it in a safe place. Follow your local regulations relating to disposal of battery.
- Use the batteries only with the products specified by Makita. Installing the batteries to non-compliant products may result in a fire, excessive heat, explosion, or leak of electrolyte.
- If the tool is not used for a long period of time, the battery must be removed from the tool.
- During and after use, the battery cartridge may take on heat which can cause burns or low-temperature burns. Pay attention to the handling of hot battery cartridges.
- Do not touch the terminal of the tool immediately after use as it may get hot enough to cause burns.
- Do not allow chips, dust, or soil stuck into the terminals, holes, and grooves of the battery cartridge. It may result in poor performance or breakdown of the tool or battery cartridge.
- Unless the tool supports the use near high-voltage electrical power lines, do not use the battery cartridge near high-voltage electrical power lines. It may result in a malfunction or breakdown of the tool or battery cartridge.
- Keep the battery away from children.
SAVE THESE INSTRUCTIONS.
CAUTION: Only use genuine Makita batteries. Use of non-genuine Makita batteries, or batteries that have been altered, may result in the battery bursting causing fires, personal injury and damage. It will also void the Makita warranty for the Makita tool and charger.
Tips for maintaining maximum battery life
- Charge the battery cartridge before completely discharged. Always stop tool operation and charge the battery cartridge when you notice less tool power.
- Never recharge a fully charged battery cartridge. Overcharging shortens the battery service life.
- Charge the battery cartridge with room temperature at 10 °C – 40 °C (50 °F – 104 °F). Let a hot battery cartridge cool down before charging it.
- When not using the battery cartridge, remove it from the tool or the charger.
- Charge the battery cartridge if you do not use it for a long period (more than six months).
PARTS DESCRIPTION

| 1 | Battery cartridge | 2 | Lock-off lever | 3 | Switch trigger | 4 | Hanger |
| 5 | Handle | 6 | Release button | 7 | Barrier | 8 | Indicator lamps |
| 9 | Main power button | 10 | Shoulder harness | – | – | – | – |
FUNCTIONAL DESCRIPTION
WARNING: Always be sure that the tool is switched off and the battery cartridge is removed before adjusting or checking function on the tool. Failure to switch off and remove the battery cartridge may result in serious personal injury from accidental start-up.
Installing or removing battery cartridge
CAUTION: Always switch off the tool before installing or removing of the battery cartridge.
CAUTION: Hold the tool and the battery cartridge firmly when installing or removing battery cartridge. Failure to hold the tool and the battery cartridge firmly may cause them to slip off your hands and result in damage to the tool and battery cartridge and a personal injury.

► 1. Red indicator 2. Button 3. Battery cartridge
To remove the battery cartridge, slide it from the tool while sliding the button on the front of the cartridge. To install the battery cartridge, align the tongue on the battery cartridge with the groove in the housing and slip it into place. Insert it all the way until it locks in place with a little click. If you can see the red indicator on the upper side of the button, it is not locked completely.
CAUTION: Always install the battery cartridge fully until the red indicator cannot be seen. If not, it may accidentally fall out of the tool, causing injury to you or someone around you.
CAUTION: Do not install the battery cartridge forcibly. If the cartridge does not slide in easily, it is not being inserted correctly.
Tool/battery protection system
The tool is equipped with a tool/battery protection system. This system automatically cuts off power to the motor to extend tool and battery life. The tool will automatically stop during operation and the indicator lamps light up if the tool is placed under one of the following conditions:
► 1. Indicator lamps
| Indicator lamps | Protection status | |||
| Color | ||||
| Green | Overload | |||
| Red | Overheat | |||
| Red | Over- discharge | |||
Overload protection
If the tool or battery gets into one of the following situation, the tool automatically stops and the indicator lamp starts blinking in green:
- The tool or battery is overloaded by entangled weeds or other debris.
- The tool is locked.
- The main power button is turned on while the switch trigger is being pulled.
In this situation, release the switch trigger and remove the cause of overload if necessary. After that, pull the switch trigger again to resume.
CAUTION: Before you remove the cause of overload, be sure to turn the tool off.
Overheat protection for tool or battery
When the tool or battery cartridge is overheated, the tool stops automatically and the indicator lamp lights up in red. Let the tool and/or battery cool down before turning the tool on again.
Over-discharge protection
When the battery capacity becomes low, the tool stops automatically. The indicator lamp starts blinking in red. If the tool does not operate even when the switches are operated, remove the battery cartridge from the tool and charge it.
Indicating the remaining battery capacity
Only for battery cartridges with the indicator

► 1. Indicator lamps 2. Check button
Press the check button on the battery cartridge to indicate the remaining battery capacity. The indicator lamps light up for a few seconds.
| Indicator lamps | Remaining capacity | ||
| 75% to 100% | |||
| 50% to 75% | |||
| 25% to 50% | |||
| 0% to 25% | |||
| Charge the battery. | |||
| The battery may have malfunctioned. | |||
NOTE: Depending on the conditions of use and the ambient temperature, the indication may differ slightlyfrom the actual capacity.
NOTE: The first (far left) indicator lamp will blink whenthe battery protection system works.
Main power switch
WARNING: Always turn off the main power switch when not in use.
Press the main power button to turn on the tool. To turn off the tool, press and hold the main power button until the indicator lamps go off.

► 1. Indicator lamps 2. Main power button
NOTE: The indicator lamp brinks if the switch trigger is pulled under unoperatable conditions. The lamp blinks if you turn on the main power switch while holding down the lock-off lever and the switch trigger.
NOTE: This tool employs the auto power-off function. To avoid unintentional start up, the main power switch will automatically shut down when the switch trigger is not pulled for a certain period after the main power switch is turned on.
Switch action
WARNING: For your safety, this tool is equipped with lock-off lever which prevents the tool from unintended starting. NEVER use the tool if it runs when you simply pull the switch trigger without pressing the lock-off lever. Return the tool to our authorized service center for proper repairs BEFORE further usage.
WARNING: NEVER tape down or defeat pur- pose and function of lock-off lever.
CAUTION: Before installing the battery car- tridge into the tool, always check to see that the switch trigger actuates properly and returns to the “OFF” position when released.
CAUTION: Never put your finger on the main power button and switch trigger when carrying the tool. The tool may start unintentionally and cause injury.
NOTICE: Do not pull the switch trigger hard without pressing the lock-off lever. This can cause switch breakage.
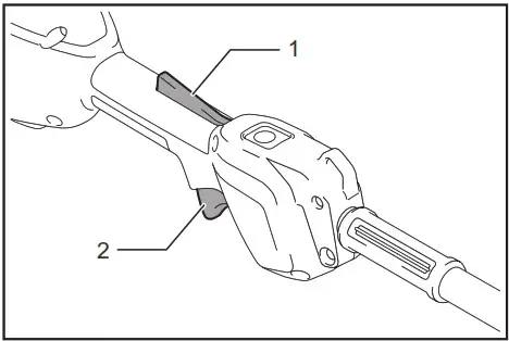
To prevent the switch trigger from being accidentally pulled, a lock-off lever is provided.

► 1. Lock-off lever 2. Switch trigger
To start the tool, turn on the main power switch and grasp the handle (the lock-off lever is released by the grasp), and then pull the switch trigger. Tool speed is increased by increasing the pressure on the switch trigger. To stop the tool, release the switch trigger.
Speed adjusting
You can select the tool speed by tapping the main power button. Each time you tap the main power button, the level of speed will change.

► 1. Indicator lamps 2. Main power button
| Indicator lamps | Mode |
| High | |
| Low |
Electric brake
This tool is equipped with an electric brake. If the tool consistently fails to quickly stop after the switch trigger is released, have the tool serviced at our service center.
CAUTION: This brake system is not a substi- tute for the protector. Never use the tool without the protector. An unguarded cutting tool may result in serious personal injury.
Electronic torque control function
The tool electronically detects a sudden drop in the rotation speed which may cause a kickback. In this situation, the tool automatically stops to prevent further rotation of cutting tool. To restart the tool, release the switch trigger. Clear the cause of sudden drop in the rotation speed and then turn the tool on.
NOTE: This function is not a preventive measure for kickbacks.
ASSEMBLY
WARNING: Always be sure that the tool is switched off and battery cartridge is removed before carrying out any work on the tool. Failure to switch off and remove the battery cartridge may result in serious personal injury from accidental start-up.
WARNING: Never start the tool unless it is completely assembled. Operation of the tool in a partially assembled state may result in serious personal injury from accidental start-up.
Mounting the handle
Attach the handle with supplied clamps and bolts. Make sure that the handle is located between the spacer and the arrow mark. Do not remove or shrink the spacer.
► 1. Clamp 2. Hex socket bolt 3. Handle 4. Arrow mark 5. Spacer
When using the following attachments, be sure to attach the barrier to the handle using the screw on the barrier.
- Grass trimmer attachment *
- Edger attachment
- Only when metal blade is attached.

► 1. Barrier 2. Screw
Mounting the attachment pipe
CAUTION: Always check that the attachment pipe is secured after installation. Improper installation may cause the attachment falling off from the power unit and cause personal injury. Mount the attachment pipe to the power unit.
- Turn the lever of the power unit toward the attachment side.
► 1. Lever - Remove the cap of the attachment. Align the pin with the arrow mark and insert the attachment pipe until the release button pops up.
► 1. Release button 2. Arrow mark 3. Pin - Turn the lever toward the power unit side.
► 1. Lever
Make sure that the surface of the lever is parallel to the pipe. To remove the pipe, turn the lever toward the attachment side and pull the pipe out while pressing down the release button.
► 1. Release button 2. Lever 3. Pipe
Adjusting the handle position
Adjust the handle position to obtain comfortable handling of the tool. Loosen the hex socket head bolt on the handle. Move the handle to a comfortable working position and then tighten the bolt.

► 1. Handle 2. Hex socket head bolt
Attaching the shoulder harness
WARNING: Be extremely careful to maintain control of the tool at all times. Do not allow the tool to be deflected toward you or anyone in the work vicinity. Failure to keep control of the tool could result in serious injury to the bystander and the operator.
CAUTION: When you use the tool in combination of the backpack-type power supply such as portable power pack, do not use the shoulder harness included in the tool package, but use the hanging band recommended by Makita. If you put on the shoulder harness included in the tool package and the shoulder harness of the backpack-type power supply at the same time, removing the tool or backpack-type power supply is difficult in case of an emergency, and it may cause an accident or injury. For the recommended hanging band, ask Makita Authorized Service Centers.
CAUTION: Always use the shoulder harness attached to the tool. Before operation, adjust the shoulder harness according to the user size to prevent fatigue.
CAUTION: Before operation, make sure that the shoulder harness is properly attached to the hanger on the tool.
- Wear the shoulder harness on your left shoulder.

- Clasp the hook on the shoulder strap to tool’s hanger.
► 1. Hanger 2. Hook - Adjust the shoulder harness to a comfortable working position.

The shoulder harness features a means of quick release. Simply squeeze the sides of the buckle to release the tool from the shoulder harness.

► 1. Buckle
Hex wrench storage
CAUTION: Be careful not to leave the hex wrench inserted in the tool head. It may cause injury and/or damage to the tool.
When not in use, store the hex wrench as illustrated to keep it from being lost.

► 1. Handle 2. Hex wrench
MAINTENANCE
WARNING: Always be sure that the tool is switched off and battery cartridge is removed before attempting to perform inspection or maintenance on the tool. Failure to switch off and remove the battery cartridge may result in serious personal injury from accidental start-up.
NOTICE: Never use gasoline, benzine, thinner, alcohol, or the like. Discoloration, deformation, or cracks may result.
To maintain roduct SAFETY and RELIABILITY, repairs, any other maintenance or adjustment should be performed by Makita Authorized or Factory Service Centers, always using Makita replacement parts.
Cleaning the tool
Clean the tool by wiping off dust, dirt, or cut off grass with a dry cloth or one dipped in soapy water and wrung out. To avoid overheating of the tool, be sure to remove the cut off grass or debris adhered to the vent of the tool.
Battery guard
WARNING: Do not remove the battery guard. Do not use the tool with the battery guard removed or damaged. Direct impact to the battery cartridge may cause battery malfunction and result in injury and/or fire. If the battery guard is deformed or damaged, contact your authorized service center for repairs.

► 1. Battery guard
TROUBLESHOOTING
Before asking for repairs, conduct your own inspection first. If you find a problem that is not explained in the manual, do not attempt to dismantle the tool. Instead, ask Makita Authorized Service Centers, always using Makita replacement parts for repairs.
| State of abnormality | Probable cause (malfunction) | Remedy |
| Motor does not run. | Battery cartridge is not installed. | Install the battery cartridge. |
| Battery problem (under voltage) | Recharge the battery. If recharging is not effective, replace battery. | |
| The drive system does not work correctly. | Ask your local authorized service center for repair. | |
| Motor stops running after a little use. | Battery’s charge level is low. | Recharge the battery. If recharging is not effective, replace battery. |
| Overheating. | Stop using of tool to allow it to cool down. | |
| It does not reach maximum RPM. | Battery is installed improperly. | Install the battery cartridge as described in this manual. |
| Battery power is dropping. | Recharge the battery. If recharging is not effective, replace battery. | |
| The drive system does not work correctly. | Ask your local authorized service center for repair. |
OPTIONAL ACCESSORIES
CAUTION: These accessories or attachments are recommended for use with your Makita tool specified in this manual. The use of any other accessories or attachments might present a risk of injury to persons. Only use accessory or attachment for its stated purpose. If you need any assistance for more details regarding these accessories, ask your local Makita Service Center. Refer to “Approved attachment” section for the applicable models for this tool.
- Grass trimmer attachment
- Hedge trimmer attachment
- Ground trimmer attachment
- Pole saw attachment
- Cultivator attachment
- Edger attachment
- Coffee harvester attachment
- Shaft extension attachment
- Power brush attachment
- Power sweep attachment
- akita genuine battery and charger
NOTE: Some items in the list may be included in the tool package as standard accessories. They may differ from country to country.
MAKITA LIMITED WARRANTY
Please refer to the annexed warranty sheet for the most current warranty terms applicable to this product. If annexed warranty sheet is not available, refer to the warranty details set forth at below website for your respective country. United States of America: www.makitatools.com
Canada: www.makita.ca
Other countries: www.makita.com
WARNING
Some dust created by power sanding, sawing, grinding, drilling, and other construction activities contains chemicals known to the State of California to cause cancer, birth defects, or other reproductive harm. Some examples of these chemicals are:
- lead from lead-based paints,
- crystalline silica from bricks and cement and other masonry products, and
- arsenic and chromium from chemically treated lumber.
Your risk from these exposures varies, depending on how often you do this type of work. To reduce your exposure to these chemicals: work in a well-ventilated area, and work with approved safety equipment, such as those dust masks that are specially designed to filter out microscopic particles.
Makita Corporation
3-11-8, Sumiyoshi-cho, Anjo, Aichi 446-8502 Japan
www.makita.com
885829A940 XUX02-1 EN, ESMX 20200826

► 1. Lever
► 1. Release button 2. Arrow mark 3. Pin
► 1. Lever
► 1. Hanger 2. Hook



















