![]()

WM-333 UHF Wireless Microphone
User Manual
LIMITED WARRANTY EXCLUSION OF CERTAIN DAMAGES![]()
ATTENTION
RISQUE DTLECTROCUTION!
NEPASOUVRIR!
CAUTION: TO REDUCE THE RISK OF ELECTRIC SHOCK, DO NOT REMOVE COVER (OR BACK). NO USER-SERVICEABLE PARTS INSIDE. REFER SERVICING TO QUALIFIED SERVICE PERSONNEL
This lightning flash with an arrowhead symbol within an equilateral triangle is intended to alert the user to the presence of non-insulated “dangerous voltage” within the product’s enclosure that may be of sufficient magnitude to constitute a risk of electric shock.
The exclamation point within an equilateral triangle is intended to alert the user to the presence of important operating and maintenance instructions in the literature accompanying the appliance.
WARNING
TO PREVENT FIRE OR SHOCK HAZARDS. DO NOT USE THIS PLUG WITH AN EXTENSION CORD, RECEPTACLE OR OTHER OUTLET UNLESS THE
BLADES CAN BE FULLY INSERTED TO PREVENT BLADE EXPOSURE. TO PREVENT FIRE OR SHOCK HAZARDS. DO NOT EXPOSE THIS APPLIANCE
TO RAIN OR MOISTURE. TO PREVENT ELECTRICAL SHOCK, MATCH WIDE BLADE PLUG TO WIDE SLOT AND FULLY INSERT.
Important Safety Information
Read these instructions.
- Keep these instructions.
- Heed all warnings.
- Follow all instructions.
- Do not use this apparatus near water.
- Clean only with a dry cloth.
- Do not block any ventilation openings. Install in accordance with the manufacturer’s instructions.
- Do not install near any heat sources such as radiators, heat registers, stoves, or other apparatus (including amplifiers) that produce heat.
- Do not defeat the safety purpose of the polarized or grounding type plug. A polarized plug has two blades one wider than the other. A grounding-type plug has two
blades and a third grounding prong. The wide blade or the third prong is provided for your safety. If the provided plug does not fit into your outlet, consult an electrician for the replacement of the obsolete outlet. - Protect the power cord from being walked on or pinched particularly at the plugs, convenience receptacles, and at the point where they exit from the apparatus.
- Only use attachments/accessories specified by the manufacturer.
- Use only with the cart, stand, tripod, bracket, or table specified by the manufacturer, or sold with the apparatus. When a cart is used, use caution when moving the cart/ apparatus combination to avoid injury from tip-over.
- Unplug the apparatus during lightning storms, or when unused for long periods of time.
- Refer all servicing to qualified personnel. Service is required when the apparatus has been damaged in any way, such as power supply cord or plug is damaged, liquid has been spilled or objects have fallen into the apparatus has been exposed to rain or moisture, does not operate normally, or has been dropped.
- This appliance shall not be exposed to dripping or splashing water and no object filled with liquid such as vases shall be placed on the apparatus.
- Caution-to prevents electrical shock, match wide blade plug wide slot fully insert.
- Please keep a good ventilation environment around the entire unit.
- The direct plug-in adapter is used as a disconnect device, the disconnect device shall remain readily operable. Batteries (battery pack or batteries installed) shall not be exposed to excessive heat such as sunshine, fire, or the like.
INTRODUCTION
Thank you for purchasing an innopow UHF Wireless Microphone System.
This is a 100 frequencies Channels system, ideal for church wedding small parties, and other scenes.
PACKAGE CONTENT
- Receiver with LCD screen display,volume knob switch
- 2*Antennas
- DC power adapter (13.5v,600mA)
- 1/4’’ audio cable with 1/4’’to 3.5mm audio adapter
- 4*AA Alkaline
- Optional
a. 2*Handheld microphone transmitters
b. 2*Bodypack transmitters, with 2* lapel& 1 headset mics
SYSTEM FEATURES
WM-333 RECEIVER
- Working range: up to 200 ft
- Battery Life: 15 Hours by using original AA battery
- 100 UHF frequencies channels each
- Dual rear-panel permanently swivel antennas
- Front panel with LCD displays, Channel with frequency, transfer status
- RF/AF level
- Back panel with fixed Balanced XLR 1/4’’ jacks, audio line outputs and
- DC input jack
- Externally powered with included DC adapter(13.5V,600mA)
WM-333 HANDHELD MIC TRANSMITTER
- Sleek metal housing with internal antenna for optimum aesthetics and durable long life
- Unidirectional neodymium dynamic cartridge for optimum true sound, maximum feedback rejection, and minimal handling noise
- 100 frequency channels
- Power On/Off.
- Status LCD display for frequency channel and battery level
- Convenient, economical operation with two AA alkaline batteries
WM-333B Bodypack Lap&Headset MIC TRANSMITTER
- Unidirectional neodymium Condenser cartridge for optimum true sound, maximum feedback rejection, and minimal handling noise
- 100 frequency Channels Each
- Power On/Off.
- LCD display for frequency channel and battery level
- Convenient, economical operation with two AA alkaline batteries
DUAL-CHANNEL RECEIVER FUNCTION
Front panel
- Power Switch
- IR connect (play to the infrared transmitter signal to the frequency synchronization)
- CHA menu Setting switch button
- LED Display
- CHB menu Setting switch button
- CHA volume adjust
- Incremental CHA button
- Incremental CHB button
- CHB volume adjust
Back panel
- DC) power input
- A receiving antenna jack
- CHA-channel balanced (XLR) output audio jack
- CHB-channel balanced (XLR) output audio jack
- CHA channel 1/4 inch audio output jack
- B receiving antenna jack
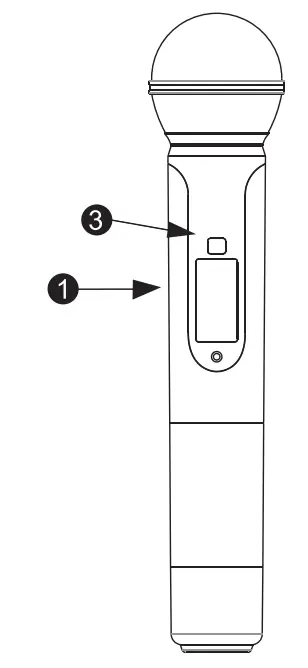
WM333 HANDHELD MIC TRANSMITTER
- Function
- LED Display
- Battery cover
- Infrared Connect
- Receives infrared beam to synchronize frequencies
- RF-power high/low switch
- Power Switch

- Microphone Battery Installation
Install batteries by unscrewing the BATTERY COMPARTMENT COVER counterclockwise and removing, Insert two fresh AA ALKALINE BATTERIES. Observe the correct polarity, and screw the cover back on the microphone. Fresh alkaline batteries can last up to 15 hours in use(depends on battery quality)
But in order to ensure optimum performance, it is recommended that you replace the batteries when the Battery level is one frame. - Operating the WM333 Handheld MIC transmitter
Turn on the WM333 by clicking the Power Button(on the bottom of the mics) and pressing for 3 secs
(Mic is on, click Power button is Mute or Unmute, Press and hold for 3 secs is On or Off )
The LCD screen will be on.
The microphone is now ready to use.
(Note: Observe care in selecting P.A volume, transmitter location, and speaker placement so that acoustic feedback (howling or screeching will be avoided.)
BODYPACK
The minnow UHF Bodypack is to be used with the lavalier & headsets microphone with mini xlr connector
- Antenna
- Operating mode indicator
- ON/MUTE/OFF button
- Microphone input
- LCD display screen
- IR window(Play to the infrared transmitter signal to the frequency synchronization)
- Battery compartment
QUICK SET UP GUIDE
Follow these instructions to get up and running in very little time.
Install 2 AA batteries. in the handheld transmitter and bodypack.
Refer to the diagrams on the equipment to ensure the batteries are positioned correctly.
Alert: incorrect installation might cause burn the microphone transmitter.
2. Attach antennas to the back of the receiver. Keep the antenna straight while screwing it into the connector(2a).After attached. bend antennas into position(2b) 
3. Connect the power supply. Plugin the DC power supply( 110-240V, DC 13.5V 600mA)
4. Connect the receiver to the mixer or amplifier. Make sure the audio levels on the mixer is muted or off. For PA System, use the 1/4’’ AF output(line level unbalanced,4b). For all other applications use the XLR output (mic level,4a)

6. Turn on the receiver
Update Function
- Add function: automatically scan and select a free channel.
- Channels increased from 40 groups to 100 groups on each side.
HOW TO CHANGE THE FREQUENCY
Set up the mic, and power on the receiver and mic Auto-scan(update function) (7a) On the receiver,
Press and hold the “MENU” Button for 3-5 seconds The screen shows(right side)
The system will automatically scan all 100 groups channels then select a free channel.
Manual selection
(7b) Press the ‘ADD’ Left/Right button to trigger the channel group choosing.
The screen Left/Right side Flash shows
8. Sync handheld transmitter to receiver.
!!Working principle: The receiver will transmit a pairing signal from the infrared sensor, this signal is transmitted horizontally, so the infrared sensor window of the transmitter (bodypack or handheld mic) must be directly facing horizontally. (8a)Locate the window housing infrared 
(8b)From close proximity(6 inches) Point the infrared windows towards the infrared sensor of the receiver next to the Left’MENU’ button
Within a few seconds, the transmitter group/channel and frequency will match the receiver
Sync bodypack transmitter to receiver.
!!Working principle: The receiver will transmit a pairing signal from the infrared sensor, this signal is transmitted horizontally, so the infrared sensor window of the transmitted (bodypack or handheld mic) must be directly facing horizontally. (9a)Locate the window housing infrared(under the battery cover) 
(9b)From close proximity(6 inches)
Point the infrared windows towards the infrared sensor of the receiver next to the Left’MENU’ button.
within a few seconds, the transmitter group/channel and frequency will match the receiver
Power ON/OFF/Mute feature.
Press the power button to mute. Press and hold the power button to ON/OFF
| PHENOMENON | REASON | SOLUTION |
| Microphone doesn’t work | The AA battery is not installed correctly | Check polarity label and install batteries correctly |
| The battery is in the low level | Replace batteries | |
| [‘he mic is defective | Contact [email protected].cn ask for a warranty | |
| Signal cut-in and cut-out | Both mics are on the same frequency channel, e.g. M Ics one/two are both 645.3o | Change the frequency on one mic |
| Interference on the frequency channel | Change the frequency and test it for 3 minutes | |
| The hand mic is defective | Contact [email protected].can ask for a warranty | |
| Indicator light flashed | Battery is low | Replace batteries |
| The receiver LED display does not light up | The outlet is not power on | Confirm the AC power is normal, and confirm the supply voltage is normal |
| Receiver power is not connected | Verify that one end of the AC power adapter is plugged into the power outlet and the other Bendis plugged into the power jack on the rear panel of the receiver | |
| The receiver does not receive any signal | The wireless microphone is not turned on | Turn on the wireless microphone |
| The microphone does not match the receiver frequency | Check whether the receiver and the transmitter use the same frequency and whether they are synchronized | |
| Microphone exceeds effective operation range | Check effective operation range and use the microphone within it. | |
| The receiver receives a signal but the transmitter has no sound | The battery in the wireless microphone is weak | Replace the battery |
| Audio cables and equipment are not connected correctly | Check and correctly connect all the audio cables | |
| The receiver has a signal when the microphone is not open, and the speaker has noise | There are other devices in the vicinity of the same or similar frequency | Change the system position to avoid interference, so that the receiver and other electronic devices like computers or cell phones in use maintain adequate distance |
| A howling noise heard from the speaker | The distance between the microphone and the speakers is too closed | Move the microphone away from the speakers or change the direction of the microphone |
| The sound breaks or distorts when in use | Exceeds effective operation range | Check effective operation range and use the microphone within it. |
| Effective operation range is shortened | The environment is too complex, check the SQL value settings | Avoid overly complex environments. If there are large metal objects or walls between microphones and receivers, it will greatly affect the effective distance. Please adjust the SQL value |
FCC Statement
This equipment has been tested and found to comply with the limits for a Class B digital device, pursuant to part 15 of the FCC Rules. These limits are designed to provide reasonable protection against harmful interference in a residential installation. This equipment generates, uses, and can radiate radio frequency energy and, if not installed and used in accordance with the instructions, may cause harmful interference to radio communications. However, there is no guarantee that interference will not occur in a particular installation. If this equipment does cause harmful interference to radio or television reception, which can be determined by turning the equipment off and on, the user is encouraged to try to correct the interference by one or more of the following measures:
- Reorient or relocate the receiving antenna.
- Increase the separation between the equipment and receiver.
- Connect the equipment into an outlet on a circuit different from that to which the receiver is connected.
- Consult the dealer or an experienced radio/TV technician for help.
Caution: Any changes or modifications to this device not explicitly approved by the manufacturer could void your authority to operate this equipment.
This device complies with part 15 of the FCC Rules. Operation is subject to the following two conditions: (1) This device may not cause harmful interference, and (2) this device must accept any interference received, including interference that may cause undesired operation.
RF Exposure Information
The device has been evaluated to meet general RF exposure requirements. The device can be used in portable exposure conditions without restriction.
SPECIFICATIONS
Wireless System
| Carrier Frequency Range | UHF536-587MHz(Depends on local regulations) |
| Frequency Stability | 0.00% |
| Dynamic Range | >105dB |
| Frequency Response | 50Hz-18KHz |
| Audio Output Level | 1/4 interface:0-500mV;XLR interface:0-500mV |
| Working Distance | 80Meter/240ft |
| Operating Temperature | -10℃-50℃ |
Dual Channel Wireless Receiver
| Output impedance | XLR connector:200 ohm |
| Channel | 2 Channels |
| RF Sensitivity | -105 dBm |
| Image Rejection | >100 dB |
| Spurious Rejection | >90 dB |
| Dimensions | 210mmX160mmX45mm |
| Weight | 775g(27.3oz.) |
| Power | 5W |
| Power Requirements | 12-18 DC@400mA supplied by external power adapter |
Handheld Transmitter
| RF Transmitter Output | 10mW.typical(varies by region) |
| Dimensions | 249mmX51mm dia.(9.8X2 in.) |
| Weight | 360g (10.8 oz.) (without batteries) |
| Power Requirements | 2AA batteries, alkaline |
| Battery Life | About 16 hours by using the original battery |
Bodypack Transmitter
| RF Transmitter Output | 0mW,typical (varies by region) |
| Dimensions | 110mm X 65mm X 22mm |
| Weight | 74g |
| Power Requirements | 2 AA batteries, alkaline |
| Battery Life | About 16 hours by using the original battery |
LIMITED WARRANTY
EXCLUSION OF CERTAIN DAMAGES
The minnow UHF wireless microphone systems are warranted to be free from defects in material and workmanship for 12-month from the date of sale to the original purchaser.
TECH SUPPORT
Email: [email protected]
Phone: (443) 267-2096
Thanks for choosing us. Please read this instruction carefully and ensure the proper use of your system. We would not be liable if any damages happen because of improper use.
minnow Email:[email protected]
ADD innopow Co.Ltd, Cheng jin fan,3/f.Wan Feng 98 industrial
town, Shajing StreetShen Zhen, Guang Dong 518100
![]()


















