ELECTROLUX HOME PRODUCTS NZ LTD
WESTINGHOUSE
ELECTRIC
WALLOVENS
“C” SERIES
VARIANT *06
Single Wall Oven General Assembly Diagram

Double Wall Oven General Assembly Diagram

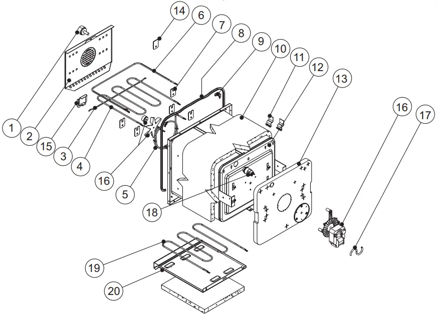
Oven Assembly; Main Oven.

Oven Assembly; 2nd Oven

Switch Panel Assembly EW050

Switch Panel Assembly EW100

Switch Panel Assembly EW250

EW250WC
Switch Panel Assembly EW300SC

Door Assembly EW050,EW100,EW250 & EW300

Door Assembly 2nd Oven EW250 & EW300

Accessories

MODELS:
EW050KC, -SC, -WC: EW100SC, -WC,
EW250KC, -WC: EW300SC
















