RFR E 120 E-Bike LED Front Light

Package contents
- 1 E-Bike LED headlamp
Specifications
- Model: E-Bike Frontlight E 120
- Luminosity: approx. 120 Lux
- Mains voltage: 6 – 48 volts
Introduction
These operating instructions form part of the product. They contain important safety, installation and disposal instructions. Please read the operating and safety instructions carefully before using the product. Use the product only as described and only for the indicated range of application. When passing the product on to another person, make sure to hand over all documentation together with the product.
Intended use
The product is intended to be used on bicycles to illuminate the ground around the bicycle. The light emission must not be impaired by bicycle parts or baggage. The product is intended to be used outside. You must not use the product in any other way than intended and must not modify or change the product in order to prevent damages on the product and/or injuries. The manufacturer does not assume liability for any loss caused by improper use of the product. The product is not intended to be used for commercial or industrial applications.
Note:
The headlamp may only be installed on bicycles with pedal assistance which meet one of the following conditions. If, after the support drive has been switched off due to discharge, an uninterrupted power supply to the lighting installation is still guaranteed for at least two hours or the drive motor can be used as an alternator for a transitional period to continue to supply the lighting system with power.
Safety note
DANGER! CHOKING AND ACCIDENT HAZARDS TO INFANTS AND CHILDREN!
Never leave your child unattended with the packaging material. There is a danger of suffocation due to choking on swallowed packaging. Children are often not aware of the hazards. Keep the product out of reach of children at any time. The product is not a toy! The product is not intended for use by persons (including children) with limited or inhibited physical, sensory or mental capabi- lity or lack of experience or knowledge, unless they are supervised by a person responsible for their safety. Please note that damages caused by improper use and noncompliance with the operating instructions or by repairs or manipulation carried out by unauthorised persons are excluded from warranty. Do not disassemble the product at any time. Repairs carried out by unouthorised persons can cause significant danger to the user. Any repairs must be carried out by qualified personal.
- Do not look into the headlamp.
- Do not aim the headlamp directly at people or animals.
- The light cone of the headlamp must always point straight ahead in the direction of traffic and must not blind other road users.
- The light distribution must not be covered, not even partially.
- The LED cannot be replaced. The entire light is to be replaced if the LED fails.
Notes relating to the disposal of devices and packaging:
You can dispose of the packaging at local recycling centres. (Please refer to your local authority for details.) The packaging is made of environmentally friendly materials. If you no longer use the product, do not throw it into the household waste but dispose of it properly as arranged for by your local authority. Please refer to your local authority for further details.
Cleaning the light
Clean the light with a damp, lint-free rag. Never put the light into or under water. Do not use corrosive or abrasive cleaners. They can damage the light.
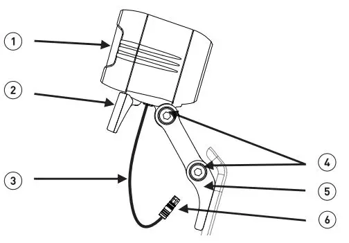
Components shown

- Headlamp
- Integrated reflector
- Connecting cable to the electrical system of the bicycle
- Adjustment screws for height adjustment
- Headlamp bracket
- BOSCH plug BES 3
Assembly of the LED headlamp

Attach the headlamp 1 to the bicycle using a bracket 5 and ensure that the headlamp cannot shift on its own again (5Nm).
Connection to the electrical system
On the underside of the headlamp is a black cable • to connect the bicycle’s electrical system. The BOSCH plug must be connected to the motor of the e-bike.
Operation
The headlamp is switched on and off via the bicycle’s electrical system.
Settings of the LED headlamp

Aim the headlamp in such a way that the light cone reaches the driving surface up to approximately 10 metres in front of the wheel (see illustration).
Attention! Regularly check the correct setting and mounting height of your headlamp. The headlamp must be installed in a range from 400 to 1200 mm above the driving surface.
PENDING SYSTEM GMBH & CO. KG
Ludwig-Hüttner-Str. 5-7
D-95679 Waldershof
Weitere Informationen finden Sie unter: www.cube.eu
For further information visit our website: www.cube.eu



















