V-TAC VT-2436 Remote Controller Instruction Manual
PRODUCT KEY DIAGRAM

REMOTE FEATURES
- To dim all dual white lights at once or change the color temperature, first press ‘Master ON’.
- To do this with individual lights, first press ‘ Zone ON’. Secondly, set the adjustment for color temperature or brightness.
- To turn on the night light mode of a single ( dual white ) light, press and hold the ‘Zone OFF’ from one of the 4 Zones.
- To turn on all the lights in night light mode, press and hold ‘Master OFF’.
- For remote control FUT006, the default mode is to adjust the brightness, rotating the wheel from left to right, brightness up, from right to left, brightness down. Switching to adjusting the color temperature by pressing the middle button once, left to right, cooler, right to left, warmer.
INKING & UNLINKING
Remark: The light can be working after linking with the remote.
LINKING INSTRUCTIONS
- Switch off the light, after 10 seconds switch on again

- When the light on, short press any zone of 3 time within 3 seconds

- The light blink 3 times slowly means the linking is done successfully.

If the light not blink slowly, the linking failed, Pls switch off the light again, and follow the above steps again
UNLINKING INSTRUCTIONS
- Switch off the light, after 10 seconds switch on again

- When the light on, short press 5 times within 3 seconds Unlinking must be the same zone with the Linking

- The light blinking 10 times quickly, means the unlinking successfully

If the light not blink quickly, the unlink failed, pls switch off the light again, and follow the above steps to unlink again.
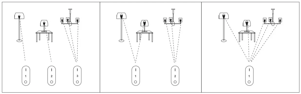
GROUPING OF SEVERAL LIGHTS
You can add an endless numbers of lights to a zone on the 4 channel remote by linking the lights to different zones. This way you are completely flexible in creating different group combinations. Below you can see some grouping examples.
Remark:
- The user can re-programme freely as needed. One remote can control countless lamps or controllers, but one lamp or controller can only be controlled by four remotes ( Max ).
- Please check the battery installation and controller ( totally discharge the power ), when you programme after switching off and switching on.
COMPATIBLE DEVICES
Compatible with the below devices (Not included; available to buy separately)
(SKU: 2911 VT-2431) (NOT INCLUDED)
(SKU: 2919 VT-2440) (NOT INCLUDED)
(SKU: 2916 VT-2439) (NOT INCLUDED)
TECHNICAL DATA
| MODEL | VT-2436 |
| INPUT VOLTAGE | 3V (AAA x 2PCS) (BATTERY NOT INCLUDED) |
| TRANSMISSION POWER | 6dBm |
| STANDBY POWER CONSUMPTION | 20μA |
| MODULATION METHOD | GFSK |
| DIMENSION | 53x21x110.5mm |
INTRODUCTION & WARRANTY
Thank you for selecting and buying V-TAC product. V-TAC will serve you the best. Please read these instructions carefully before starting the installation and keep this manual handy for future reference. If you have any another query, please contact our dealer or local vendor from whom you have purchased the product. They are trained and ready to serve you at the best. The warranty is valid for 2 years from the date of purchase. The warranty does not apply to damage caused by incorrect installation or abnormal wear and tear. The company gives no warranty against damage to any surface due to incorrect removal and installation of the product. The products are suitable for 10-12 Hours Daily operation. Usage of product for 24 Hours a day would void the warranty. This product is warranted for manufacturing defects only.
WARNING!
- For Indoor use only
- In the using of the remote, if the indicated lamp blinking quickly, pls change the battery in time. Pls don’t use poor quality battery to avoid the leaking of battery liquid to damage the remote.
- Pls don’t use the remote on the wide-range metal or strong electromagnetic wave area, otherwise, it will badly affect the controlling distance.
IN CASE OF ANY QUERY/ISSUE WITH THE PRODUCT, PLEASE REACH OUT TO US AT: [email protected] FOR MORE PRODUCTS RANGE, INQUIRY PLEASE CONTACT OUR DISTRIBUTOR OR NEAREST DEALERS. V-TAC EUROPE LTD. BULGARIA, PLOVDIV 4000, BUL.L.KARAVELOW 9B
This marking indicates that this product should not be disposed of with other household wastes.
Caution, risk of electric shock.
MULTI-LANGUAGE MANUAL QR CODE
Please scan the QR code to access the manual in multiple languages.


























