Whirlpool 8182348 Washer Control Panel User Guide
THANK YOU FOR PURCHASING A HOTPOINT PRODUCT
To receive more comprehensive assistance, register the appliance on www.hotpoint.eu/register
Before using the appliance carefully read the Health and Safety guide.
Before using the machine, it is imperative that the transport bolts are removed. For more detailed instructions on how to remove them, see the Installation Guide.
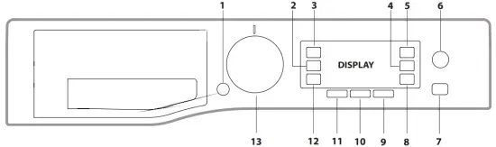
CONTROL PANEL

- ON/OFF button
- DRYING button
- DRYING ONLY button
- MULTI RINSE button
- OPTION button
- DIRECT INJECTION button
- START/PAUSE button and indicator light
- KEY LOCK button
- DELAY TIMER button
- SPIN button
- TEMPERATURE button
- AUTO CLEAN button
- WASH CYCLE SELECTOR KNOB
WASH CYCLE TABLE
| Maximum load 9 kg Power input in off mode 0.5 W / in left-on mode 8 W | Detergents and Additives | Recommended detergent | Residual (***) | Energy kWh | Total water lt | Laundry | ||||||||||
| Wash cycle | Temperature | Max. spin speed (rpm) | Max. load for washing (kg) | Duration (h : m) | Drying | Max. load for drying (kg) | Wash | Fabric softener | Powder | Liquid | ||||||
| Setting | Range | 2 | 3 | |||||||||||||
| 1 | Anti-Stain Turbo (Anti-Stain Turbo 45‘) | 40 °C | 1200 | 4.5 | ** | 4.5 | Ο | – | √ | – | – | – | – | |||
| 2 | Anti-Stain 20° (Anti-Stain Power 20°) | 20 °C | 1600 | 9.0 | ** | 6.0 | Ο | – | √ | – | – | – | – | |||
| 3 | Cotton (2) | 40 °C | 1600 | 9.0 | 3:55 | 6,0 | Ο | √ | √ | 49 | 1,40 | 105 | 45 | |||
| 4 | Synthetics (3) | 40 °C | 1200 | 4.0 | 2:55 | 4.0 | Ο | √ | √ | 35 | 0.80 | 55 | 43 | |||
| 5 | Rapid 30’ (Fast 30’) | 30 °C | 800 | 4.5 | 0:30 | **** | 4.5 | Ο | – | √ | 71 | 0.20 | 45 | 27 | ||
| 6 | Mix Wash & Dry (Wash & Dry Mix) | 40 °C | 40 °C | 800 | 3.5 | ** | 3.5 | Ο | – | √ | – | – | – | – | ||
| 7 | Shirts Wash & Dry | 40 °C | 40 °C | 1000 | 2.0 | ** | 2.0 | Ο | – | √ | – | – | – | – | ||
| 8 | Wool | 40 °C | 800 | 2.0 | ** | 2.0 | Ο | – | √ | – | – | – | – | |||
| 9 | Eco 40-60 (1) (Wash) | 40 °C | 40°C | 1551 | 9.0 | 3:40 | 6.0 | Ο | √ | √ | 44,5 | 1.01 | 60 | 36 | ||
| 1551 | 4.5 | 2:50 | Ο | √ | √ | 44,5 | 0.75 | 54 | 36 | |||||||
| 1551 | 2.25 | 2:10 | Ο | √ | √ | 44,5 | 0.55 | 39 | 33 | |||||||
| 10 | 20°C | 20 °C | 1600 | 9.0 | 1:50 | 6.0 | Ο | – | √ | 49 | 0.16 | 90 | 22 | |||
| 11 | White (Whites) | 60 °C | 1600 | 9.0 | 2:45 | 6.0 | Ο | √ | √ | 49 | 0.90 | 90 | 55 | |||
| 12 | Anti Allergy | 60°C | 40 °C- 60 °C | 1600 | 5.0 | ** | 5.0 | Ο | √ | √ | – | – | – | – | ||
| 13 | Steam Refresh | – | – | – | 2.0 | ** | – | – | – | – | – | – | – | – | – | – |
| 14 | Ultra delicates (Ultra Delicates) | 30 °C | – | 1.0 | ** | 1.0 | Ο | – | √ | – | – | – | – | |||
| Rinse & Spin (Rinse) | – | – | 1600 | 9.0 | ** | 6.0 | – | Ο | – | – | – | – | – | – | ||
| Spin& Drain * (Spin + Pump out) | – | – | 1600 | 9.0 | ** | 6.0 | – | – | – | – | – | – | – | – | ||
| ||||||||||||||||
| 9 | Eco 40-60 (4) (Wash & Drying) | 40 °C | 40 °C | 1551 | 6.0 | 9:55 | 6.0 | Ο | √ | √ | 0 | 4.50 | 80 | 36 | ||
| 1551 | 3.0 | 6:10 | 3.0 | Ο | √ | √ | 0 | 2.50 | 55 | 35 | ||||||
The cycle duration indicated on the display or instruction manual is an estimate based on standard conditions. The actual duration may vary in relation to several factors, such as the temperature and pressure of the incoming water, ambient temperature, amount of detergent, load quantity and type, load balancing and any additional options selected. The values given for programmed other than the Eco 40-60 programmed are indicative only.
1) Eco 40-60 (Wash) – Test wash cycle in compliance with EU Eco-design regulation 2019/2014. The most efficient programmed in terms of energy and water consumption for washing normally soiled cotton laundry.
Note: spin speed values shown on the display can slightly differs from the values stated in the table.
4) Eco 40-60 (Wash & Drying)- Test wash and drying cycle in compliance with EU Eco-design regulation 2019/2014. To access “wash and dry” cycle select “Eco 40-60” wash programmed and set “Drying” option level to “Cupboard”. The most efficient programmed in terms of energy and water consumption for washing and drying normally soiled cotton laundry. At the end of cycle the garments can be immediately stored to the cupboard.
PRODUCT DESCRIPTION

- Top
- Detergent dispenser drawer
- Control panel
- Handle
- Porthole door
- Drain pump (behind the plinth)
- Plinth (removable)
- Adjustable feet (2)
For all testing institutes:
Long cotton cycle: set programme 3 at temperature 40°C.
3) Long synthetics cycle: set cycle 4 at a temperature of 40°C.
- By selecting the cycle and excluding the spin cycle, the washer-dryer will drain only.
- The duration of the wash cycles can be checked on the display.
- After programmed end and spinning with maximum selectable spin speed, in default programmed setting.
- If a drying cycle is also programmed, the machine will run a “wash+dry” programmed lasting 45’ and a 1kg laundry load.
DETERGENT DISPENSER DRAWER

Compartment *:
Do not insert detergent in this compartment.
Compartment 1: Washing detergent (powder or liquid)
If liquid detergent is used, the removable plastic partition A (supplied) should be used for proper dosage.
If powder detergent is used, place the partition into slot B.
Compartment 2: Additives (fabric softeners, etc.)
The fabric softener must not exceed the “MAX” level.
- Use powder detergent for white cotton garments, for pre-washing, and for washing at temperatures over 60°C.
- Follow the instructions given on the detergent packaging.
WASH CYCLES
Follow the instructions on the symbols of the garment’s wash care label. The value indicated in the symbol is the maximum recommended temperature for washing the garment.
Anti-Stain Turbo
This cycle is ideal for washing daily stains in 45’. It is ideal for mixed fabrics and colored garments.
Anti-Stain 20°C
this programmed ensures maximum stain removal capacity with no need for pre-treatment at low temperatures, preserving fabrics and colors.
Cotton
Suitable for washing towels, underwear, table cloths, etc. made of resistant linen and cotton that are moderately to heavily soiled.
Synthetics
Specific for synthetic items. If the dirt is difficult to remove, the temperature can be increased up to 60° and powder detergent can be used too.
Rapid 30’
For washing lightly soiled garments in a short time. Not suitable for wool, silk and garments to be washed by hand.
Mix Wash & Dry
use programme 6 to wash and dry mixed garments (cotton and synthetics). This cycle may be used to wash and dry loads of up to 3.5 kg; we recommend the use of liquid detergent.
The use of the steam in this programmed is optimized to reduce the formation of creases on garments, making them easier to iron.
Shirts Wash & Dry
Use programmed 7 to wash and dry shirts and T-shirts in different fabrics and colors to ensure maximum care. This cycle may be used to wash and dry loads of up to 2 kg. To achieve optimum results, use liquid detergent and pre-treat cuffs, collars and stains. The use of the steam in this programmed is optimized to reduce the formation of creases on garments, making them easier to iron
Wool – Woolmark Apparel Care – Green:
the wool wash cycle of this machine has been approved by The Wool mark Company for the washing of wool garments labelled as “hand wash” provided that the products are washed according to the instructions on the garment label and those issued by the manufacturer of this washer-dryer. (M1318)
Eco 40-60
For washing normally soiled cotton garments declared to be washable at 40 °C or 60 °C, together in the same cycle. This is the standard cotton programmed and the most efficient in terms of water and energy consumption.
20°C
For washing lightly soiled cotton garments, at a temperature of 20 °C.
White
For heavily soiled whites and resistant colors.
Anti Allergy
Suitable for removing major allergens such as pollen, mites and cat or dog hair.
Steam Refresh
For refreshing garments, neutralized unpleasant odors and relaxing the fibers by delivering steam into the drum. The garments will be damp at the end of the cycle.
Ultra delicates
For washing very delicate garments. It is advisable to turn the garments inside out before washing them. For best results, use liquid detergent on delicate garments.
We recommend turning the garments inside out before washing and placing small items into the special bag for washing delicates. Use liquid detergent on delicate garments for best results.
When selecting an exclusively time-based drying function, a drying cycle is performed at the end of the wash cycle that is particularly delicate, thanks to light handling and appropriate temperature control of the water jet.
The recommended durations are:
1 kg of synthetic garments –> 165 min
1 kg of synthetic and cotton garments –> 180 min
1 kg of cotton garments –> 180 min
The degree of dryness depends on the load and fabric composition.
Rinse & Spin
Designed for rinsing and spinning.
Spin & Drain
Designed for spinning and draining the water.
DISPLAY
The display is useful when programming the machine and provides a great deal of information.

The following will appear in area A: the icon and programmed selected, the washing and drying phases and time remaining to the end of the cycle. Area B will include the two intensity levels relative to the DIRECT
INJECTION option. The indicator lights relative to the available functions appear in area C. Area D will display the time remaining to the start of the selected cycle if the DELAY TIMER function was set.
Area E will display the maximum available spin speed on the basis of the set cycle; if the cycle does not include the spin cycle setting, the dimly lit “–” symbol will appear in the area.
Area F will show the temperature value that can be selected on the basis of the set cycle.
If the cycle does not include setting of the temperature, the dimly lit “–” symbol will appear in the area.
! The first time the machine is switched on, you will be asked to select the language and the display will automatically show the language selection menu.
To select the desired language press the X and Y buttons; to confirm the selection press the Z button.
To change the language switch off the machine and press buttons G, H, I simultaneously until an alarm is heard: the language-selection menu will be displayed again.
To change the display luminosity, which by default is set to the highest value, switch the machine off then simultaneously press buttons G, L and M until the buzzer sounds.
Press buttons X and Y to choose the desired level of luminosity then confirm by pressing button Z.
During the wash cycle or when the DELAY TIMER function has been enabled, if the user does not interact with the display for 1 minute the SCREEN SAVER activates. To return to the previous window, simply press any button.
LOCKED DOOR INDICATOR
When lit, the symbol indicates that the door is locked. To prevent any damage, wait until the symbol turns off before opening the door.
To open the door while a cycle is in progress, press the START/PAUSE button
; if the
symbol is off, the door can be opened.
FIRST-TIME USE
Once the appliance has been installed, and before it is used for the first time, run a wash cycle with detergent and no laundry, by setting the “Auto Clean” cycle.
DAILY USE
- Prepare the laundry by following the suggestions appearing under the “TIPS AND SUGGESTIONS” section.
- Press the ON/OFF button
; “HOTPOINT” will appear on the display; the indicator light relative to the START/PAUSE
button will flash slowly green. - Open the door. Load the laundry while making sure not to exceed the maximum load quantity indicated in the wash cycle table.
- Pull out the detergent dispenser drawer and pour the detergent into the relevant compartments, as described in the “DETERGENT DISPENSER DRAWER” section.
- Close the door.
- Use the WASH CYCLE selector knob to select the desired wash cycle: the cycle’s name will appear on the display; the cycle will be associated with a specific temperature and spin speed which can be modified. The duration of the cycle will appear on the display.
- Modify the temperature and/or spin speed: the machine automatically selects the maximum temperature and spin speed set for the selected wash cycle; these values cannot therefore be increased. Pressing the
button gradually reduces the temperature down to the cold wash setting (the “–” symbol will appear on the display). Pressing the
button gradually reduces the spin speed until it is completely excluded (the “–” symbol will appear on the display). Pressing the buttons further restores the maximum allowed values for the selected cycle. - Select the desired options.
- Press the START/PAUSE
button to start the wash cycle; the relative indicator light will light up steady green and the door will lock (
symbol on).
PAUSING A CYCLE
To pause the wash cycle, press the START/PAUSE
button again; the indicator light will flash amber. To start the wash cycle from the point at which it was interrupted, press the START/PAUSE
button again.
CHANGING A RUNNING WASH CYCLE
To change a wash cycle while it is in progress, pause the washing machine using the START/PAUSE
button (the relative indicator light will flash amber), then select the desired cycle and press the START/PAUSE
button again.
To cancel a cycle that has already begun, press and hold the ON/OFF
button. The cycle will be stopped and the machine will switch off.
AT THE END OF THE WASH CYCLE
This will be indicated by the word “CYCLE END” on the display; when the
symbol switches off, the door may be opened. Open the door and switch off the machine. If you do not press ON/OFF
button, the washing machine will switch off automatically after about a 10 minutes. Close the water tap and unload the washing machine. Leave the door ajar to allow the drum to dry.
OPTIONS
- If the selected function is incompatible with the set wash cycle, the relevant indicator light will appear dimly lit; the incompatibility will also be signaled by a buzzer (3 beeps) and the wording “No Selection” will appear on the display.
- If the selected function is incompatible with another previously set function, the wording “No Selection” will appear on the display and the function will not be enabled.
Steam Hygiene
This option enhances washing performance by generating steam during the wash cycle to remove any bacteria from the fibres, which are treated at the same time. Place the laundry in the drum, choose a compatible programme and select option
.
! The steam generated during the operation of the washer-dryer may cause the porthole door to become hazy.
Delay Timer
To set a delayed start for the selected cycle, press the corresponding button repeatedly until the desired delay period is reached. To remove the delayed start setting, press the button until “— h” appears on the display.
Temperature
Each wash cycle has a pre-defined temperature. To modify the temperature, press the
button. The value will appear on the display.
Spin
Each wash cycle has a pre-defined spin speed. To modify the spin speed, press the
button. The value will appear on the display.
Direct Injection
The washer-dryer is equipped with the innovative technology «Direct Injection» which pre-mixes water and detergent, thus immediately activating the detergent’s cleaning principles. This active emulsion is directly introduced into the drum of the washer-dryer and penetrates the fibers with more efficacy in cleaning even heavily soiled garments at low temperatures, fully preserving colors and fabrics.
The mode «Power» ensures the best cleaning performance and the mode «Energy Saver» allows more energy saving.
Drying
The desired drying cycle type may be set by pressing the DRYING button
once or several times. Two options are available:
A – Based on the how damp the clothes are once they have been dried:
Iron: suitable for clothes which will need ironing afterwards. the remaining dampness softens creases, making them easier to remove.
Hanger: ideal for clothes which do not need to be dried fully.
Cupboard: suitable for laundry which can be put back in a cupboard without being ironed.
Extra: suitable for garments which need to be dried completely, such as sponges and bathrobes.
B- Based on a set time period: between 30 and 180 minutes.
To exclude the drying phase press the relevant button until the text OFF appears on the display.
If your laundry load to be washed and dried is much greater than the maximum stated load, perform the wash cycle, and when the cycle is complete, divide the garments into groups and put some of them back in the drum. At this point, follow the instructions provided for a “Drying only” cycle. Repeat this procedure for the remainder of the load. A cooling-down period is always added to the end of each drying cycle.
Drying only
Press button to perform the drying-only cycle.
After selecting the desired cycle (compatible with the type of garments), press button
to exclude the washing phase and start the drying phase at the maximum level for the selected cycle. The drying level or time may be set and changed by pressing the drying button
.
Multi Rinse
This option allows for selecting the desired rinse type to protect sensitive skin. Press the button once to set level “Extra +1”, which allows for selecting an additional rinse to the standard cycle rinses and removing all traces of detergent. Press the button again to set level “Extra +2”, which allows for selecting two additional rinses to the standard cycle rinses; this cycle is recommended for very sensitive skin. When the button is pressed for the third time, the “Extra +3” level is set, which allows for selecting 3 additional rinses to the standard cycle rinses. When started with cycles at a temperature of 40°C, this option makes it possible to remove major allergens such as pollen and cat or dog hair. With cycles running at temperatures higher than 40°C, an excellent level of anti-allergy protection is achieved. Press the button again to return to the “Normal Rinse” mode. If the current mode cannot be set nor changed, the display will show “No Selection” or “No Change”.
KEY LOCK
To activate the control panel lock, press and hold the
button for roughly 2 seconds. When the display visualizes “KEY LOCK ON”, the control panel is locked (except for the ON/OFF button
). This will prevent accidental modifications to wash cycles, especially when children are at home. To deactivate the control panel lock, press and hold the
button for approximately 2 seconds.
TIPS AND SUGGESTIONS
Divide the laundry according to:
Type of fabric (cotton, mixed fibers, synthetics, wool, garments to be hand-washed). Color (separate colored garments from whites, wash new colored garments separately). Delicates (small garments – such as nylon stockings – and items with hooks – such as bras: insert them in a fabric bag).
Empty the pockets:
Objects such as coins or lighters can damage the washer-dryer and the drum. Check all buttons.
Follow the dosage recommendation / additives
It optimizes the cleaning result, it avoids irritating residues of surplus detergent in your laundry and it saves money by avoiding waste of surplus detergent.
Use low temperature and longer duration
The most efficient programmed in terms of energy consumption are generally those that perform at lower temperatures and longer duration.
Observe the load sizes
Load your washing machine up to the capacity indicated in the “Wash Cycle Table” table to save water and energy.
Noise and remaining moisture content
They are influenced by the spinning speed: the higher the spinning speed in the spinning phase, the higher the noise and the lower the remaining moisture content.
CARE AND MAINTENANCE
Before performing cleaning and maintenance, switch the washer-dryer off and disconnect it from the mains power. Do not use flammable liquids to clean the washer-dryer. Clean and maintain your washer-dryer periodically (at least 4 times per year).
Cutting off the water and electricity supplies
Turn off the water tap after every wash cycle. This will limit wear on the hydraulic system inside the washer-dryer and help to prevent leaks. Unplug the washer-dryer when cleaning it and during all maintenance work.
Cleaning the washer-dryer
The outer parts and rubber components of the appliance can be cleaned using a soft cloth soaked in lukewarm soapy water. Do not use solvents or abrasives.
The washer-dryer has a “Auto Clean” cycle for its internal parts; it must be run without any load in the drum.
To help the wash cycle you may want to use either the detergent (i.e. a quantity 10% the quantity specified for lightly-soiled garments) or special additives to clean the washer-dryer. We recommend running a cleaning programmed every 40 wash cycles.
To activate the cycle, press the
button for 5 seconds then press START PAUSE
to start the cycle, which will last roughly 70 minutes.
Cleaning the detergent dispenser drawer
Remove the dispenser drawer by lifting and pulling it outwards. Wash it under running water; this procedure should be effected regularly.
Caring for the door and drum
Always leave the porthole door ajar in order to prevent unpleasant odors from forming.
Cleaning the pump
The washer-dryer is fitted with a Auto Clean pump which does not require any maintenance. Small items (such as coins or buttons) may sometimes fall into the protective pre-chamber situated at the base of the pump.
Make sure that the wash cycle has ended and unplug the appliance. To access the pre-chamber:
- remove the covering panel on the front side of the machine by inserting a screwdriver in the centre and sides of the panel and using it as a lever;
- loosen the drainage pump cover by turning it anti-clockwise: it is normal for some water to leak out;
- clean the inside thoroughly;
- screw the cover back on;
- put the panel back in place, making sure the hooks slot in place before pushing the panel onto the appliance.
Checking the water inlet hose
Check the inlet hose at least once a year. If it is cracked or broken, it must be replaced: during wash cycles, the high pressure of the water could suddenly split the hose open.
! Never use hoses that have already been used.
LOAD BALANCING SYSTEM
Before every spin cycle, to avoid excessive vibrations before every spin and to distribute the load in a uniform manner, the drum rotates continuously at a speed which is slightly greater than the washing rotation speed. If, after several attempts, the load is not balanced correctly, the machine spins at a reduced spin speed. If the load is excessively unbalanced, the washing machine performs the distribution process instead of spinning. To encourage improved load distribution and balance, we recommend small and large garments are mixed in the load.
ACCESSORIES
Contact our Technical Assistance Service to check whether the following accessories are available for this washer-dryer model.
Stacking kit
With this accessory you can secure the tumble dryer to the upper part of your washer-dryer to save space and facilitate loading and unloading of the tumble dryer.
TRANSPORT AND HANDLING
Do not lift the washer-dryer by gripping it from the upper section. Unplug the appliance and close the water tap. Check that the door and detergent dispenser drawer are tightly closed. Detach the filling hose from the water tap then detach the drain hose. Empty all the water remaining in the hoses and secure the latter so that they do not get damaged during transport. Apply the transport bolts back on. Repeat, in reverse order, the transport bolt removal procedure described in the “Installation instructions”.
DEMO MODE: to deactivate this function, switch the washing machine OFF. Than press and hold “Start/Pause”
button, within 5 seconds press also “ON/OFF”
button and hold both buttons for 2 seconds.
TROUBLESHOOTING
| Anomalies | Possible causes / Solution |
| The washer-dryer does not start. | The appliance is not plugged into the socket fully, or not enough to make contact. |
| There is no power in the house. | |
| The wash cycle does not start. | The washing machine door is not closed properly. |
| The ON/OFF | |
| The START/PAUSE | |
| The water tap has not been opened. | |
| A delay has been set for the start time. | |
| The washer-dryer does not fill with water (“NO WATER, turn tap on” appears on the display). | The water inlet hose is not connected to the tap. |
| The hose is bent. | |
| The water tap has not been opened. | |
| There is no water supply in the house. | |
| The pressure is too low. | |
| The START/PAUSE | |
| The washer-dryer continuously loads and unloads water. | The drain hose is not fitted between 65 and 100 cm from the floor. |
| The free end of the hose is immersed in water. | |
| The wall drainage system is not fitted with a breather pipe. If the problem persists even after these checks, turn off the water tap, switch the appliance off and contact the Technical Assistance Service. If the home is on one of the upper floors of a building, there may be problems relating to back-siphonage, causing the washing machine to fill with water and drain continuously. Special anti-siphon valves are available in shops and help to prevent this inconvenience. | |
| The washer-dryer does not drain or spin. | The cycle does not include drainage: with certain cycles it must be started manually. |
| The drain hose is bent. | |
| The drainage duct is clogged. | |
| The washer-dryer vibrates a lot during the spin cycle. | The drum was not unlocked correctly during installation. |
| The washing machine is not level. | |
| The washing machine is tucked between furniture cabinets and the wall. | |
| The washer-dryer leaks. | The water inlet hose is not screwed on properly. |
| The detergent dispenser drawer is obstructed. | |
| The drain hose is not properly attached. | |
| The machine is locked and the display flashes, indicating an error code (e.g. F-01, F-…). | Switch off the machine and unplug it, wait for approximately 1 minute and then switch it back on again. If the problem persists, contact the Technical Assistance Service. |
| There is too much foam. | The detergent is not suitable for machine washing (it should display the text “for washing machines” or “hand and machine wash”, or the like). |
| Too much detergent was used. | |
| The washer-dryer does not dry. | The appliance is not plugged into the socket, or not enough to make contact. |
| There has been a power failure. | |
| The appliance door is not shut properly. | |
| A Delay Timer has been set. | |
| DRYING is in the OFF position. |
You can download the Safety Instructions, Product Fiche and Energy data by:
- Visiting our website – http://docs.hotpoint.eu
- Using QR Code
- Alternatively, contact our After-sales Service (See phone number in the warranty booklet). When contacting our After-sales Service, please state the codes provided on your product’s identification plate.
- For User’s Repair & Maintenance Information visit www.hotpoint.eu
The model information can be retrieved using the QR-Code reported in the energy label. The label also includes
the model identifier that can be used to consult the portal of the registry at https://eprel.ec.europa.eu





















