
CINNABAR LUX Surround Living “5.1-Set” Soundbar
User Guide
Quick reference guide
Teufel Soundbar
General Notes and Information
Proper use
The speakers are designed for the playback of music and speech transmitted via cable from an external player or via Wi-Fi.
Only use the speakers as described in this quick reference guide and the online documentation. Any other use will be deemed as not in accordance with the instructions and may lead to damage of property or even persons.
The manufacturer accepts no liability for damage caused by improper use.
The speakers are intended for domestic use.
Safety notes
The enclosed brochure “Important product information” contains general safety notes which you should always observe to protect yourself and third parties. Also, be sure to observe any warning notes contained in this quick reference guide.
Before operating the product, please first read the safety notes, this quick reference guide, and the online documentation carefully. Only in this way, can you ensure that all functions are used in a safe and reliable manner. Keep the enclosed documents in a safe place and also be sure to pass it on to any subsequent owner.
Unpacking
Package contents
| (1) Soundbar (2) Subwoofer (3) Wall bracket for the soundbar (4) Wireless remote control (5) Mains cord for the soundbar (6) Mains cord for the subwoofer (7) HDMI cable | ![]() |
| (8) Accessories: 2 rubber feet to provide central support of the subwoofer if e.g. a TV set is to be placed on it. Self-adhering cable clamp for securing the cables of the soundbar in case of wall mounting. 9) Brochure “Important product information” • Check that all items have been delivered and that nothing is damaged. If you find any damage, do not operate the device; instead, contact our customer service department (see back side). • Please keep the packaging for the duration of the warranty period | ![]() |
Soundbar
(10) RCA audio input (analog) for external players, e.g. a smartphone via the headphone jack or a TV set without an ARC function *).
(11) Optical audio input (digital), e.g. for a TV set without an ARC function *).
(12) Audio input for a TV set via HDMI-ARC *). Make sure to use the HDMI ARC jack on your TV set and to you enable the CEC function. You will find more information about this in the user manual for your TV set.
(13) Pairing button: for establishing a wireless connection with the subwoofer (see chapter,, Subwoofer” on page 11).
(14) RCA output: for connecting the soundbar and subwoofer via an RCA cable (this is optional if no wireless connection is desired).
(15) USB 2.0 jack: for restoring the firmware and sharing music **).
(16) Ethernet connection: for connecting the soundbar with your router via an ethernet cable (alternatively to the Wi-Fi).
(17) Setup button: push during the setup process once asked to do so.
(18) Reset button: hold for 8 seconds while the device is on to reset the soundbar to the factory default settings.
(19) Mains connector jack for the mains cord (5).
*) The audio signal must be set to the output format PCM or Stereo in the sound settings for the TV set or the set-top box. You can find further notes about this topic in our online documentation: http://manual.teufelaudio.com/soundbar.
**) Music saved on a USB stick will be made available under “My music” if the stick is connected to the USB port of the host device. In the network settings, you can see which device acts as a host in your system.

(20) Increase/decrease the volume
(21) Control LEDs
(22) On/Off button
Wireless remote control
![]() | (23) On/Off button (24) Control LED (25) Mute (26) In streaming mode: Preset buttons (see page 12). Otherwise wave field sound patterns: Stereo mode: Pure stereo sound. Arena mode: panorama sound with the extra-wide effect. Theatre mode: stage with extra-wide effect and at the same time clear speech playback. Voice mode: extremely clear speech playback. (27) Select an input: OPT (11) (28) Select an input: HDMI ARC (12) (29) Next/previous track (only in streaming mode) (30) Increase/decrease the volume (31) Select an input: Streaming (32) Select an input: AUX IN(10) |
Subwoofer
(33) Sensitivity: Increase/decrease subwoofer volume (only in case of cable connection, otherwise via the app).
(34) High-Pass: Set the frequency at which the subwoofer engages.
(35) Phase: Shifts the subwoofer phase by 180°. Can lead to improved sound.
(36) Input: Select the input of the subwoofer (wireless or via SUB IN).
(37) Power: Automatic activation/ deactivation or permanent activation.
(38) Clip: Overload indicator. If the LED lights up, immediately reduce the volume.
(39) Power: LED lights up when the subwoofer is switched on.
(40) Status: LED illuminates continuously with the wireless connection. Blinks slowly if there is no connection to the soundbar. Blinks quickly in pairing mode. Is not illuminated when the soundbar is switched off.
(41) Pairing: Create a wireless connection to the soundbar (see chapter,, Subwoofer” on page 11).
(42) RCA input for connecting to the soundbar with a cable.
(43) Auto Level: sensitivity control for the automatic activation/deactivation function.
(44) Main power switch
(45) Jack for mains cord (6)
(46) Fuse T 2.5 AL / 250 V
Preparations
To be able to integrate Teufel Streaming products with Raumfeld technology in your network and to ensure smooth operation, we recommend an up-to-date, high-performance router with a broadband Internet connection.
Make sure that the Wi-Fi router is active, has the latest firmware and is able to access the Internet.
To the extent possible, the router should be positioned in the middle of your home in order to ensure an adequate Wi-Fi signal throughout your home.
Setup
- The perfect spot for the Soundbar is in a central position under the TV. Optionally, the Soundbar can be mounted on the wall.
- Wall mounting:

- Perform setup before wall mounting (see page 10).
- Remove the support foot of the Soundbar.
- Securely mount the wall bracket (3) on the wall.
- Securely screw the Soundbar together with the wall bracket.
Please note that obstacles such as walls and ceilings may affect signal transmission.
To the extent possible, you should set up the subwoofer in front of your sitting area close to the soundbar. Generally, you can also set it up at any other location in the room as the human ear is unable to localize low tones. Setup in the corner of a room is not suitable as this may result in uncontrollable frequency rises.
Connection Examples

You can find further tips and Infos here: http://manual.teufelaudio.com/soundbar
Configuration
- Make sure that your smartphone or tablet is registered on your home Wi-Fi.
- Have the Wi-Fi password for your router ready.
- Load the TEUFEL RAUMFELD APP from the Play Store/App Store.
- Once you have started the app, the setup wizard will guide you through the setup process.
- You can find further notes about setting up your Teufel streaming system under http://manual.teufelaudio.com/setup. The tips in the chapter,, Troubleshooting” on page 14 should also be helpful.
TEUFEL RAUMFELD APP IN THE APPLE APP STORE
![]() | ![]() |
| https://itunes.apple.com/us/app/apple-store/id441218032?mt=8 | https://play.google.com/store/apps/details?id=com.raumfeld.android.controller |
Integration of other devices in an existing Teufel streaming system: You do not have to set up the entire system again. You can use the app to add new devices (under “Settings”).
Subwoofer
Once you have connected your subwoofer to the mains supply, set the toggle switch on the back (37) to “ON”. The soundbar will now automatically connect to the subwoofer.
If the connection is interrupted at some point, please proceed as follows:
- Hold the pairing button (41) (subwoofer back side) down until the status LED (40) blinks quickly.
- Now tap the Sub Pairing button (13) on the back of the soundbar. As soon as the subwoofer LED lights up continuously, the connection has been established.
Alternatively, the subwoofer can be connected to the soundbar using a mono RCA cable (see chapter,, Connection Examples” on page 9).
Wireless Remote Control
The remote control must be connected to the Soundbar during initial installation.
- Pull out the plastic strip on the bottom of the remote control.
- Now hold the remote control in a central position directly in front of the Soundbar.
- Hold the buttons and on the remote control down at the same time until the LED (24) blinks three times. If instead, the LED blinks ten times in a row, repeat the process.

Operation
Sound settings
Your Soundbar has 4 different sound settings, which have been tuned by our acoustic technicians here in Berlin using wave field technology. Wave field technology makes it possible to strategically control 6 drivers in the soundbar and the 3 drivers in the subwoofer creating very broad spatial playback effects. With audio playback (via ARC, OPT or AUX), you can conveniently configure the desired sound pattern with the remote control buttons to :
Button: Stereo mode
The acoustics resemble the sound of a classic stereo system. Select this mode to generate a pure stereo experience.
Button: Arena mode
Panorama sound with an extra-wide effect is achieved through lateral signal output.
Button: Theatre mode
The theatre mode creates a stage with a wide effect and clear speech playback at the same time.
Button: Voice mode
The frequency ranges for speech playback are increased in this mode. The side drivers are only used to a limited degree to expand the sound stage.
Preset buttons
In streaming mode (streaming via LAN/Wi-Fi), the buttons to act as programmable preset buttons. They allow you to access your favorite radio station, a playlist or any other music with just the push of a button.
Programming preset buttons
- Make sure that the Soundbar is operational.
- Use the Teufel Raumfeld app to play any music on your Soundbar (e.g. a radio station, an album, a playlist, or all tracks of an artist).
- As soon as the music is played back, push a reset button and hold it until you hear a signal tone. The music that is played back is now saved for this preset button.
Accessing saved content
- Tap the reset button to access saved music with just the push of a button and to play it back on the Soundbar.
Spotify Connect
With Spotify Connect, you can play music on your mobile, tablet, or PC on your Soundbar via the Spotify app. Please note that you will require Spotify Premium to use Connect.
- Connect your Soundbar to your Wi-Fi network.
- Open up the Spotify app on your phone, tablet, or laptop using the same Wi-Fi network.
- Play a song and select “Devices Available”.
- Select your Soundbar and start listening.
Subwoofer settings
Setting the crossover frequency:
- The crossover frequency determines up to which frequency signals are to be passed on to the subwoofer.
- In practice, the crossover frequency functions as follows: If a high crossover frequency is set (120 Hz or 140 Hz) , powerful bass will be played. If it is set to a low value (100 Hz or 80 Hz), emphasis will be placed on the sound pattern of the soundbar.
Setting the subwoofer volume:
- In case of a wireless connection, with the app.
- In the case of a cable connection, with the “Sensitivity” control (33).
Phase:
- With the “Phase” switch (35), you can shift the subwoofer phase by 180°. Depending on the setup location, this can lead to improved sound.
High-Pass: The high pass filter only lets through frequencies above the set value. If e.g. the control is set to 50 Hz, only frequencies above 50 Hz are played back. In order for the bass to be played back with as little filtration as possible, we recommend setting the high pass control to 20 Hz.
You can find further tips and Infos here: http://manual.teufelaudio.com/soundbar
Troubleshooting
The following advice should help you to solve problems. If this does not work, our online documentation will provide help: http://manual.teufelaudio.com
| Problem | Possible cause/solution |
| The power LED (39) of the subwoofer does not illuminate. | Make sure that power is supplied. Check to make sure that the main cord is securely seated. Check whether the mains switch (44) on the back side is switched on. |
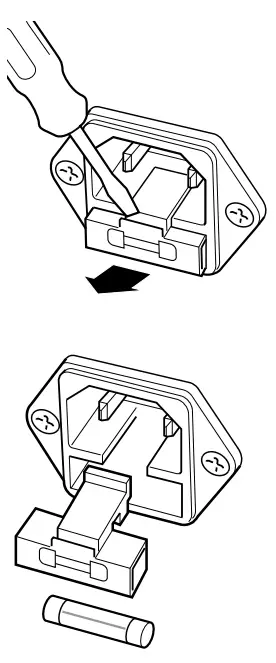
| The subwoofer fuse is defective. To replace the fuse: J 1. Remove the main cord. 3. Push the old fuse down and out. Insert a new fuse (T 2.5 AL / 250 V). 4. Push the holder back. | |
| Setup fails. | Restart your router and your smartphone or tablet. Set up the device near your router and switch any repeaters off for the duration of the setup process. If your router provides guest access, do not use it to connect your Teufel streaming devices. Read the notes in our online documentation at: http://manual.teufelaudio.com/setun. |
| The app is not connected or fails to locate the configured streaming devices. | Make sure that the Teufel streaming devices and the smart device are operated with the Teufel Raumfeld App on the same Wi-Fi. Restart your router. Briefly disconnect your Teufel streaming devices from the power supply and then start them again. You can find more information in our online documentation: http://manual.teufelaudio.com. |
| The soundbar does not emit any sound in TV mode or playback stutters. | If you are operating the soundbar with a TV via the digital output (HDMI ARC or OPT), you have to set the output mode to “PCM” in the TV settings for the selected TV output. You can find more information in our online documentation: http://manual.teufelaudio.com/soundbar. |
| Music playback skips or is interrupted. | It is possible that one or more Teufel device(s) do not have a Wi-Fi signal or it is too weak. Place the devices closer to the router, try alternative setup locations or connect devices, which are set up far away, with an Ethernet cable. In the event of problems with multiroom systems with three or more devices, we recommend connecting at least one of the devices with an Ethernet cable and set it as the host. As a test, refrain from using repeaters. If applicable, use an audio stream with low resolution. Also, visit the website of the router manufacturer for tips on how to improve your Wi-Fi. You can find more information in our online documentation: http://manual.teufelaudio.com. |
| I would like to reset the Soundbar. | Notice: By resetting the device, all system configuration settings will also be reset. Resetting the device: When the device is switched on, use a paper clip that has been sent straight to push the reset button (18) and hold it down until the device restarts (for at least 8 seconds). |
Declaration Of Conformity
Lautsprecher Teufel GmbH declares that this product complies with Directive 2014/53/EU. The full text of the EU Declaration of Conformity can be found at this web address: www.teufel.de/konformitaetserklaerungen www.teufelaudio.com/declaration-of-conformity
The following radio frequency bands and radio transmitting powers are used in this product:
| Radio network | Frequency band in MHz | Max. transmission power in dBm |
| WLAN 2.4 GHz | 2412-2472 | 20 |
| WLAN 5 GHz | 5180-5320; 5500-5700; 5745-5825 | 16 |
You can find further technical data about the product on our website.
Disposal
Important information in accordance with the Electrical and Electronic Equipment Act (Germany: ElektroG)
We advise owners of electrical and electronic appliances that old electrical and electronic devices must be handed in separately from municipal waste, in accordance with the applicable regulations. Batteries and rechargeable batteries that are not firmly enclosed in old electrical devices and lamps, and that can be removed from the old device without destroying them, must be separated from them in a non-destructive manner before they are handed to the collection point for their intended disposal. Please take note of our information on the Batteries Act [Germany: BattG] below for disposing of batteries.
You make an important contribution to returning, recycling, and further processing of old devices if you separate your old devices into the correct collection groups for recycling.
The symbol below of a crossed-out dustbin, applied to electrical and electronic appliances, also advises of the duty to separate collections:
Consumer electronics stores and supermarkets are obliged, under certain conditions, to take back old electrical and electronic devices, in accordance with section 17 of the Electrical and Electronic Equipment Act. Stationary retailers must take back an old electrical device of the same type when a new electrical device is bought (1:1 return). This also applies to home deliveries. These retailers must also take back up to three small old electrical devices ( 25cm) without this being linked to a new purchase (0:1 return).
In accordance with the Electrical and Electronic Equipment Act, as online retailers of electrical devices and due to our product range, our obligation is limited to 1:1 return of large devices of > 50 cm when selling a new electrical or electronic device of the same type. We comply with the obligation of return of devices other than large devices through our service provider. You can find the exact contact data and collection points on our website www.Teufel.de/entsorgung. It is also possible to return old electrical and electronic appliances free of charge at an official delivery point run by the public waste disposal authorities.
Important: For safety reasons we ask that you refrain from sending lighting fixtures (some lamps). For return of lighting fixtures please use the public waste disposal collection points or contact us directly at www.Teufel.de/entsorgung.
As an end-user, you are responsible for deleting any personal data on old electrical appliances before handing it in.
Important: Our appliances can contain batteries/rechargeable batteries. If this is the case, please refer to its attached product documentation for additional information on the type and chemical make-up of the battery. For products with battery compartments, you can directly remove the batteries or rechargeable batteries and dispose of them properly. If the batteries are built into the product, do not in any case attempt to remove the batteries yourself, instead, contact one of our employees or appropriate specialist staff.
Important information about the Batteries Act (Germany: BattG)
Batteries and rechargeable batteries must not be disposed of on in household waste.
Old batteries can contain toxic substances that could damage the environment or your health if not stored or disposed of properly. This applies especially to the improper handling of batteries containing lithium.
However, batteries also contain important raw materials such as iron, zinc, manganese, and nickel and these can be reused. The separate collection enables the recycling of these raw materials and avoids any negative impact on the environment or human health due to toxic substances being released.
The crossed-out dustbin symbol means that you should not dispose of old batteries and rechargeable batteries in household waste. In addition, you, as the end-user, are legally obliged to return old batteries.
You can hand in batteries and rechargeable batteries free of charge at an official return point such as any public waste disposal collection point. You can also hand in old batteries, that we stock or have stocked as new batteries, at one of our Teufel stores or at one of our dispatch warehouses. However, if you send them to our dispatch warehouses we would like to point out the dangerous goods regulations of the dispatch provider you opt for and ask you not to send batteries to us by post. You can get the addresses of our dispatch warehouses from our customer service.
Due to existing legal regulations, the battery manufacturer must use the following symbols with the following meanings when marking the batteries.
Hg: the battery contains more than 0.0005 mass percent of mercury
Pb: the battery contains more than 0.004 mass percent of lead
Cd: the battery contains more than 0.002 mass percent of cadmium
Otherwise, to avoid waste and littering, batteries with a long service life or rechargeable batteries should be used. Exchangeable rechargeable batteries enable long service for electrical and electronic appliances and thus devices and rechargeable batteries can be prepared for recycling (e.g. regenerating/exchanging rechargeable batteries). Further information on preventing waste for consumers can, however, be found in the Federal waste prevention program with the participation of the Federal states.
Please contact our customer service department with any questions, suggestions, or complaints:
Lautsprecher Teufel GmbH BIKINI Berlin, Budapester Straße 44 10787 Berlin (Germany)
www.teufelaudio.com
Phone: 00800 200 300 40 (toll-free)
Fax: +49 (0)30 – 300 930 930
Online-support: www.teufelaudio.com/service
Contact: www.teufelaudio.com/contact
No responsibility is assumed for the correctness of this information. Technical changes, typographical errors, and other errors are reserved.
Manual no. 195479_EN_20220126_V2.0
























