FIRST AUSTRIA FA-5143-3 1200 W Minced Meat Grinder Instruction Manual
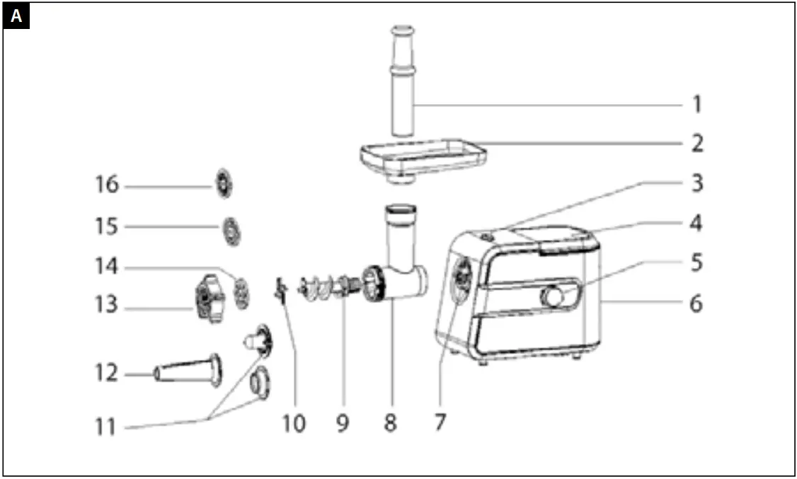
DESCRIPTION (fig. A)

- Food pusher
- Hopper plate
- Button of head
- Store box
- rotary switch
- Wave box
- Wave box head
- Head
- Snake
- Cross cutting blade
- Kubbe attachment
- Sausage attachment
- Fixing ring
- Ø7 Cutting plate (large)
- Ø5 Cutting plate (medium)
- Ø3 Cutting plate (fine)
INTRODUCTION
This appliance is equipped with a thermostat system. This system will automatically cut off the power supply to the appliance in case of overheating.
If you appliance suddenly stops running:
- Pull the mains plug out of the socket.
- Press the switch button to turn off the appliance.
- Let the appliance cool down for 60 minutes.
- Put the mains plug in the socket.
- Switch the appliance on again.
Please contact your dealer of an authorized service center if the thermostat system is activated too often.
CAUTION: In order to avoid a hazardous situation, this appliance must never be connected to a time switch.
IMPORTANT
- Read these instructions for use carefully and look at the illustrations before using the appliance.
- Keep these instructions for future reference.
- Check if the voltage indicated on the appliance corresponds to the local mains voltage before you connect the appliance.
- Never use any accessories of parts from other manufacture. Your guarantee will become invalid if such accessories or parts have been used.
- Do not use the appliance if the mains cord, the plug or other parts are damaged.
- If the mains cord of this appliance is damaged, it muse always be replaced by manufacture or a service center authorized, in order to avoid hazardous situations.
- Thoroughly clean the parts that will come into contact with food before you use the appliance for the first time.
- Unplug the appliance immediately after use.
- Never use you finger or an objection to push ingredients down the feed tube while the appliance is running. Only the pusher is to be used for this purpose.
- Keep the appliance out of the reach of children.
- Never let the appliance run unattended.
- Switch the appliance off before detaching and install any accessory.
- Wait until moving parts have stopped running before you remove the parts of the appliance.
- Never immerse the motor unit in the water or any other liquid, nor rinse it under the tap.
Use only a moist cloth to clean the motor unit. - Do not attempt to grind bones, nuts or other hard items.
- Never reach into the cutter housing. Always use the pusher.
- After 18 minutes continuous use, allow a
- minutes rest before next use.
- Accessories shall include instructions for their safe use.
- It shall warn of potential injury from misuse.
- This appliance can be used by children aged from 8 years and above if they have been given supervision or instruction concerning use of the appliance in a safe way and if they understand the hazards involved. Cleaning and user maintenance shall not be made by children unless they are aged from 8 years and above and supervised. Keep the appliance and its cord out of reach of children aged less than 8 years.
- This appliance is intended to be used in household and similar applications such as:
- staff kitchen areas in shops, offices and other working environments;
- farm houses;
- by clients in hotels, motels and other residential type environments;
- bed and breakfast type environments.
- If the appliance is locked, please press Reversal button (REV). The meat locked in cutter housing is untrodden, so the appliance can renew its usual condition.
INSTRUCTION FOR USE
ASSEMBLING
- Press the fasten button, hold the head and insert it into the inlet when inserting please pay attention the head must be slanted as per arrow indicated on the top, see (fig. 1), then move the head anticlockwise so that the head being fastened tightly. (fig. 2)

- Place the snake into the head, long end first, and turn to feed the screw slightly until it is set into the motor housing (fig. 3).
- Place the cutting blade onto the snake shaft with the blade facing the front as illustrated (fig. 4). If it is not fitted properly, meat will not be grinded.

- Place the desired cutting plate next to the cutting blade, fitting protrusions in the slot (fig. 5).
- Support or press the center of the cutting plate with one finger then screw the fixing ring tight with another hand (fig. 6). Do not over tighten.

- Place the hopper plate on the head and fix it into position.
- Locate the unit on a firm place.
- The air passage at the bottom and the side of the motor housing should be kept free and not blocked.
MINCER
- Insert the worm shaft into the cutter housing, the plastic end first.
Place the cutter unit onto the worm shaft.
(The cutting edges should be at the front)
Place the medium grinding disc or coarse grinding disc (depending on the consistency you prefer) onto the worm shaft. (Make sure the notch of the grinding disc fit onto the projections of the mincer head.) Turn the screw ring in the direction of the arrow on the cutter housing until it is properly fastened. - Attach the cutter housing to the motor unit.
- Place the tray on the upright part of the cutter housing.
- Now the appliance is ready for mincing.
Cut the meat into 10cm-long, 2cm-thick strips.
Remove bones, pieces of gristle and sinews as much as possible. (Never use frozen meat!)
Put the meat in the tray. Use the pusher to gently push the meat into the cutter hosing. (For steak tartare, mince the meat with the medium grinding disc twice.)
MAKING KEBBE
- Insert the worm shaft into the cutter housing, the plastic end first. (fig. 8)
Place the cone in the cutter housing.
Place the former on the cutter housing and screw the ring on the cutter housing. (fig. 9) - Attach the cutter housing to the motor unit.
- Place the tray on the upright part of the cutter housing.
- Now the appliance is ready for making kebbe. (fig. 10)




Feed the prepared kebbe mixture through the kebbe maker. Cut the continuous hollow cylinder into the desired lengths and user as required.
Kebbe is a traditional Middle Eastern dish made primarily of lamp and bulgur wheat which are minced together to form a paste the mixture is extruded through the kebbe maker and cut into short lengths. The tubes can then be stuffed with a minced meat mixture, the ends pinched together and then deep fried.
MAKING SAUSAGES
- Mince the meat
Insert the worm shaft into the cutter housing, the plastic end first. (fig. 11)
Place the separator in the cutter housing.
Place the sausage horn on the cutter housing and screw the ring on the cutter housing.
(Make sure the notches of the separator fit onto the projections of the mincer head.) - Attach the cutter housing to the motor unit.
- Place the tray on the upright part of the cutter housing.
- Now the appliance is ready for making sausages.
Put the ingredients in the tray. Use the pusher to gently push the meat into the cutter housing. Put the sausage skin in lukewarm water for 10 minutes. Then slide the wet skin onto the sausage horn. Push the (seasoned) minced meat into the cutter housing. If the skin gets stuck onto the sausage horn, wet it with some water.
HOW TO CLEAN YOUR APPLIANCES
Meat left behind in the cutter housing may be removed from the inside of the appliance by passing a slice of bread through the cutter housing.
- Before you clean the appliance, switch the appliance off and remove the plug from the socket. (fig. 12)

- Press the release button and turn the whole cutter housing in the direction of the arrow.
Remove the pusher and the tray. (fig. 13)
- Unscrew the screw ring and remove all parts of the cutter housing. Do not clean the parts in the dishwasher!
- Wash all parts that have come into contact with meat in hot soapy water. Clean them immediately after use.
- Rinse them with clear hot water and dry them immediately.
- We advise you to lubricate the cutter unit and the grinding discs with some vegetable oil.
TECHNICAL CHARACTERISTICS
220-240V ⋅ 50/60 Hz ⋅ 550W Nominal/1200W Maximal
Environment friendly disposal
You can help protect the environment!
Please remember to respect the local regulations: hand in the non-working electrical equipments to an appropriate waste disposal center.




























