Tigren TGN 120 MAT MIG/ARC/TIG Inverter Welder

SAFETY SYMBOLS USED THROUGHOUT THIS MANUAL
Danger / Caution: Indicates risk of personal injury and/or the possibility of damage.
Warning: Risk of electrical injury or damage!
Note: Supplementary information.
SAFETY INSTRUCTIONS
IMPORTANT: Please read the following instructions carefully, failure to do so could lead to serious personal injury and / or damage to the inverter welder.
- When using your inverter welder, basic safety precautions should always be followed to reduce the risk of personal injury and / or damage to the welder.
- Read all of these instructions before operating the welder and save this user manual for future reference.
- The welder should not be modified or used for any application other than that for which it was designed.
- This welder was designed to supply electric current for Mig or Arc welding.
- If you are unsure of its relative applications do not hesitate to contact us and we will be more than happy to advise you.
- Before each use of the welder always check no parts are broken and that no parts are missing. Always operate the welder safely and correctly.
- KNOW YOUR WELDER: Read and understand the owner’s manual and labels affixed to the welder. Learn its applications and limitations, as well as the potential hazards specific to it.
- KEEP WORK AREA CLEAN AND WELL LIT: Cluttered work benches and dark areas invite accidents. Floors must not be slippery due to oil, water or sawdust etc.
- DO NOT USE THE WELDER IN DANGEROUS ENVIRONMENTS: Do not use the welder in damp or wet locations, or expose it to rain. Provide adequate space surrounding the work area. Do not use in environments with a potentially explosive atmosphere.
- KEEP CHILDREN AND UNTRAINED PERSONNEL AWAY FROM THE WORK AREA: All visitors should be kept at a safe distance from the work area.
- STORE THE WELDER SAFELY WHEN NOT IN USE: The welder should be stored in a dry location and disconnected from the mains supply, and out of the reach of children.
- USE SAFETY CLOTHING / EQUIPMENT: Use a CE approved welding mask at all times with the correct shade of filter lens. A fume extractor should be used particularly where there is little or no ventilation.
- PROTECT YOURSELF FROM ELECTRIC SHOCK: When working with the welder, avoid con-tact with any earthed items (e.g. pipes, radiators, hobs and refrigerators, etc.). It is advisable wherever possible to use an RCD (residual current device) at the mains socket.
- STAY ALERT: Always watch what you are doing and use common sense. Do not operate the welder when you are tired or under the influence of alcohol or drugs.
- DISCONNECT THE WELDER FROM THE MAINS SUPPLY: When not in use and before ser-vicing.
- AVOID UNINTENTIONAL STRIKING: Make sure the switch is in the OFF position before connecting the welder to the mains supply.
- NEVER LEAVE THE WELDER CONNECTED WHILST UNATTENDED: Turn the welder off and disconnect it from the mains supply between jobs. Do not leave the welder connected to the mains supply if no more welding is to be done.
- DO NOT ABUSE THE MAINS LEAD: Never attempt to move the welder by the mains lead or pull it to remove the plug from the mains socket. Keep the mains lead away from heat, oil and sharp edges. If the mains lead is damaged, it must be replaced by the manufacturer or its service agent or a similarly qualified person in order to avoid unwanted hazards. All extension cables must be checked at regular intervals and replaced if damaged.
- CHECK FOR DAMAGED PARTS: Before every use of the welder, any damage found should be carefully checked to determine that it will operate correctly, safely and perform its intended function. Any damaged, split or missing parts that may affect its operation should be correctly repaired or replaced by an authorised service centre unless otherwise indicated in this instruction manual.
- KEEP ALL PANELS IN PLACE: Never operate the welder with the panels removed, this is extremely dangerous.
- MAINTAIN THE WELDER WITH CARE: Keep the earth clamp, mig tip & shroud clean for the best and safest performance.
- USE ONLY RECOMMENDED ACCESSORIES: Consult this user manual, your distributor or SIP directly for recommended accessories. Follow the instructions that accompany the accessories. The use of improper accessories may cause hazards and will invalidate any warranty you may have.
- SECURE THE WORK-PIECE: Always use welding clamps to secure the work piece. This frees up both hands to operate the welder correctly.
- DO NOT OVERREACH: Keep proper footing and balance at all times.
- USE THE RIGHT TOOL: Do not use the welder to do a job for which it was not designed.
- DO NOT OPERATE THE WELDER IN EXPLOSIVE ATMOSPHERES: Do not use the welder in the presence of flammable liquids, gases, dust or other combustible sources. Welding will create sparks which can ignite the dust or fumes.
- DO NOT EXPOSE THE WELDER TO RAIN OR USE IT IN WET CONDITIONS: Water entering the welder will greatly increase the risk of electric shock and equipment damage.
- HAVE YOUR WELDER REPAIRED BY A QUALIFIED PERSON: The welder is in accordance with the relevant safety requirements. Repairs should only be carried out by qualified persons using original spare parts, otherwise this may result in considerable danger to the user.
- Stop operation immediately if you notice anything abnormal.
- Always disconnect the plug from the mains supply before cleaning or servicing etc. Be alert at all times, especially during repetitive, monotonous operations; Don’t be lulled into a false sense of security.
- Use of improper accessories may cause damage to the inverter welder and surrounding area as well as increasing the risk of injury.
- Do not modify the inverter welder to do tasks other than those intended.
- To avoid injury, the work-piece should never be held with bare hands; The workpiece will become hot during normal welding operations, and stay hot for a period after the weld is complete.
- Appropriate personal protective equipment must be worn and must be designed to protect against all hazards created. Severe permanent injury can result from using inappropriate or insufficient protective equipment – Eyes in particular are at risk. The work should be clamped firmly whilst welding, If its loose it could result in personal injury or damage to the machine or item that is being welded.
- Do not attempt any repairs to the welder unless you are a competent electrician or engineer.
- Ensure that the machine is connected to the correct supply voltage and protected by a fuse or circuit breaker of the recommend rating.
- Never allow the earth clamp and electrode holder to come into contact with each other. Understand the operating environment; Before each use the operator should assess, understand and where possible reduce the specific risks and dangers associated with the operating environment. Bystanders should also be made aware of any risks associated with the operating environment.
- Electromagnetic fields can interfere with various electrical and electronic devices such as pacemakers; Consult your doctor before using any electric welder or cutting device. Keep people with pacemakers away from your welding area when welding.
- Do not wrap cable around your body while welding.
- If the welder is to be used on business premises – ensure that all local and national regulations are followed concerning the use of portable electrical appliances at work.
ELECTRIC SHOCK
Electric inverter welders have the potential to cause a shock that could lead to injury or death. Touching electrically ‘hot’ parts can cause fatal shocks and severe burns; While welding, all metal components connected to the welder are electrically ‘hot’.
- Keep your body and clothing dry. Never work in a damp area without adequate insulation against electrical shock, stay on a dry duck board, or rubber mat when dampness or sweat can not be avoided. Sweat, sea water or moisture between the body and an electrically ’hot’ part or grounded metal reduces the body surfaces electrical resistance enabling dangerous and possibly lethal currents to flow through the body.
- Never allow live metal parts to touch bare skin or any wet clothing, be sure welding gloves are dry.
- Before welding, check for continuity; Be sure the earth clamp is connected to the work-piece as close to the welding areas as possible. Grounds connected to building frame work or other remote locations from the welding area reduce efficiency and increase the potential electric shock hazard.
- Avoid the possibility of the welding current passing through lifting chains, crane cables or other electric paths. Frequently inspect leads for wear, splits, cracks and any other damage. Immediately replace those with worn or damaged insulation to avoid a possibly lethal shock from bare leads.
FIRE
During normal operation, the heat and sparks created during the welding process have the potential to ignite flammable liquids, gases or other combustible material.
- All inflammable materials must be removed from the area.
- Have a suitable fire extinguisher available close by.
- Causes of fire and explosion include; combustibles reached by the arc, flame, flying sparks, hot slag or heated material, misuse of compressed gases and cylinders and short circuits.
- Flying sparks or falling slag can pass through cracks along pipes, through windows or doors and through walls or floor openings and out of sight of the operator; Sparks and slag can fly up-to 10 metres.
- Keep equipment clean and operable; Free of oil, grease and of metallic particles (in electrical parts) that can cause short circuits.
- If combustibles are in the area. Do not weld , move the work if practical to an area free of combustibles, avoid paint spray rooms, dip tanks, storage areas and ventilators. If the work can not be moved, then move the combustibles at least 10 metres away and out of the reach of sparks and heat or protect against ignition with suitable and snug fitting, fire resistant covers or shields.
- Walls touching combustibles on opposite sides should not be welded on, walls, ceilings and the floor near the work area should be protected by heat resistant covers or shields.
- Openings (concealed or visible) in floors or walls within 10 metres may expose combustibles to sparks.
- Combustibles adjacent to walls, ceilings, roofs or metal partitions can be ignited by radiant or conducted heat.
- After the work is done, check that the area is free of sparks, glowing embers and flames.
- An empty container that has held combustibles, or that can produce flammable or toxic vapours when heated, must never be welded, unless the container has first been cleaned. Consult HSE
- INDG214, HSG250 and CS15. HSE document CS15 includes information on cleaning by thorough steam or solvent/caustic cleaning followed by purging and inserting with nitrogen, carbon dioxide or water filling just below working level.
- A container with unknown contents should be treated as if it contained combustibles (see previous paragraph), Do not depend on sense of smell or sight to determine if it is safe to weld.
- Hollow items must be vented before welding as they can explode.
- Explosive atmosphere; Never weld when the air may contain flammable dust, gas or liquid vapours (such as petrol).
GLARE AND BURNS
The welding arc produces ultraviolet (UV) and infrared (IR) rays as well as extreme tem-peratures that can cause injury to your eyes and skin. Do not look at the welding arc without proper eye protection.
- The electric welding arc must not be observed with the naked eye. Always use a welding mask; Ensure the welding mask is fitted with the correct shade of filter lens for the welding current level, and covers the entire face from neck to the top of the head.
- Welding gauntlet gloves should be worn to protect the hands from burns, non-synthetic overalls with buttons at the neck and wrist, or similar clothing should be worn. Greasy overalls should not be worn. Wear suitable protective footwear. Always wear correctly rated protective clothing which covers all areas of the body; The operator should not weld with any bare skin showing to reduce the chance of burns etc.
- Avoid oily or greasy clothing, a spark may ignite them.
- Hot metal such as electrode stubs and work-pieces should never be handled without gloves.
- First aid facilities and a qualified first aid person should be available for each shift unless medical facilities are close by for immediate treatment of flash burns to the eyes and skin.
- Flammable hair products should not be used by persons intending to weld. Warn bystanders not to watch the arc and not to expose themselves to the welding arc rays or to hot metal.
- Keep children away whilst welding, they may not be aware that looking at an arc can cause serious eye damage.
- Protect other nearby personnel from arc rays and hot sparks with a suitable non-flammable partition.
VENTILATION
- Ventilation must be adequate to remove the smoke and fumes during welding (see the relevant safety standard for acceptable levels).
- Toxic gases may be given off when welding, especially if zinc or cadmium coated materials are involved, welding should be carried out in a well ventilated area and the operator should always be alert to fume build-up.
- Areas with little or no ventilation should always use a fume extractor.
- Vapours of chlorinated solvents can form the toxic gas phosphine when exposed to U.V radiation from an electric arc. All solvents, degreasers and potential sources of these vapours must be removed from the arc area.
- Severe discomfort, illness or death can result from fumes, vapours, heat, oxygen enrichment or depletion that welding (or cutting) may produce. This will be pre-vented by adequate ventilation or using a fume extractor. NEVER ventilate with oxygen.
- Lead, cadmium, zinc, mercury, beryllium bearing and similar materials when welded may produce harmful concentrations of toxic fumes. Adequate ventilation must be provided for every person in the area. The operator should also wear an air supplied respirator, for beryllium both must be used.
- Metals coated with or containing materials that emit toxic fumes should not be heated unless coating is removed from the work surface. The area should be well ventilated or the operator should wear an air supplied respirator.
- Work in a confined space only while it is being ventilated and if necessary whilst wearing an air supplied respirator.
- Gas leaks in a confined space should be avoided, leaking gas in large quantities can change oxygen concentration dangerously. DO NOT bring gas cylinders into a confined space.
- Leaving a confined space you must shut off the gas supply at the source to prevent possible accumulation of gases in the space if down stream valves are left open. Check to be sure that the space is safe before re-entering it.
- Vapours from chlorinated solvents can be decomposed by the heat of the arc (or flame) to form phosgene a highly toxic gas and other lung and eye-irritating products. The ultra violet (radiant) energy of the arc can also decompose trichloroethylene and perchlorethylene vapours to form phosgene. DO NOT WELD or cut where solvent vapours can be drawn into the welding atmosphere, or where the radiant energy can penetrate to atmospheres containing even minute amounts of trichloroethylene or perchlorethylene.
When using the welder always ensure the operator as well as those in the area use a welding mask with the correct shade filter lens.
Some metals and metal composites have the potential to be highly toxic; always wear a face mask .
CAUTION: The warnings and cautions mentioned in this user manual can not cover all possible conditions and situations that may occur. It must be under-stood by the operator that common sense and caution are factors which can-not be built into this product, but must be applied.
ELECTRICAL CONNECTION
- WARNING: It is the responsibility of the owner and the operator to read, understand and comply with the following:
- You must check all electrical products, before use, to ensure that they are safe.
- You must inspect power cables, plugs, sockets and any other connectors for wear or damage.
- You must ensure that the risk of electric shock is minimised by the installation of appropriate safety devices; A residual current circuit Breaker (RCCB) should be incorporated in the main
- distribution board. We also recommend that a residual current device (RCD) is used. It is particularly important to use an RCD with portable products that are plugged into a supply which is not
- protected by an RCCB. If in any doubt consult a qualified electrician.
Connecting to the power supply
This Welder (08202) is supplied with a plug fitted, it must be connected to a 13A supply, if in doubt consult the technical specification table for the required rating or contact a qualified electrician. Before using the welder, inspect all the leads and plugs to ensure that non are damaged. If any damage is visible have the welder inspected / repaired by a suitably qualified person.
The wires for the plug are coloured in the following way:
- Yellow / green: Earth
- AC: Neutral
- Brown: Live
As the colours of the wires may not correspond with the markings in your plug, proceed as follows:
- The wire which is coloured brown, must be connected to the terminal, which is marked L or coloured red.
- The wire which is coloured blue, must be connected to the terminal marked with N or coloured black.
- The wire which is coloured yellow / green should be connected to the terminal which is coloured the same or marked with this symbol
Always secure the wires in the plug terminal carefully and tightly. Secure the cable in the cord grip carefully.
Warning: Never connect live or neutral wires to the earth terminal of the plug. Only fit an approved plug with the correct rated fuse. If in doubt consult a qualified electrician.
Note: Always make sure the mains supply is of the correct voltage and the correct fuse protection is used. In the event of replacing the fuse always replace the fuse with the same value as the original. If an extension lead is required in order to reach the mains supply; ensure that this too is rated for the correct voltage and fuse rating.
GUARANTEE
This Tigren inverter welder is covered by a 12 month parts and labour warranty covering failure due to manufacturers defects. This does not cover failure due to misuse or operating the welder outside the scope of this manual – any claims deemed to be outside the scope of the warranty may be subject to charges Including, but not limited to parts, labour and carriage costs.
Failure to regularly clean your welder will shorten its working life and reduce perfor-mance. The warranty does not cover consumable items & accessories:- contact tips, shrouds, clamps, cables, holders.
The MIG torch is a consumable and is covered by a 3 month manufacturers warranty.
Note: Proof of purchase will be required before any warranty can be honoured.
TECHNICAL SPECIFICATION
| Model | 08202 Tigren TGN 120 MAT | ||
| Input Voltage | 230V – 50Hz | ||
| Mains Plug | UK 13A | ||
| Input Current (Ieff) | 7A | ||
| Mode | MIG | MMA | TIG |
| Output Current (A) | 15 – 120 | 15 – 70 | 15 – 70 |
| Duty Cycle 100% | 46A | 27A | 27A |
| Duty Cycle 60% | 60A | 35A | 35A |
| Duty Cycle 15% | 120A | 70A | 70A |
| Efficiency | 85% | ||
| Power Factor | 0.92 | ||
| Insulation Class | H | ||
| Protection | IP21S | ||
| Cooling | Fan | ||
| Net Weight | 7.36kg | ||
CONTENTS AND ACCESSORIES
- 1 x Welding Machine
- 1 x 2mtr Wired-in MIG torch
- 1 x 3mtr Earth Lead
- 1 x 3mtr Electrode Lead
- 1 x Handshield
- 1 x Chipping Hammer / Wire Brush 1 x 200g 0.8mm Flux Cored Wire 2 x 0.8mm MIG Contact Tips
Note: If any of the above are missing or damaged, contact your distributor immediately.
GETTING TO KNOW YOUR WELDER
| Page No. | Descrip | Page No. | Descrip |
| 1. | MIG Torch Lead | 6. | Thermal Overload Indicator |
| 2. | Welding Voltage / Output Current control | 7. | Carry Handle |
| 3. | Wire Speed control | 8. | Negative Output Socket |
| 4. | Mode Selector Switch | 9. | Positive Output Socket |
| 5. | Power Indicator | 10. | Torch Polarity Lead |
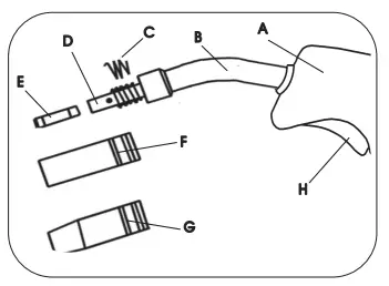
MIG TORCH
| Ref. No. | Description | Ref. No. | Description |
| A. | Torch Handle | E. | MIG Contact Tip |
| B. | Swan Neck | F. | Cylindrical Shroud (not supplied) |
| C. | Shroud Spring | G. | Conical Shroud |
| D. | Gas Diffuser | H. | Trigger Switch |
OPERATING INSTRUCTIONS
MIG WELDING
Connect the earth lead to the welder
The welder is supplied ready for gasless (flux cored) welding; Connect the torch polarity lead to the negative (-) dinse socket.
If using solid wire where a separate shielding gas is required, the torch link lead should be connected to the positive (+) dinse socket. In both cases, the earth lead should be connected to the opposite dinse socket.
- To connect the earth lead simply line up the tab on the dinse connector with the cut out on the dinse socket and turn clockwise to secure.

Loading the welding wire
- Remove the Spool Screw, Spring & Washer. Note: The screw has a Left Hande Thread.
- Fit the welding wire onto the spool spindle. Make sure that the wire is feeding from the bottom of the reel in a anti-clockwise direction.

- Refit the Spool Screw, Spring & washer in reverse order.
- Tighten the screw so that the pressure is enough to hold the reel firmly, this will work as a brake to keep a constant tension on the welding wire.
Note: The Spool Screw should be tightened just enough to stop the roll ‘spinning’ backwards, but not so tight as to put undue stress on the wire feed motor.
This welder only accommodates 100mm diameter mini-spools.
Feeding the welding wire:
Before feeding the wire, you should ensure that the correct wire feed roller is fitted. The machine is supplied with a V type Solid Wire roller. If you intent to use gasless wire a Flux Cored roller will need to be purchased, part number WE13-00156.
To check / change the roller
- Unscrew the pressure adjustment knob on the wire feed motor, so it takes the pressure from the tension arm, (see picture).
- Loosen and remove the roller retaining screw.
- The size of the roller should be clearly marked on the side.
- Change as required by simply pulling the roller from the roller shaft.
- To refit the roller ensure that the slot lines up with the key on the roller shaft. Refit and tighten the retaining screw to secure the roller in place.


The wire can now be fed through the torch
- Remove the shroud from the torch by rotating the shroud clockwise and pulling at the same time.
- Remove the MIG tip.
- Push the pressure adjustment knob on the wire feed motor to the left so it takes the pressure from the tension arm.
- Remove the free end of the Mig wire from the side of the wire spool, trim off the distorted end of the wire with a pair of wire cutters; Hold the wire carefully as it will try to unwind from the spool.

- Feed the wire through the inlet guide spring, over the wire feed roller and into the guide tube.
- Lower the tension arm and ensure the wire sits in the groove of the wire feed roller.
- Push the pressure adjustment knob back to the right and onto the tension arm. Screw the pressure adjustment knob down, but not too tight as it will crush the wire. Plug the welder in to the mains supply and turn it on.
- Set the mode selector switch to MIG mode.
- Hold the torch out straight, press and hold the torch trigger until the wire comes out from the end of the torch.
- Release the torch trigger.
- Re-fit the MIG contact tip and shroud.
- If the spool holder continues to rotate after the torch trigger is released increase the spool friction; Turn the adjustment half a turn clockwise.
Caution: Ensure that no body parts are in line with the torch when the wire comes out as the wire could be sharp.
Note: Be sure the wire feeds from the bottom of the spool and not from the top.
FITTING THE GAS PIPE
Note: In order to use with gas you will need to purchase welding gas and a gas regulator suitable for the type of welding required.
- Push the gas pipe on to the gas fitting on the rear of the machine, secure with a clip.
SETTING THE POLARITY
The welder is supplied ready for gasless welding; Connect the torch polarity lead to the negative (-) dinse socket.
If using solid wire where a separate shielding gas is required, the torch polarity lead should be connected to the positive (+) dinse socket. In both cases, the earth lead should be connected to the opposite dinse socket.
PREPARATION FOR WELDING
- Clean the area to be welded, and the earthing point of all rust, paint and con-taminants etc.
- Place the earth clamp on to a cleaned area of the work piece.
- Connect the welder to the electrical supply but do not switch on.
WELDING
- Set the voltage and wire speed by turning the appropriate controls.
- Press the torch trigger and feed the wire out a little.
- Cut the wire about 3mm from the MIG tip.
- Turn the gas on.
- Position the torch so the MIG contact tip is around 6mm from the point where the welding is to commence.
- Press the torch trigger and move the torch slowly in the chosen direction.
- Once the weld is complete, release the torch trigger.
Note: If the welder has a humming sound and a blob forms on the tip end, then you have insufficient wire feed speed and it should be increased. If the welder has an erratic sound and the torch feels that the wire is hitting against the work, then you have the wire feed speed to high and it should be reduced, when the wire feed speed is correct you should get a steady crackling sound. For future reference make a note of the voltage and wire speed setting for the material that has been welded.
TIG WELDING
You will need to purchase the following items in order to TIG weld (not supplied):
| TIG torch – Part No. 05029 | Regulator | Tungsten electrode |
| Bottle of gas | Filler rod |
The required tungsten diameter is determined by the thickness of the material to be welded, for each tungsten size there are strict current limits which should be adhered to. Too great a current causes excessive tungsten consumption and weld pool contamination, whilst a too small a current causes arc instability.
The table below gives a guide as to which tungsten is most suitable according to the material thickness. This table is only a guide, and values given are a indication only. These welding current values are for thorium 2% (red) tungsten electrodes.
| Welding Thickness mm | Tungsten Diameter mm | Welding Current Steel | Welding Current Stainless Steel |
| 0.5 | 1.0 | 30 – 60 | 15 – 30 |
| 1.0 | 1.6 | 50 – 70 | 50 – 70 |
| 1.5 | 1.6 | 90 – 110 | 60 – 90 |
| 2.0 | 1.6 | 100 – 130 | 80 – 100 |
| 3.0 | 2.4 | 120 – 140 | 130 – 100 |
| 4.0 | 2.4 | 150 – 200 | 130 – 200 |
Note: The above is a guide only; always try a short weld test at the setting selected. It is normal to make minor adjustments to achieve the required weld.
PREPARING THE TUNGSTEN
It is important to choose a tungsten with the correct diameter for the current to be used. The tungsten will normally protrude from the ceramic nozzle by 2 or 3mm, in order to gain access to areas such as internal corners the tungsten can be made to protrude by up to 8mm. The tungsten should be sharpened facing the grinding wheel (see right picture). The tip should be perfectly concentric in order to avoid arc deviations. It is best to regularly inspect the tungsten to maintain peak condition.
PREPARATION FOR WELDING
- Clean the area to be welded, and the earthing point of all rust, paint and contaminants etc.
- Connect the earth clamp dinse plug into the positive dinse socket on the welder. Place the earth clamp onto a cleaned area of the workpiece.
- Fit the grounded tungsten into the TIG torch head.
- Connect the TIG torch power connector to the negative dinse socket on the welder.
- Connect the regulator onto the gas bottle.
- Connect the TIG torch gas pipe onto the regulator.
- Check the TIG torch gas valve is closed.
- Turn the regulator on.
- Connect the welder to the electrical supply but do not switch on.
WELDING
Caution: Ensure all protective equipment is worn and bystanders are not in the vicinity.
- Switch the welder on.
- Set the amperage control to match the tungsten size.
- Select the TIG welding mode on the mode selector switch.
- Open the TIG torch gas valve.
- Place a face mask over your face.
- Scratch the tungsten on the workpiece, when the arc is created proceed steadily in one direction, maintaining a constant distance between the tip of the tungsten and the workpiece. Add filler rod as required.
- Once all work has been done, switch the machine off and turn the gas off.
Note: This is a DC welder and therefore can not be used for Aluminium welding.
ARC WELDING
- There are no hard and fast rules by which a particular gauge of electrode is selected, usually this is determined by the type of welding required and the thickness of the workpiece e.g. a butt weld in
- 1.5mm (1/16”) sheet metal can be done by a 1.6mm or 2.0mm electrode, the difference being that the 2.0mm electrode will do the job more quickly.
- The table below gives a guide as to which electrode is most suitable according to the material thickness. This table is only a guide, and values given are an indication only.
- These welding current values are for the E6013 electrodes, for other types of electrode consult their data sheet.
| Electrode Size (mm) | Material Thickness (mm) | Welding Current (A) |
| 1.6 | 1.2 – 1.6 | 20 – 45 |
| 2.4 | 1.6 – 3.5 | 40 – 90 |
| 3.2 | 3.0 – 6.0 | 80 – 130 |
| 4.0 | 5.0 – 8.5 | 105 – 180 |
Note: The above is a guide only; always try a short weld test at the setting selected. It is normal to make minor adjustments to achieve the required weld.
AMPERAGE CONTROL
The welder should be set to a specific amperage to match the electrode size (see above table). The amperage control is operated by rotating the output current control on the front of the welder; Rotate the knob clockwise to increase the amperage and anti-clockwise to reduce the amperage. Once the amperage control is set do a short weld and check for correct fusion.
PREPARATION FOR WELDING
- Clean the area to be welded, and the earthing point of all rust, paint and con-taminants etc.
- Place the earth clamp on to a cleaned area of the workpiece.
- Connect the welder to the electrical supply but do not switch on.
ARC WELDING
Caution: Ensure all protective equipment is worn and bystanders are not in the vicinity.
- Connect the electrode lead and earth lead to the correct terminal on the front of the welder.
- Fit the required electrode securely into the electrode holder.
- Switch the welder on.
- Set the amperage control to match your electrode size.
- Select the ARC welding mode, press the arrow button up on the welding selector switch.
- Place a face mask over your face.
Note: Be aware that the electrode is now live, simply touching any part of the workpiece will create a spark.
- Bring the electrode into contact with the workpiece using a light tapping action and withdrawing to create a gap of 1.5 mm – 3.0 mm.
- When the arc is created, proceed steadily in one direction keeping the gap between the electrode and the workpiece constant.
- When the weld is complete simply remove the electrode from the workpiece. Remove any excess weld / slag with a wire brush / hammer.
MAINTENANCE
- Clear dust from the machine at regular intervals, if used in a dirty environment the machine should be cleaned once a month.
- Check all connections are clean and tight, if there is any oxidization clean the connection with a mild abrasive or wire brush.
- Check all cable for damaged or degradation to the insulation, replace if any found. Check earth clamp condition ensure they clamp tightly, replace if damaged or loose. If the machine is not to be used for a long time, store it in the original packing a dry place.
- Mig tip and shroud must be cleaned frequently to removes spatter.
- Replace the torch Mig tip regularly good electrical contact between the tip and wire is essential.
- The torch liner should be blown through with dry compressed air from time to time, if the wire does not pass freely through the liner it should be replaced.
TROUBLESHOOTING
Note: If none of the above solutions work then contact your local distributor for repair, or contact SIP technical for more advise ( see back cover for details).
WIRING DIAGRAM

EXPLODED DRAWING

PARTS LIST
| NO. | Description | Qty | SIP CODE |
| 1 | Stuffing gland | 1 | WE13-00128 |
| 2 | Front plate | 1 | WE13-00129 |
| 3 | Plastic trim | 2 | WE13-00130 |
| 4 | Dinse socket | 1 | WE13-00131 |
| 5 | Auminum plate 1 | 1 | WE13-00132 |
| 6 | Auminum plate 2 | 1 | WE13-00133 |
| 7 | Metal panel | 1 | WE13-00134 |
| 8 | Rubber feet | 4 | WE13-00135 |
| 9 | Potentiometer knob | 2 | WE13-00136 |
| 10 | Mode selector switch | 1 | WE13-00137 |
| 11 | Led indicator | 2 | WE13-00138 |
| 12 | Wire feeder system | 1 | WE13-00139 |
| 13 | Cover | 1 | WE13-00140 |
| 14 | Latch | 2 | WE13-00141 |
| 15 | Side plate | 1 | WE13-00142 |
| 16 | Hinge | 2 | WE13-00143 |
| 17 | Reel hub assembly | 1 | WE13-00144 |
| 18 | Safety plate | 1 | WE13-00145 |
| 19 | On/Off Switch | 1 | WE13-00146 |
| 20 | Mains lead | 1 | WE13-00147 |
| 21 | Stuffing gland | 1 | WE13-00148 |
| 22 | Carry handle | 1 | WE13-00149 |
| 23 | Gas connector | 1 | WE13-00150 |
| 24 | Fan | 1 | WE13-00151 |
| 25 | Chassis | 1 | WE13-00152 |
| 26 | PCB | 1 | WE13-00153 |
| 27 | Casing | 1 | WE13-00154 |
| 28 | Wire Rollers – V type for solid wire | 1 | WE13-00155 |
| 29 | Wire Rollers – W type for flux wire | 1 | WE13-00156 |
PARTS LIST (MIG TORCH)
| Item No | Description | Part Number |
| 1 | Conical Shroud | 09086 |
| 2 | 0.6mm Contact Tip | 09070 |
| 2 | 0.8mm Contact Tip | 09080 |
| 3 | Shroud Spring | 09084 |
| 4 | Tip Adaptor | 09317 |
| 5 | Insulator | N/A |
| 6 | Swan Neck | 02711 |
UK – DECLARATION OF CONFORMITY
Declaration of Conformity
- We
- SIP (Industrial Products) Ltd
- Gelders Hall Road
- Shepshed
- Loughborough
- Leicestershire
- LE12 9NH
- England
- As the manufacturer within the UK, England, Scotland & Wales, declare that the Tigren TGN120MAT MIG ARC TIG Inverter Welder – Part. No. 08202
Conforms to the requirements of the following directive(s), as indicated.
- Electrical Equipment (Safety) Regulations 2016
- Electromagnetic Compatibility Regulations 2016
The Restriction of the Use of Certain Hazardous Substances in Electrical and Electronic Equipment Regulations 2012
And the relevant harmonised standard(s), including
BS EN 60974-1:2012
BS EN 60974-10:2014+A1:2015
Mr P. Ippaso – Director – SIP (Industrial Products) Ltd Date: 28/06/2021






















