tp-link Tapo A200 Solar Panel

Product Information
Tapo Solar Panel The Tapo Solar Panel is a device that helps to power your Tapo device using solar energy. It comes with a mounting bracket and a USB cable that connects to your Tapo device. The solar panel should be positioned in a location where it receives maximum sunlight throughout the year for optimal performance. It can be mounted on any surface using the provided mounting bracket and screws.
Tapo Solar Panel – Product Usage
To use the Tapo Solar Panel, follow these steps:
Step 1: Position the Solar Panel
- Choose a location where the solar panel gets the most sunlight throughout the year.
- Position the panel south-facing in the Northern Hemisphere or north-facing in the Southern Hemisphere.
Step 2: Mount the Solar Panel
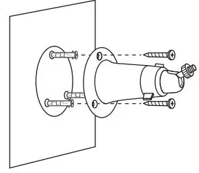
- Stick the mounting template to the desired location. Drill three screw holes according to the template.
- Insert three mounting anchors into the holes and use the mounting screws to affix the bracket over the anchors.
- Install the solar panel on the bracket and tighten the fixing screw.
- Loosen the adjusting screw, adjust the angle of the solar panel, and tighten the screw. For the optimal tilt angle, subtract or add 15 degrees from the latitude during summer or winter.
Step 3: Connect the Solar Panel to Your Tapo Device
- Slide the waterproof gasket onto the USB connector of the solar panel cable.
- Plug the USB connector into the USB port of your Tapo device for charging.
Note: Regularly wipe the panel to remove dust and debris for optimal performance.
Position the Solar Panel
- Choose a location where the solar panel gets the most sunlight throughout the year.
- Position the panel south-facing in the Northern Hemisphere or north-facing in the Southern Hemisphere.

- Regularly wipe the panel to remove dust and debris.
Mount the Solar Panel
- Drill Holes
Stick the mounting template to the desired location. Drill three screw holes according to the template.
- Mount Bracket
Insert three mounting anchors into the holes and use the mounting screws to affix the bracket over the anchors.
- Install Solar Panel
Install the solar panel on the bracket and tighten the fixing screw.
- Adjust Angle
Loosen the adjusting screw, adjust the angle of the solar panel, and tighten the screw.
Note: For the optimal tilt angle, subtract or add 15 degrees from the latitude during summer or winter.
Connect the Solar Panel to Your Tapo Device
- Slide the waterproof gasket onto the USB connector of the solar panel cable.

- Plug the USB connector into the USB port of your Tapo device for charging.

TP-Link hereby declares that the device is in compliance with the essential requirements and other relevant provisions of directives
2014/30/EU, 2014/35/EU, 2009/125/EC, 2011/65/EU and (EU)2015/863.
The original EU declaration of conformity may be found at https://www.tapo.com/support/ce/
TP-Link hereby declares that the device is in compliance with the essential requirements and other relevant provisions of the Electromagnetic Compatibility Regulations 2016 and Electrical Equipment (Safety) Regulations 2016.
The original UK declaration of conformity may be found at https://www.tapo.com/support/ukca/.
warranty
For TP-Link Branded Products Only. For more information about warranty, please visit https://www.tapo.com/support
THIS WARRANTY GIVES YOU SPECIFIC LEGAL RIGHTS, AND YOU MAY HAVE OTHER RIGHTS THAT VARY FROM STATE TO STATE (OR BY
COUNTRY OR PROVINCE).
TO THE EXTENT ALLOWED BY LOCAL LAW, THIS WARRANTY AND THE REMEDIES SET FORTH ARE EXCLUSIVE AND IN LIEU OF ALL OTHER
WARRANTIES, REMEDIES AND CONDITIONS.
TP-Link warrants the TP-Link branded hardware product contained in the original packaging against defects in materials and workmanship when used normally in according with TP-Link’ s guidelines for some period which depends on the local service from the date of original retail purchase by the end-user purchaser
Safety Information
- Keep the device away from fire or hot environments. DO NOT immerse in water or any other liquid.
- Do not attempt to disassemble, repair, or modify the device. If you need service, please contact us.
- Avoid scratching and hitting the surface of the solar panel during use.
- Avoid contact with highly corrosive substances during use.
- The suitable temperature for Tapo A200 and accessories is -20°C~45°C. The working temperature range for battery charging should be maintained at 0°C~45°C.
- Make sure the USB connector is fully plugged into your Tapo device.
- Make sure you follow the user manual to install the solar panel correctly.
- Make sure the waterproof gasket and other accessories can protect the connectors on your Tapo device.
Please read and follow the above safety information when operating the device. We cannot guarantee that no accidents or damage will occur due to improper use of the device. Please use this product with care and operate at your own risk.
Visit www.tapo.com/support for technical support, user guides, and more information

























