SYLVANIA LEDFLUSHDRM Drum Fixture

PLANNING THE INSTALLATION
Read all instructions before installation. Before starting installation of this fixture or removal of a previous fixture, disconnect the power by turning off the circuit breaker or by removing the fuse at the fuse box.
TOOLS REQUIRED

HARDWARE INCLUDED

| Part | Description | Quant ty |
| AA | Mounting Bracket | 1 |
| BB | Wire Nut | 3 |
| cc | 1-1/2 in. Machine Screw | 2 |
| DD | 1/2 in. Machine Screw | 2 |
| EE | Ground Screw | 1 |
PACKAGE CONTENTS

| Part | Description | Quantity |
| A | Fixture Body | 1 |
| B | Cover |
Installation
PREPARING THE FIXTURE
WARNING: Be sure the electricity to the wires you are working on Is shut Lll off. Either remove the fuse or turn the circuit off. Remove the cover (B) from the fixture (A) by turning it counterclockwise.

PREPARING THE MOUNTING BRACKET
- Align two of the threaded holes on the mounting bracket (AA) over one set of keyhole slots on the fixture (A).
- From the inside of the fixture (A), insert the 1-1/2 in. screws (CC) and ground screw (EE) into the aligned holes, leaving approximately 1 in. of space between the screw heads and mounting bracket (AA).

INSTALLING THE MOUNTING BRACKET
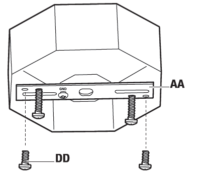
Attach the mounting bracket (AA) to the outlet box (not included) using the 1/2 in. screws (DD).

CONNECTING THE WIRES
- Connect the copper wire on the fixture (A) to the mounting bracket (AA) by securing it with the ground screw (EE).
- Use a wire connector (BB) to connect the ground wire from the fixture (A) to the ground wire from the outlet box.
- Use a wire connector (BB) to connect the white wire from the fixture (A) to the white wire (neutral wire) from the outlet box.
- Use a wire connector (BB) to connect the black wire from the fixture (A) to the black wire (live wire) from the outlet box.
- Wrap the three wire connections with electrical tape for a more secure connection.
- Position the wires inside the outlet box.

SECURING THE FIXTURE
Align the channels on the fixture with the screws (CC) protruding from the mounting bracket. Slide the fixture until it clicks into place over the screws (CC). Tighten the screws (CC ) to secure the fixture (A) in place

SELECT CCT AND ATTACHING THE COVER
- Switch the key to the CCT you want.
- Attach the cover (B) by turning it clockwise on the fixture (A).
Safety Information
WARNING: RISK OF PERSONAL INJURY· PLEASE READ THESE INSTRUCTIONS CAREFULLY. FOLLOW All INSTALLATION INSTRUCTIONS AND OBSERVE ALL WARNINGS.
Retain these instructions. If you are an installer, please give these instructions to the property owner for future reference
- Make sure the “supply” voltage corresponds to the “rated” product voltage 120V 60Hz.
- The product MUST be installed by a qualified electrician in accordance with The National Electrical Code and corresponding local codes.
- If the product is damaged, DO NOT ATTEMPT INSTALLATION AND DO NOT USE
Warning
up period about 1 OS everytime the sensor gets powered.
- WARNING: Be sure the electricity to the wires you are working on is shut off. Either remove the fuse or turn the circuit off.
- WARNING: Risk of electrical shock: This product must be installed in accordance with the applicable installation code by a professional tamiliar with the construction and operation of the product The professional should also be aware of, and understand the hazards involved with the installation of this product.
- WARNING: Risk of fire: Always consult with a qualified electrician to ensure the correct branch circuit conductor is utilized. Toe minimum conduc1Dr rating requirement is 90° C (194°F) in order to be code compliant
- CAUTION: Risk of injury: Always wear the necessary safety equipment to prevent injuries when opening, handling, installing and maintaining this product.


















