bAnks F-250,350,450 Trucks Monster Exhaust System

Product Information
The product is an exhaust system designed for use with 2017+ Ford Power Stroke 6.7L Turbo-Diesel F-250/F-350/F-450 Trucks. It is compatible with System 49795 & 19795-B, and can also fit Tremor if the spare tire is adjusted for additional clearance. The product is manufactured by Banks Power.
For more information and sales inquiries, you can contact Banks Power at (888) 635-4565. If you require customer support, you can reach them at (888) 839-5600. Installation support is available at (888) 839-2700. You can also visit their website at bankspower.com.
Product Usage Instructions
- Before starting the installation, read all of the instructions to familiarize yourself with the process.
- Refer to the exploded view (Figure 1, pages 4-5) for general guidance, but follow each step and section diagram in the manual for proper instruction.
- In this manual, the left side of the vehicle refers to the driver’s side, and the right side refers to the passenger’s side.
- Disconnect the negative (ground) cable from the battery (or batteries) before beginning work.
- Route and tie wires and hoses at least 6 inches away from exhaust heat, moving parts, and sharp edges. It is recommended to have a clearance of 8 inches or more where possible.
- When raising the vehicle, use properly weight-rated safety stands, ramps, or a commercial hoist. Follow the manufacturer’s safety precautions and ensure the vehicle is balanced to prevent slipping or falling.
- During installation, keep the work area clean and prevent anything from being dropped into intake, exhaust, or lubrication system components, as foreign objects can cause immediate engine damage upon start-up.
- Use the recommended tools and supplies for the installation.
Important Safety Precautions
- Read and understand the owner’s manual prior to use. Failure to follow warnings could result in serious injury or death.
- Do not park, idle, or drive the vehicle on dry grass or other dry ground cover as the emission system heats up the engine compartment and exhaust system, creating a risk of fire.
- The normal operating temperature of the exhaust system is very high. Never work around or attempt to repair any part of the exhaust system until it has cooled.
- Exercise special care when working around the diesel oxidation catalytic converter or diesel particulate filter as they heat up to very high temperatures after a short period of engine operation and remain hot even after the engine is switched off.
Banks Monster®
Exhaust System
2017+ Ford Power Stroke 6.7L
Turbo-Diesel F-250/F-350/F-450 Trucks
THIS MANUAL IS FOR USE WITH SYSTEM 49795 & 19795-B
*CAN FIT TREMOR IF THE SPARE TIRE IS ADJUSTED FOR ADDITIONAL CLEARANCE
Step-by-step installation video:
- iPhone: Point camera at QR code.
- Android/Windows: Use QR app or type URL into browser.
- bankspower.com/v/install-ford67-exhaust

General Installation Practices
Dear Customer,
If you have any questions concerning the installation of your Banks Techni-Cooler, please call our Technical Service Hotline at
(888) 839-2700 between
7:00 a.m. and 4:00 p.m. (P.T.). If you have any questions relating to shipping or billing, please contact our Customer Service Department at (888) 839-5600.
Thank you.
- Before starting work, familiarize yourself with the installation procedure by reading all of the instructions.
- The exploded view (Figure 1, pages 4-5) provides only general guidance. Refer to each step and section diagram in this manual for proper instruction.
- Throughout this manual, the left side of the vehicle refers to the driver’s side, and the right side to the passenger’s side.
- Disconnect the negative (ground) cable from the battery (or batteries, if there are two) before beginning work.
- Route and tie wires and hoses a minimum of 6” away from exhaust heat, moving parts, and sharp edges. Clearance of 8” or more is recommended where possible.
- When raising the vehicle, support it on properly weight-rated safety stands, ramps or a commercial hoist. Follow the manufacturer’s safety precautions. Take care to balance the vehicle to prevent it from slipping or falling. When using ramps, be sure the front wheels are centered squarely on the topsides. When raising the front of the vehicle, put the transmission in park (automatic) or reverse (manual), set the parking brake, and block the rear wheels. When raising the back of the vehicle, be sure the vehicle is on level ground and the front wheels are blocked securely.
CAUTION! Do not use floor jacks to support the vehicle while working under it. Do not raise the vehicle onto concrete blocks, masonry or any other item not intended specifically for this use. - During installation, keep the work area clean. Do not allow anything to be dropped into intake, exhaust, or lubrication system components while performing the installation, as foreign objects will cause immediate engine damage upon start-up.
TOOLS REQUIRED:
- 1⁄2” and 3⁄8” drive ratchets with inch and metric sockets and 1⁄2” and 3⁄8” drive extension
- Inch and metric combination or open-end wrenches
- Standard screwdriver
- Clean shop towels or rags
- Pry-bar
HIGHLY RECOMMENDED TOOLS AND SUPPLIES: Penetrating oil or light lubricant spray
WARNING! READ AND UNDERSTAND OWNER’S MANUAL PRIOR TO USE. FAILURE TO FOLLOW WARNINGS COULD RESULT IN SERIOUS INJURY OR DEATH.
NORMAL OPERATION
Do not park, idle, or drive your vehicle on dry grass or other dry ground cover. The emission system heats up the engine compartment and exhaust system, creating a risk of fire.
The normal operating temperature of the exhaust system is very high. Never work around or attempt to repair any part of the exhaust system until it has cooled. Use special care when working around the diesel oxidation catalytic converter or diesel particulate filter. The diesel oxidation catalytic converter and the diesel particulate filter heat up to very high temperatures after only a short period of engine operation and remain hot after you switch the engine off.
Stay clear of the exhaust tailpipe after prolonged driving. Hot exhaust gasses and coming in contact with the tailpipe and/or tailpipe tip can burn you badly.
REGENERATION
Do not park or idle your vehicle
over dry leaves, dry grass or other combustible materials. The regeneration process creates very high exhaust gas temperatures and the exhaust will radiate a considerable amount of heat during and after regeneration and after you have switched the engine off. This is a potential fire hazard.
The normal operating temperature of the exhaust system is very high. Never work around or attempt to repair any part of the exhaust system until it has cooled. Use special care when working around the diesel oxidation catalytic converter or diesel particulate filter. The diesel oxidation catalytic converter and the diesel particulate filter heat up to very high temperatures after only a short period of engine operation and remain hot after you switch the engine off.
Stay clear of the exhaust tailpipe during regeneration. Hot exhaust gasses and coming in contact with the tailpipe and/or the tailpipe can burn you badly.
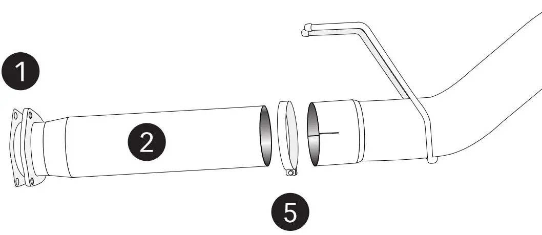
General Assembly Diagram
| Item | Description | P/N | Qty. |
| 1 | Gasket, Intermediate Pipe | 93211 | 1 |
| 2 | Intermediate Pipe | 53794 | 1 |
| 3 | Front Tailpipe | 53806 | 1 |
| 4 | Rear Tailpipe | 53805 | 1 |
| 5 | Exhaust band Clamp, 5” | 52473 | 3 |
| 6 | Tip, Tailpipe | 52734/ 52735 | 1 |
Note: Tighten all Banks Exhaust band clamps to 50 ft-lbs.


Monster Exhaust System Installation
- As a precaution, disconnect the ground of the battery (if there is more than one battery, disconnect both).
- Raise the vehicle and support it with properly weight rated safety stands, ramps or a commercial hoist. Follow the manufacturer’s safety precautions. Take care to balance the vehicle to prevent it from slipping or falling. When using ramps, be sure the front wheels are centered squarely on the topsides; place the transmission in park; set the parking brake and place blocks behind the rear wheels.
DO NOT WORK
UNDER ANY VEHICLE SUPPORTED ONLY BY A JACK. SEVERE INJURY MAY RESULT. - Remove Factory NOx sensor with a 24 mm wrench and tie safely out of the way to prevent damage. See Figure 2.

- Remove factory tailpipe from the vehicle by disengaging exhaust system hanger pins from the rubber hangers using a large screw-driver or pry bar.
Lubricating the rubber
hangers with WD-40 or similar lubricant will ease removal of the hanger pins.2017+ Ford Power Stroke 6.7L
2017+ Ford Power Stroke 6.7L Wheel Base Cut this length from the Inter- mediate Pipe. See Figure 3. Super Cab/ Short Bed 148” 28.0 Crew Cab/ Short Bed 159.8” 16.2 Super Cab/ Long Bed 164.2” 11.8 Crew Cab/ Long Bed 176” No Cut - Remove the factory exhaust from the vehicle by removing the three (3) nuts from the factory exhaust flange located at the factory exhaust inlet.
- Locate the supplied intermediate pipe and cut the intermediate pipe based on the following configurations. See Table 1. Cut the NON-flanged end of the intermediate pipe. See Figure 3.

- Install the Banks intermediate pipe and 3-bolt gasket onto the headpipe.
- Slide the supplied 5” exhaust clamp onto the outlet of the Banks flanged intermediate pipe.
- Route the Front Tailpipe over the rear axle housing Insert the hanger pins into the factory rubber hanger. Install the Front Tailpipe onto the Banks Intermediate pipe outlet.
- Install the 5” exhaust clamp onto the inlet of the Rear Tailpipe. Start the Rear Tailpipe hanger pin into the corresponding vehicle rubber hanger. Install the Rear Tailpipe over the outlet of the Front Tailpipe. Slide the 5” clamp into position that best supports the tailpipe assembly. Loosely snug the hanger clamp on the intermediate pipe outlet.
Maintain an adequate air gap clearance of 0.5 inch between the exhaust and the shock absorber and between the exhaust and the spare tire.
If the heatshield touches the spare tire, loosen the spare and slide over to increase clearance, and then re-tighten. - Figure 4 illustrates the proper location of an exhaust clamp on a tubing joint.

- Install Banks Monster tailpipe tip with exhaust band clamp on the exhaust. Keep the wrapping on until installation is complete. Minimum distance between exhaust tip and body is one (1) inch.
- With everything positioned properly, begin to tighten the clamps starting with the ones closest to the turbo and working your way back. Tighten all clamps to 50 ft-lbs.
- Re-install factory NOx sensor into Banks exhaust bung . Tighten by hand until snug, then with a wrench: 1/8-1/4 turn.
- Remove the protective covering from the tailpipe tip. THE PROTECTIVE COVERING MAY IGNITE AND BURN IF NOT REMOVED PRIOR TO RUNNING THE ENGINE.
- Your system includes two “Banks Power” logos designed to complement the Ford badging on your truck. See Figure 6 to position the logos for a clean factory look.
- Re-connect battery terminals if previously removed. Banks Monster Exhaust installation is now complete.

Gale Banks Engineering
- 546 Duggan Avenue
- Azusa, CA 91702 (626) 969-9600
- Fax (626) 334-1743
- Product Information & Sales: (888) 635-4565
- Customer Support: (888) 839-5600
- Installation Support: (888) 839-2700
- bankspower.com
- ©2022 Gale Banks Engineering


















