ALJ100 Temperature Adapter
Instruction Manual
A5W00052151A
A6V11484534
ALJ100
GLB.., GLD.., GMA..,
GDB.., GDD.., GSD.., GQD..
+ VA..60.. / VA..61..
+ VB..60.. / VB..61..
| GDB.. | GDD.. | GLB.. | GLD.. | GMA.. | GSD.. | GQD.. | ||
| > 0 °C | ✓ | ✓ | ✓ | ✓ | ✓ | ✓ | ✓ | |
| ≤ 0 °C | X | X | ✓ | ✓ | ✓ | X | X |
Notes/Warnings
![]()
![]()
https://siemens.com/bt/download
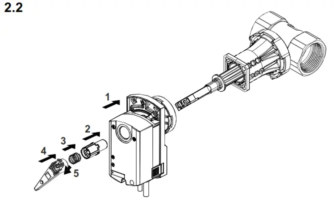
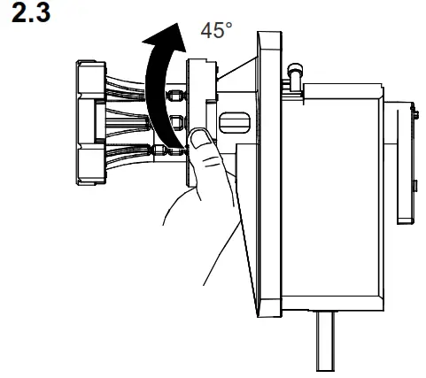
Mounting

Silicone grease



Dimensions

Dimensions in mm
Issued by
Siemens Switzerland Ltd
Smart Infrastructure
Global Headquarters
Theilerstrasse 1a
6300 Zug
Switzerland
Tel. +41 58-724 24 24
www.siemens.com/buildingtechnologies
© Siemens Switzerland Ltd, 2021.
Technical specifications and availability are subject to change without notice.
2021-11-08
A6V11484534_—-_c
A5W00052151A-AD-004
Smart Infrastructure

















