WGB32B Series Heavy Duty Water Filtration System
User Manual
Model: WGB32B, WGB32BM, WGB32B-PB, WGB32B-KS
Copyright ©2005-2021 ISPRING WATER SYSTEMS, LLC.
All rights reserved.
Ver. 05/2021
http://WWW.123FILTER.COM
Thank you for choosing iSpring Water Filtration Systems! Built from quality components and delivering exceptional performance, this system is designed to provide you and your loved ones with a continuous on-demand supply of clean and refreshing filtered water for many years to come.
This manual includes the necessary information on how to properly install, operate, and maintain your iSpring Water Filtration System.
Please keep this manual for future reference.
Attention Installers
DO NOT use petroleum-based lubricant on o-rings.
DO NOT use white plumber’s grease or faucet/valve lubricant on o-rings.
O-rings that ship with this system are pre-lubricated and ready for installation.
When additional lubrication is needed, please contact us at 678-261-7611
(M-F, 8:30 – 5:30 EST) or email us at [email protected].
Fittings Installation
Depending on the actual size of the pipe, up to 12 – 15 wraps of plumber’s tape might be required to seal the pipe connections. Apply 6 – 7 wraps of tape and press into threads without cutting. Apply 6 – 7 more wraps and neatly form before installation.
Plumber’s tape can be purchased on our website at www.123Filter.com.
Product Overview
Product Operations and Specifications
| Model | WGB32B Series |
| Flow Rate | 3 – 15 GPM |
| Peak Flow Rate | 15 GPM |
| Minimum Working Pressure | 25 psi |
| Maximum Working Pressure | 80 psi |
| Operating Temperature | 40 -100 °F (4 – 37 °C) |
| pH Range | 6-11 |
Component List
| Part | Description | Qty |
| System bracket with caps | Metal bracket with 1″ NPT inlet /outlet + Blackcaps | 1 |
| Housing | Housing with o-rings (Model number: HB28B) | 3 |
| Cartridges | WGB32B: Sediment Filter (FP25B) x 1, Carbon Filter (FC25B) x 2 WGB32BM: Sediment Filter (FP25B) x 1, Carbon Filter (FC25B) x 1, Iron & Manganese Reducing Filter (FM25B) x 1 WGB32B-KS: Sediment Filter (FP25B) x 1, Carbon Filter (FC25B) x 1, GAC+KDF Compound Filter (FG25B-KS) x 1 WGB32B-PB: Sediment Filter (FP25B) x 1, Carbon Filter (FC25B) x 1, Lead Reducing Filter (FCRC25B) x 1 | 3 |
| Wrench | Housing wrench (Model number: AWR3) | 1 |
Tools Needed
| Safety Glasses | Pipe Cutter |
| Towels | Torch |
| Flat Head Screwdriver | Adjustable Wrench & Medium Crescent Wrench |
| Deburring Tools | Plumber’s Tape |
Parts Not Included
- (4x) Shutoff valves
- (2x) Hex nipples or pipe nipples
- (2x) Pipe union pressure regulators (as needed)
- (1 x) Ground jumper cable
- (2x) Mounting screws
- (2x) 1″ male NPT threaded adapters
- (2x) Pipe hangers
Installation
Pre-installation Notes
- This installation guide provides a step-by-step, start to finish the procedure for installing your iSpring whole house water filter. All steps provided herein are for typical installations only.
Your specific application may vary. - This filter system should not be used with water that is microbiologically unsafe or of unknown quality without adequate disinfection before and/or after the system.
- The filter should be kept in a sheltered location and should never be exposed to freezing or extreme temperatures and direct sunlight. Such damage is not covered under any warranty.
- Be sure to note the inlet/outlet markings and the water flow direction.
- A three-valve bypass valve and loop may be installed to loop the entire system to make servicing easier.
- Hard copper pipes generally come in two types. Use the thicker “L” type copper pipe rather than thinner “M” type copper pipe.
- Follow all local plumbing and building codes.
- Be sure to use Teflon tape on threaded fittings.
- If you and/or your plumber have any questions about installation, please call us at 678-261-7611 (M-F, 8:30 – 5:30 EST). We are happy to help.
Pre-installation
- Turn off the water in your house before beginning the installation.
- Turn off power to your water heater before installation.
- Open all plumbing fixtures in the house to drain the lines of water and pressure.
- Layout all the fittings and tools you will need to install the system for your configuration.
installation Overview

| Model | Stage 3 | Stage 2 | Stage 1 |
| WGB32B | Carbon Block Filter (FC25B) | Carbon Block Filter (FC2SB) | Sediment Filter (FP25B) |
| WGB32BM | Iron & Manganese Reducing Filter (FM25B) | Carbon Block Filter (FC25B) | Sediment Filter (FP25B) |
| WGB32B-PB | Lead Reducing Filter (FCRC25B) | Carbon Block Filter (FC25B) | Sediment Filter (FP25B) |
| WGB32B-KS | Carbon Block Filter (FC25B) | GAC+KDF Compound Filter (FG2SB-KS) | Sediment Filter (FP25B) |
Installation Instructions

- The filter should be placed on the main water supply line near where it enters the house at any point past the main shutoff valve for the whole house, but before pipes branch off into multiple directions. However, you may choose to locate the filter after the line branches to the inside and outside plumbing depending on your filtration intent. Your filter should be located in a dry, level area and protected from freezing temperatures and direct sunlight.
Notice:
WGB series comes with a 1″ NPT Female Inlet/outlet, which may require additional fittings to adapt to your plumbing. A shutoff valve is recommended prior to the system.
Step 1 – Measure the System and Cut the Pipe
- Determine the location and water flow direction for the system.
Notice:
If the water flow of the pre-installed caps union points conversely to your water flow, you can converse the caps union by unscrewing the bolts that connect it with the bracket.
- Measure, cut, and remove the section of the waterline where the system is to be installed. When determining the length of the pipe to cut, account for filter width, shutoff valves, union fittings, nipple fittings, pressure gauges (if used), and bypass valves (if used).
- Allow the cut line to drain. Smooth the newly cut ends down (with a deburring tool, if necessary) to avoid jagged points or edges.
Step 2 – Mount the Filter Bracket
- Securely mount the whole house filter bracket and ensure the system is level. (Screws are not included.)

- Attach your plumbing to the INLET and OUTLET with 1″ male NPT threaded adapters (not included). Apply 12-15 wraps of plumber’s tape to each adapter to prevent leakage.

Step 3 -Add on Shutoff Valve and Pressure Gauge (Optional)
- Place a shutoff valve (not included) and/or a pressure gauge (not included) on either side of the filter for ease of monitoring and use.

Step 4 – Connect ground jumper wire
- Connect ground jumper wire if you have metal pipes.

Step 5 – Filter Cartridges and Housing Assembly
- Unwrap cartridges and insert each into each of the housing, centering on the standpipe.
Make sure the center knob of the housing fits securely in the filter’s central hole.
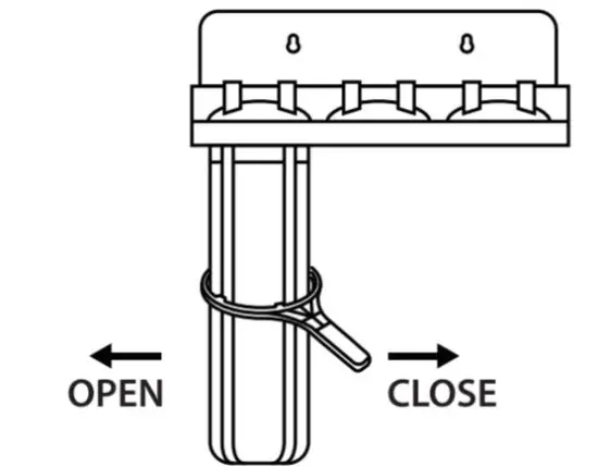
- Hand tightens the Blue Filter Housing. Then, using the supplied Filter Wrench, lightly turn the housing while making sure not to over-tighten.

Step 6 – Turn on the water and flush the system
- Slowly turn on the water supply to fill the housing. After a few minutes, the sound of water entering the system will stop.
- Check for leaks.
- Open the nearest COLD water faucet and run water for about 10 minutes to expel carbon fines.
CAUTION:
Do not use a hot water faucet to perform the initial system flush.
NOTICE:
The water might be blackish in color for the initial flush. This is residual carbon dust and is to be expected. Continue to run the water until it runs clear and all air has been purged. Shut the water off and let the unit sit for a while, and then flush again. It is not unusual for the water to appear “cloudy” for a day or so following installation. This cloudiness is actually tiny air bubbles being purged from the filters. This is normal and will clear up in a day or two.
NOTICE:
After prolonged periods of nonuse (such as a vacation), it is recommended that the system be flushed thoroughly for at least 10 minutes before using the water.
Step 7 – Turn off the Faucet and Your System is Ready for Use
NOTICE:
Even though there is filtered water in the cold water lines, the hot water heater is still full of raw water. Through normal use, this water will be replaced with filtered water in about 2 or 3 days
Maintenance Instruction
Chart of Model Numbers for Replacement Cartridges
| PP Sediment Filter | Carbon Block Filter | Iron/Manganese Removal Filter | Lead Removal Filter | GAC+KDF Compound Filter | Filter Pack | |
| System Model# | FP25B | FC25B | FM25B | FCRC25B | FG25B-KS | |
| WGB32B | • | • | O | O | O | F3WGB32B |
| WGB32BM | • | • | • | O | O | F3WGB32BM |
| WGB32B-PB | • | • | O | O | O | F3WGB32BPB |
| WGB32B-KS | O | O | O | O | O | F3WGB32BKS |
• This filter is the one included in the original system package.
o This filter can apply to this system, even though it is not included in the original package.
Your iSpring Whole House Water System requires scheduled maintenance. It is recommended that the cartridges be replaced every 6-12 months depending on the number of contaminants present in the water supply. If the system has been working properly but the pressure is slowing, it may be time to change the filter cartridge.
Replacement cartridges and parts can be ordered online at www.123Filter.com or by calling 678-261-7611 (M-F, 8:30- 5:30 EST).
Filter Change Instruction
Part 1 – Remove the Old Cartridge
- Turn off the water supply to the system. Open a nearby faucet to release the pressure and drain the water.
- Unscrew the housing using the filter wrench that was included (AWR3) with your system.
- Locate and remove the large O-ring using a small, clean flat head screwdriver. Try not to remove any of the lubricants. Set it aside in a clean, safe place.
- Remove and discard the old filter cartridge.
Part 2 – Clean the Housing
- Scrub the housing and cap with warm water mixed with about 2 tablespoons of household bleach using a sponge or soft rag. Wear rubber gloves. Rinse all parts very thoroughly!
- Lubricate the O-ring with clean silicone grease if needed. DO NOT USE PETROLEUM JELLY.
- Insert the O-ring in the filter groove and press it into place. Make sure the O-ring is seated correctly.
CAUTION:
This step is important to ensure the proper filter seal. Make sure the O-rings (ORB) are seated level in the groove. If the O-ring appears damaged, stretched, or crimped, it should be replaced. You can get replacement O-rings at www.123Filter.com.
Part 3 – Install the New Cartridge
- Remove the new filter packaging and insert the filter cartridge into the housing. Make sure they slip over the standpipe in the bottom of the housing.
- Align the bottom of the housing into the cap and hand tighten. Then use the filter wrench (AWR3) to fit it snugly. Do not over-tighten.
- Close any open valves. Turn on the water supply slowly to allow the system to fill with water. Inspect carefully for leaks. If a leak is found, remove the housing and inspect the O-ring to ensure that it is seated properly, and then retighten.
Part 4- Flush the System
- Flush the system by turning on a few cold-water faucets. Allow the water to run until the air and carbon have been purged. Water may be cloudy initially as the filters and system are clear of trapped air. New activated carbon filter cartridges may contain loose carbon and air bubbles after installation.
Troubleshooting
| Problem | Solution |
| Water pressure is slowing after a period of time | It is recommended that the cartridges be replaced every 6-12 months depending on the amount of contaminants present in the water supply. If the system has been working properly but the pressure is slowing, it may be time to change filter cartridges. |
| Water pressure is slowing immediately after installation | 1)The cartridges may be installed incorrectly. Check to see if the plastic wrapping is still outside the filter cartridges. 2)Bathtubs, utility sinks, hose bibs, multi-headed showers, body sprayers, or anything that is considered high-flow should be avoided for the first 72 hours. Any high-flow situation within the first 72 hours may cause a temporary carbon blockage. To clear the blockage, turn off any running water for at least 10 minutes and resume using water at low or normal flow rates. |
| Water appears cloudy and grey | Water may appear cloudy or grey for the first 3-5 days after installation due to the tiny air bubbles being purged from the filters and extra carbon dust in the water. |
| Leaking from the housing connection | The 0-ring may not be in place. If it still leaks after adjusting the 0-ring, please contact iSpring Customer Service at 678-261-7611 or email us at [email protected] |
Frequently Asked Questions
Q: With this whole house system, do I still need to install a water softener if my water is very hard?
A: Yes, a water softener is needed if your source water has a high level of hardness, usually with TDS higher than 700 ppm. Hard water can reduce the lifespan of whole house water filter cartridges. The harder the water, the greater amount of scale buildup occurs, and the sooner the filters get clogged.
This whole house water filter can remove 95% of sediment, chlorine, rust, pesticides, herbicides, industrial solvents, and various other contaminants that a regular water softener can’t; however, it does not soften your water. It is recommended that you install this WGB32B series whole house system after your water softener to achieve optimal performance if you have hard water.
To determine which product best suits your needs, it is recommended that you get a professional water test done prior to purchase to identify the main issue of your source water.
NOTE:
Water Softeners and whole-house systems usually do not lower the TDS level of the water. An additional Reverse Osmosis system may be necessary for your drinking water. Please consult iSpring professionals prior to your purchase if you are unsure which product will meet your needs.
Q: What type of Whole House Water Filter do I need?
A: If you are on municipal water that isn’t contaminated with heavy metals like iron, manganese, and lead, the WGB32B is the system to choose. Naturally occurring metals are commonplace in most well water sources. If you are on well water or have heavy metals in your municipal water supply, you may want to consider the additional filtration options of WGB32BM, WGB32B-PB or WGB32B-KS in place of the WGB32B.
Q: What flow rate should I look for?
A: Measured in gallons per minute (GPM), flow rate determines the amount of water available to run your shower, toilet, hot water heater, dishwasher, etc. When calculating your requirements, look at the demand ratings printed on your appliances and toilet. Depending on the size of your house and family, your water flow rate requirements may range from 5 to 40GPM.
Warranty
Visit www.123Filter.com to complete the warranty registration form online.
iSpring 1-Year Limited Warranty
This 1-Year Warranty extends to the original purchaser of the system only. This warranty only covers all manufacturer-supplied items that prove to be defective in material, workmanship, or factory preparation. This warranty covers parts only; all labor is excluded from this warranty, including, but not limited to, services related to the removal, replacement, installation, adjustment, maintenance, and/or repair of the unit or its component items. This warranty applies only for the first full calendar year from the date of purchase. The following items are excluded from this warranty: Filter Cartridges, and the O-rings that require regular replacement as a result of ordinary usage.
No warranty is made with respect to defects or damages due to neglect, misuse, alterations, accident, misapplication, physical damage, or damage caused by fire, acts of God, or freezing. These warranties apply only to the original registered owner so long as the owner owns the home in which the unit was originally installed. Customer must register their system with iSpring within 90 days of purchase in order to obtain a warranty. Warranty will discontinue after the unit is removed from the location where it was originally installed. Warranty begins on the date of delivery of product to the customer. Improper maintenance of the system (i.e. not replacing filters or media) on time will be considered “neglect”. Installation of any system on water conditions outside of or beyond the recommended specs of any system voids any warranty.
Disclaimers: This Limited Warranty applies only if the system is installed, used, and maintained in compliance with all instructions and requirements enclosed with the system. This warranty will be void for failure to observe the following conditions:
- The system is to be used with a potable water supply only.
- Feedwater pressure to the unit is no less than 25 psi and no greater than 80 psi.
- Feedwater temperature to the unit must be no less than 40°F and no more than 100°F.
- Feedwater must have a pH between 6 and 11.
While the testing was performed under standard laboratory conditions, actual performance may vary. The Manufacturer does not know the characteristics of your water supply. The quality of water supplies may vary seasonally, or over a period of time. Your water usage may vary as well. The Manufacturer assumes no liability for the determination of the proper equipment necessary to meet your requirements, and we do not authorize others to assume such obligation on our behalf.
This Limited Warranty does not cover any Manufacturer-supplied items that are defective as a result of the use of improper parts, equipment, or materials. This warranty does not cover alterations or modifications of the unit or failure of a unit caused by such alterations and modifications.
Incidental and Consequential Damages Limitation: The Manufacturer will not be responsible for any incidental or consequential damages as a result of the failure of this unit to comply with express or implied warranties or any defect in the unit, including but not limited to, lost time, inconvenience, damage to personal property, loss of revenue, commercial losses, postage, travel, telephone expenditures, or other losses of this nature. In case some states do not allow the exclusion or limitation of incidental or consequential damages, you may choose to return the system. If you choose to keep it, you understand this exclusion WILL STILL apply to you.
Owner’s Warranty Responsibilities: As a condition of this Limited Warranty, the owner must ensure that periodic maintenance of the system is performed as described in the literature enclosed with the system. Neglect, improper maintenance, abuse, modification, or alteration of the unit will invalidate this Warranty. Should your unit develop a defect or otherwise fail to perform in accordance with this warranty, you should contact the retailer from whom the product was originally purchased.
Implied Warranties: The implied at-law warranties of merchantability and fitness for a particular purpose shall terminate on the date one year after the date of purchase. To register your product for the warranty, visit our website www.123Filter.com and go to the “Warranty Registration” tab. This is the fastest and most convenient way to get your warranty registration activated.
We provide a 30-day money-back guarantee, a 1-year manufacturer warranty, and lifetime tech support for all of our major water filtration systems. However, we do not access and store order information from websites other than 123Filter.com (including Amazon, Home Depot, Lowes, etc.), so be sure to fill in that information upon registration of your system. If you have any questions or concerns about your product, please call or email us, or submit your feedback in the notes/comments during warranty registration. Your satisfaction is our business!
Warranty Registration Form
Name__________________
Order#__________________
Email__________________
Phone__________________
City__________________
State__________________
Zip Code__________________
Model #/ Serial Number__________________
Purchased at (e.g. Amazon, Home Depot)__________________
iSpring Water Systems, LLC
2480 Industrial Park Blvd, Cumming, GA 30041 678-261-7611
Plumber’s information (Optional)
To best serve our customers, we’d like to recommend good plumbers throughout the USA.
If you are happy with your installer, please provide their information so that we can pass it on as a courtesy.
Thank you!
Name of the plumbing company used to install your system:
Phone#: (______)- _________________
or email:___________________________________ of the technician.

Like our products?
Please show your support by writing a product review on the marketplace where you make your purchase. Even just a quick statement means a lot to us.
Thank you!
123Filter.com
For questions, comments, or technical support, please contact us at:
[email protected]
(678) 261-7611
Monday-Friday 8:30 a.m. – 5:30 p.m. EST
Water’s Good™






















