BAPI BA/ZPM-SR-ST-ND ZPM Zone Pressure Sensor

Product Information: Standard Range ZPM – Zone Pressure Sensor
BAPI’s Standard Range ZPM is a pressure sensor designed for easy and quick installation in the field. The unit’s outputs, ranges, units, directionality, and response time are all field-configurable without the need for power. The unit features three LEDs that indicate when the pressure is out of range low, in range, or out of range high. An optional LCD display is available to display the actual pressure, regardless of the selected pressure range. The ZPM unit comes with a static tube and hose with a surge damper for units ordered with the included static tube.
Product Features
- Field-configurable outputs, ranges, units, directionality, and response time
- Three LEDs indicating the pressure status
- Optional LCD display for troubleshooting
- Static tube and hose with a surge damper (for units ordered with the included static tube)
Product Usage Instructions
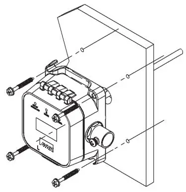
- Mounting: Attach the unit to its mounting surface with four self-tapping #10×3/4 sheet metal screws through the holes in the mounting feet. The preferred mounting orientation is with the pressure ports facing down.
- Switch Setup: Set the output, range, directionality, units, and response time using the setup switches on the ZPM unit. Always follow the Auto-Zero procedure after changing settings.
- Output Termination: BAPI recommends wiring the product with power disconnected. Proper supply voltage, polarity, and wiring connections are important to a successful installation. Ensure that all wires are correctly terminated by twisting the stripped ends of each wire together before inserting into the terminals.
- Auto-Zero: After mounting and output termination, perform the Auto-Zero procedure to calibrate the unit.
- Pressure Connection: After Auto-Zeroing, remove the deadhead tubing and push the system tubing onto the port nipple without creating any kinks or holes.
Identification and Overview
BAPI’s ZPM is designed for quick and easy field installation. The outputs, ranges, units, directionality, and response time are all easily set in the field without powering the unit.
The optional LCD display helps with troubleshooting because it displays the actual pressure regardless of the selected pressure range. Three LEDs on the face of the unit indicate when the pressure is “Out of Range Low”, “In Range” or “Out of Range High”.
Switch Setup – Outputs, Ranges, Units/Response
NOTE! Always follow the Auto-Zero procedure after changing settings.
Mounting
Fig. 3: ZPM Mounting
(for units without Attached Tube option)
Fig. 4: ZPM Mounting (for units with Attached Tube option)
Attach the unit to its mounting surface with four self-tapping #10×3/4” sheet metal screws through the holes in the mounting feet. The preferred mounting orientation is with the pressure ports facing down.
After Auto-Zeroing, remove the deadhead tubing and push the system tubing onto the port nipple without creating any kinks or holes. 
Fig. 5: Cover Latch Screw
Fig. 6: Mounting Hole Template – shown actual size (BAPI recommends creating 5/32” pilot holes for the #10×3/4” self-tapping mounting screws.)
Output Termination
BAPI recommends wiring the product with power disconnected. Proper supply voltage, polarity and wiring connections are important to a successful installation. Not observing these recommendations may damage the product and void the warranty.
To ensure that all wires are properly terminated, twist the stripped ends of each wire together before inserting into the terminals. Gently tug on the wire after inserting into the terminal to verify a good connection.
Fig. 7: ZPM Wiring Terminals
| Table 1: ZPM Termination | |||
| Output Signal | PWR Terminal | GND Terminal | OUT Terminal |
| 4 to 20 mA | 7 to 40 VDC | 4 to 20 mA Signal To Controller Analog Input | Not Used |
| 0 to 5 or 1 to 5 VDC | 7 to 40 VDC or 18 to 32 VAC | To Controller Ground | VDC Signal To Controller Analog Input |
| 0 to 10 or 2 to 10 VDC | 13 to 40 VDC or 18 to 32 VAC | To Controller Ground | VDC Signal To Controller Analog Input |
Auto-Zero and Status LED Operation
AUTO-ZERO OPERATION
Auto-Zeroing must be done after the initial setup, changing mounting orientation or changing any settings. For most applications, perform an auto-zero whenever it appears that the sensor has drifted. For critical applications, the unit should be zeroed 2-3 times a year.
- Power must be on.
- Detach system tubing and deadhead ports using the supplied tubing or other short length of tubing. Do not kink tubing.
- Press and hold the Auto-Zero button for 1-2 seconds. The Status LED will stop flashing when completed.
- Remove deadhead tubing and reattach system tubing.

Fig 8: Auto-Zero and Status LEDs
AUTO-ZERO OPERATION (Units w/ Attached Tube)
- Power must be on.
- Disconnect system tubing from the low pressure brass fitting and attach the supplied 6” deadhead tubing to the brass fitting.
- Disconnect the short clear tubing from the 90° black high pressure Attached Tube fitting with your fingers (Fig 9). A pliers may cut the tubing.
- Connect the clear tubing to the supplied, straight black fitting on the 6” tubing (Fig 9). Do not kink the tubing.
- Press and hold the Auto-Zero button for 1-2 seconds. The Status LED will stop flashing when completed.
- Disconnect the deadhead tubing and reattach the clear tubing and system tubing. Confirm that the clear tubing is pressed all of the way onto the fitting and that it is not kinked.

Fig 9: Dead-heading ports on units with attached tube (-AT)
STATUS LED OPERATION
LED Off: No power is applied or the unit is in 4 to 20 mA Mode
LED Solid (On): LED is on when power is applied and a VDC output is selected. When 4 to 20 mA output is selected, the light is on for 2 seconds at power up then goes off.
LED Flashing: Auto-Zero. The LED will flash for about 10 seconds.
Typical Applications
Fig. 10: Duct Static Pressure Monitoring (ZPM Pressure Sensor mounted on the duct with a Static Pressure Probe in the duct.)
Fig. 11: Air Filter Pressure Drop Monitoring (ZPM Pressure Sensor mounted on the duct with a Static Pressure Probe on either side of the filter in a duct.)
NOTE: Best practice is to form a drip loop in the tubing to prevent condensation from reaching the ZPM.
Troubleshooting
POSSIBLE PROBLEMS:
- Status LED does not light
- Status LED is flashing
- Display is alternating between a number and “Err”
- Output stuck (high or low)
- Output not tracking pressure properly
POSSIBLE SOLUTIONS:
- Check power connections for proper power
- Sensor is set to 4 to 20mA output
- The unit may be performing an auto-zero. Wait 10 seconds and check again.
- The measurement is out of selected range.
- Remove pressure from ports and perform auto-zero procedure
- Check rotary switch for proper pressure range selection
- Check rotary switch for proper output range selection
Specifications
- Power:
7 to 40 VDC (4 to 20 mA Output)
7 to 40 VDC or 18 to 32 VAC (0 to 5 or 1 to 5 VDC Output) 13 to 40 VDC or 18 to 32 VAC (0 to 10 or 2 to 10 VDC Output) - Power Consumption:
20 mA max, DC only at 4 to 20 mA Output
5.2 mA max DC at 0 to 5 or 0 to 10 VDC Output 0.12 VA max AC at 0 to 5 or 0 to 10 VDC Output - Load Resistance:
4 to 20 mA Output 850 Ω Maximum @ 24 VDC
0 to 5 or 0 to 10 VDC Output 6KΩ Minimum - Accuracy: ±0.25% FS at 72°F (22°C) for All Units Standard Range Unit: ±0.025” WC (±6.22 Pa)
- Stability: ±0.25% FS per year
- Overpressure: Proof 300” WC (74 kPa)
- Media: Clean, dry, non-corrosive gases
- Compensated Temperature Range: 32 to 122°F (0 to 50°C)
- Environmental Operating Range: -4 to 140°F (-20 to 60°C)
- Storage Temperature: -40 to 185°F (-40 to 85°C)
- Humidity: 0 to 95% RH, non-condensing
- Wiring:
2 wires (4 to 20mA Current loop)
3 wires (AC or DC powered, VDC output) - Port Size: 1/4” barb
- Enclosure Material: UV-resistant Polycar-bonate, UL94 V-0
- Enclosure Rating: IP44, NEMA 2
- Agency:
CE EN 61326-1:2013 EMC (Industrial Electromagnetic Environment), UL, RoHS
Selectable Standard Ranges
Inches WC Pascals
- 0 to 1.00………………………… 0 to 250
- 0 to 2.00………………………… 0 to 300
- 0 to 2.50………………………… 0 to 500
- 0 to 3.00……………………… 0 to 1,000
- 0 to 5.00……………………… 0 to 1,250
- -1.00 to 1.00………………. -250 to 250
- -2.00 to 2.00………………. -300 to 300
- -2.50 to 2.50………………. -500 to 500
- -3.00 to 3.00…………. -1,000 to 1,000
- -5.00 to 5.00…………. -1,250 to 1,250
Building Automation Products, Inc., 750 North Royal Avenue, Gays Mills, WI 54631 USA
- Tel:+1-608-735-4800
- Fax+1-608-735-4804
- E-mail: [email protected]
- Web: www.bapihvac.com
























