RCC-1 Remote Command Center
Instruction Manual
RCC-1
Remote Command Center
ENGINEER AND ARCHITECT SPECIFICATIONS

- Remote MKB for Display and Control
- 80 Character LCD Display
- Auto Backlight
- Supertwist High Resolution
- Full Command Keypad
- MXL Network Interface (Style 4 or Style 7)
- Metal Enclosure with Keylock Door
- Restricts Keypad Access
- Optional Printer/Peripheral Interface (PIM-1)
- Supervised
Listed, ULC Listed, FM, CSFM, NYMEA and City of Chicago Approved
Description
The RCC-1 is a full control remote command and display center for use with the MXL. It includes the display/keypad, a PS-5N7 power supply and local network interface, and a small sheet metal enclosure with a lockable door. The door restricts access to the command and control keypad located on the RCC-1. The RCC-1 is connected to the MXL’s local network and is powered by the system power supplies or other listed, compatible supplies such as the PS-35 or Alarm-Saf model AS/PS5-BFS-24UL. The RCC-1 is capable of being connected to the MXL’s local network in either Style 4 or Style 7 wiring configurations. Located inside the RCC-1 enclosure, the PS-5N7 modules acts as an interface to the MXL network and also supplies the required 5 VDC to the unit. Adjacent to the PS-5N7 are mounting studs for a PIM-1 modules. The addition of a PIM-1 to the RCC-1 allows the connection of a printer (PIM-2, PAL-1), VDT, Color Graphics (MXL-G, MXL-GT) or other peripherals.
Up to four RCC-1s may be operated in a fully supervised mode. Additional RCC-1s can be used and operated in a non-supervised mode.
This equipment is approved for operation over the temperature range of 0°C to 49°C.
Engineer and Architect Specifications
Through the use of the RCC-1 keypad, the operator may acknowledge events, silence audibles, and reset the system. The menu driven display allows the listing to the display and optional printing of a wide range of data including the detector voltages, sensitivity settings, event log, system status, and more. In addition, password access allows the operator to perform control and test functions such as changing smoke detector sensi- tivity settings, disarming input and output devices, manually controlling relays, executing display and lamp test, walk test, etc. Access to the keypad controls is restricted by a locked enclosure door. The only keys accessible without opening the door are the HOLD and NEXT display control keys. As an option, a GenBox-WD clear lens may be inserted instead of the metal cover section in the door. This permits viewing of the full display and keypad but does not allow access to any of the keys. The RCC-1 is shipped with the sheet metal section in the door.
Ordering Information
| Model | Description | Part No. |
| RCC-1 | Remote Command Center | 500-692533 |
| Gen Box-WD | Clear Lens for RCC-1 Door | 500-692502 |
| Installation Instructions | 315-092535 |
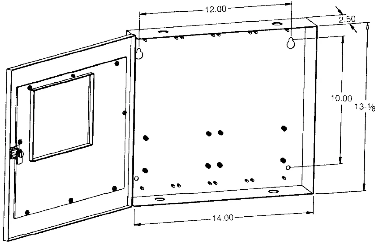
Dimensional Data

Typical Wiring Configuration


Cerberus Piezotronics
8 Ridgedale Avenue
Cedar Knolls, NJ 07927
Tel: (201) 267-1300
FAX: (201) 397-7008
Cerberus Piezotronics
50 East Pearce Street
Richmond Hill, Ontario
L4B, 1B7 CN
Tel: (905) 764-8384
FAX: (905) 731-9182
4/96 10M CPY-IG
Printed in U.S.A.
April 1996
Supersedes sheet dated 5/95
firealarmresources.com



















