Manual
Pixoo 16
Nice to meet you!
This is Pixoo 16, a new multi-functional informative smart display for your home.
Pixoo 16 unlocks the world of pixel art, and you can decorate your house with this unique gadget.
What’s included?
- Pixoo 16
- User manual
- USB-C Charging cable


Thank you for purchasing a Divoom product! Please read this manual carefully. Visit www.divoom.com to learn more about our other products.
Due to the nature of the technology products, the information on this manual is subject to change without prior notice. If you have any questions, please feel free to contact the Divoom customer representative.
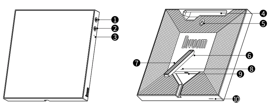
Product details:

| 1. .PRESS: Power ON/OFF HOLD (8 seconds): Reset network settings 2 .PRESS: Change channels HOLD (3 seconds): Switch different display styles 3 .Microphone port 4 .Mounting Stand/Tray 5 .Hanging Hole | 6 .Mounting Stand Hole 7 .Mounting Stand 8 .Indicator Light 9 .USB-C Power Port 10 .Beeper Buzzer Hole |
How to setup the network connection?
http://www.divoom.com/AppDownLoad/
The Divoom application is available in both iOS an Android APP stores.
You can search ‘Divoom’ or scan this QR code.
- Please download and install the Divoom APP from the App Store or Google Play
- Please turn on phone’s Bluetooth, and connect to a 2.4G wireless Internet network.
(keep your phone/device close to the network router) - Open the App, press Discover page, and select Internet to pair device.
- Connect device with power, and it should show a ‘waiting for config’ logo.
- In App, press ‘Start to pair’, and enter the password for the connected Internet network.
- Once the device is connected to the network, the App will shows successfully connected.*If there’s a update message, please proceed with the update. Do not unplug the device during its update.

Reset network?
- Connect the device to the power cable. Once the device is ON, please hold the ON/OFF button for 8 seconds.
- The device should be ready for the Internet configuration.
How to power it?
- Insert the USB-C cable into the USB port on the rear panel.
- The device will power ON instantly.
- If the device is currently OFF, you can press its power button to turn it ON.
*Please use the stock USB-C cable. The maximum supported length is 2M.
*Please use a USB charger with a 5V
2A output.
*If the device is flickering or random power OFF, please try a different USB cable and/or charger.

General Troubleshoot:
- Device is connected with power, but the screen and ON/OFF button is unresponsive.
Please make sure it’s connected with a 5V/2A charger, Try a different USB-C cable. - Network pairing timeout Restart Bluetooth function, delete Bluetooth paired device history, and enable GPS function
Make sure the phone’s connected with a 2.4G Internet network (5G network not supported).
Make sure the Internet network is working properly, and both devices are near the router.
ry the pairing process on a different phone. Or reset and re-do the network pairing process.
Download the latest Divoom App
Product specification
Dimension: 200mm x 200mm x21mm
Weight: 610g
Color Temp: 1600-6500K
Colors: 80@4000K
Output: 8W
Charge: via USB cable, SV = 2A
LED Color: Full RGB
Warranty information:
- If you believe your product is defective within the warranty period, please bring the product back to where the product was initially purchased. Alternatively, or within any other questions or concerns, please call customer support at +0755 86290767, or contact us via email at [email protected].
- If within 12 (24 if required by local law) months of purchase this device or any part thereof is proven to be defective by reason of faulty workmanship or defects in materials, we will at our option repair or replace the same free of charge of labor or materials on condition that similar to the product current condition.
- The sales invoice or receipt with the date and source of purchase must be presented together with the defective unit. We cannot validate the product warranty information without an invoice.
- The warrant does not cover product failures which have been caused by use of accessories other peripheral devices which are not Divoom branded original accessories intended for use withthe product.
- The warranty does not cover product failures caused by: modification, repaired, and disassembled by any person who is not authorized by the manufacture.
- The warranty is non transferable. Any defective unit or part shall become property of the manufacture.
- Warranty does not cover any damage caused by misuse, drop, hit or negligent. 8.Customer is responsible for the return shipping charges.
Please read the following instructions carefull:
- Please follow our product installation and operation instructions.
- Always place the product on a smooth and stable surface.
- Do not push any objects into product vents or slots. Do not apply any great force on the product.
- Please keep the product ay a room temperature environment. Do not please the product nearany heat sources (such as radiators, heat registers, stoves, fire place, or direct sunlight). Do not place the product near any open flame source.
- Do not attempt to service the product by yourself. Always refer to the instructions by qualified service personnel.
- To avoid the risk of electrical hazard, do not expose this product to wet surface. 8.Customer is responsible for the return shipping charges.
Declaration of conformity:
*This device meets the essential requirements of the following Directive 2014/53/EU of the European parliament of the council of 16 April 2014. *This product is in compliance with Directive 2011/65/EU of the European Parliament and of the Council of 1 July 2011 2011 on the restriction of the use of certain harzardous substances in electrical and electronic equipment. The waste container symbowith the X through it on the device indicates thatthe device must be disposed of separately from normal domestic waste at an appropriate waste disposal facility at the end of its useful service life
EU agent information
Company:APEX CE SPE CIALISTS LIMITED
Address:UNIT 30 NORTH POINT HOUSE.NORTH POINT BUSINESS PARK, NEW MALLOW ROAD. CORK, T23 AT2P, IRELAND
Contact: Wells;
Tel:+353212066339
E-mail: [email protected]
UK agent information
Company: Prolinx Global LTD
Address:27 Old Gloucester Street, London, WC1N 3AX UK
Contact:Nianzhuang Liu
Tel: 00442039661193
E-mail: [email protected]
FCC STATEMENT :
This device complies with Part 15 of the FCC Rules. Operation is subject to the following two conditions: This device may not cause harmful interference, and This device must accept any interference received, including interference that may cause undesired operation. Warning: Changes or modifications not expressly approved by the party responsible for compliance could void the user’s authority to operate the equipment.
NOTE: This equipment has been tested and found to comply with the limits for a Class B digital device, pursuant to Part 15 of the FCC Rules. These limits are designed to provide reasonable protection against harmful interference in a residential installation. This equipment generates uses and can radiate radio frequency energy and, if not installed and used in accordance with the instructions, may cause harmful interference to radio communications. However, there is no guarantee that interference will not occur in a particular installation. If this equipment does cause harmful interference to radio or television reception, which can be determined by turning the equipment off and on, the user is encouraged to try to correct the interference by one or more of the following measures: Reorient or relocate the receiving antenna. Increase the separation between the equipment and receiver. Connect the equipment into an outlet on a circuit different from that to which the receiver is connected. Consult the dealer or an experienced radio/TV technician for help.
FCC Radiation Exposure Statement: This equipment complies with FCC radiation exposure limits set forth for an uncontrolled environment. This equipment should be installed and operated with minimum distance 20cm between the radiator & your body.
Warranty information:
This product is covered by a limited warranty from Divoom. For complete warranty details, visit the website www.Divoom.com
PRODUCT WARRANTY CARDWARRANTY CARD
Productname:_______________________
Serial number: ______________________
purchasing store: ____________________
Purchasing date: _____________________
Owner name: _______________________
Contact Email: ______________________
owner address: ______________________
Divoom official website:http://www.divoom.com/
Divoom warranty information: http://divoom.com/policies/refund-policy
Divoom product FAQ: https://divoom.com/apps/help-center
Divoom support Email: [email protected]
Divoom support contact number: 0755-29494509
Divoom repair & return address:
Shenzhen Divoom Technology Limited Corporation 1st Floor, 5th Building, XinLianHe Industrial
Complex Shajing Town, Baoan District Shenzhen City, Guangdong Province
518000 The people’s republic of China



















