USB to Serial Gateway
USG-2
User Manual

Important Notices
The device to which this manual relates complies with the Electromagnetic Compatibility requirements according to EN60945. The unit should always be used in conjunction with appropriately approved, shielded cable and connectors as per NMEA 0400 to ensure compliance. A declaration of conformity is available for download at www.actisense.com.
If the device to which this manual relates is to be installed within five meters of a compass, please refer to the ‘Compass Safe Distance’ section in the ‘Technical Specifications’ table.
Trademarks and Registered Trademarks
Actisense® and the Actisense logo are registered trademarks of Active Research Limited (Ltd). All other trademarks are the property of their respective owners.
The NMEA® name and NMEA logo are copyright held by the NMEA. All uses in this manual are by permission and no claim on the right to the NMEA name or logo are made in this manual.
Fair Use Statement
The contents of this manual may not be transferred or copied without the express written permission of Active Research Ltd. Copyright © 2015 Active Research Ltd. All rights reserved.
Technical Accuracy
To the best of our knowledge the information contained in this document was correct at the time it was produced.
Active Research Ltd cannot accept liability for any inaccuracies or omissions.
The products described in this manual and the specifications thereof may be changed without prior notice. Active Research Ltd cannot accept any liability for differences between the product and this document. To check for updated information and specifications please check actisense.com.
Active Research Ltd will not be liable for infringement of copyright, industrial property rights, or other rights of a third party caused by the use of information or drawings described in this manual.
Product Registration
Please register your product via the online form at www.actisense.com/support/prodreg.
Your product package includes a unit serial number. The serial number is six digits long and can be found below the barcode on the label. Your registration will assist Actisense Support to link your product to your details, simplifying any future assistance you may require.
Product Guarantee
This product comes with a three-year return to base’ guarantee. If you suspect that the unit is faulty please refer to the Troubleshooting Section of the User Manual before contacting support.
It is a requirement of the guarantee that all installations of electronic equipment follow the NMEA 0400 specification.
Any connection to a battery or power supply must meet the mandatory essential safety requirements that may be imposed by local regulatory agencies.
Actisense products are intended for use in a marine environment, primarily for below-deck use. If a product is to be used in a more severe environment, such use may be considered misuse under the Active Research Ltd guarantee.
Product Disposal
Please dispose of this product in accordance with the WEEE Directive. The product should be taken to a registered establishment for the disposal of electronic equipment.
Introduction
The USG-2’s OPTO-isolated input and ISO-Drive isolated output make it safe to connect NMEA 0183, RS232, and RS422 devices to your PC without the danger of ground loops. The high quality, shielded USB lead included with the USG-2 provides a high level of water protection when mated with the high retention USB receptacle, all vital features in the high vibration, noisy marine environment. The 2-part screwless connector makes connecting devices quick and a DIN rail mount option is available to reliably secure the USG-2 to a bulkhead.
Solving ground loops
The first problem encountered when using a standard USB to serial converter (or a standard RS232 port) is that the ground of the computer is then connected directly to the NMEA 0183 system ground.
Computers are often powered from a mains inverter, generator set or direct from the mains supply when in the dock, whereas the marine electronics are normally connected to the ship’s battery set.
This means that when you connect the two systems together, you are joining two different power systems. This can sometimes result in no visible issues, but more often it results in one of three consequences:
- Data corruption – the data becomes garbled as the electrical voltage signals now float on the noisy ground signals flowing between the two power systems.
- The computer crashes intermittently as ground currents flow into its sensitive electronic circuitry. This can cause permanent damage to the computer’s motherboard.
- In the case of large ground loop/ground potential difference faults, some components can melt/catch fire/blow fuses or cause earth leakage devices to trip.
The USG-2 solves all these problems by providing a safe, optoisolated 1500 Volt barrier between the two systems. Because the data signals travel across this isolating barrier as light, the signals do not share the same ground, safety is assured and no current can flow between the two power systems. In addition, a built-in power isolator completes this comprehensive suite of protection.
Overcoming issues with different standards
Computer serial or “COM” ports use the RS232 standard. This uses a ground and a receive pin to get data from a connected system. Data is sent as voltages referenced to ground on a single transmit line. This type of drive is known as “Single-ended”.
In contrast, NMEA 0183 (RS422) devices use a “differential” system, where a “Positive” data line (A/+) and a “Negative” data line (B/-) move in opposition to each other.
It is important to note that an NMEA 0183 device with a (standard) non-isolated differential output should never have its negative data line (B/-) connected to the computer’s ground as part of a data connection. This will at the very least fail to work and at the worst, damage the NMEA 0183 device, computer or both. In contrast, the fully isolated Actisense USG-2 can safely have its negative data line (B/-) connected to the ground (if required) without issue.
The USG-2 solves all these problems by using ingenious circuitry unique to Actisense in both its “Listener” (receiver) circuit and its ISO-Drive™ “Talker” (transmitter) circuits. These circuits are compatible with both RS232 and NMEA 0183 (RS422) devices and signals. Please refer to the NMEA 0183 Interfacing section for more information on “Talkers” and “Listeners”.
Simple connection to a computer with no serial port
Laptop and desktop computers no longer come equipped with RS232 type serial ports anymore, however, the need to connect serial devices to them has not disappeared. The USG-2 creates a fully isolated marine standard NMEA 0183 port from any computer USB port.
This port appears on the computer system as a Virtual COM port, and so can be used with all standard marine navigation and display software available today.
Features
NMEA 0183, RS422, and RS232 compatible – this differential input is fully compliant with the NMEA 0183 standard specification.
ISO-Drive™ technology – creates a driver unique to Actisense that has 1500 volts of isolation.
Isolated output (1500V) – the ISO-Drive™ creates a completely “floating” output, making a safe connection to a computer an easy task. The ISO-Drive™ output can safely transfer data to an NMEA 0183 device, or any other RS232/ RS422 device. The output automatically changes between differential, single-ended, RS232 and RS422 depending upon the type of instrument it is connected to.
Isolated input (2500V) – a floating receiver OPTO-isolated to 2500 volts protects the connected devices even during the most extreme fault conditions.
Inputs & outputs fully protected against over-voltage, ESD & short circuits – electrical isolation makes inputs and outputs robust enough to withstand many fault conditions, and an electronic fuse will disconnect the USG-2 from any short-circuit until the fault is removed.
Fully encapsulated electronics – the USG-2 PCBA is sealed inside a potted case, giving perfect protection to the internal electronics from water and dust ingress.
High retention Type-B receptacle (USB 1.1, 2.0 & 3.0 compatible) – there is naturally a lot of vibration in the marine environment which can cause some connections to become loose over time. The High retention Type-B receptacle on the USG-2 prevents the USB cable from vibrating loose.
Diagnostic LED’s show both Talker & Listener activity – quickly and easily diagnose potential data transfer issues.
Separate power LED – immediately identify the power status of the USG-2.
Supports baud rates from 300 up to 230400 bps – meets and exceeds NMEA 0183 baud rate requirements while also covering the majority of RS232 or RS422 networking situations.
Bulkhead mount, with optional DIN rail mount kit – makes mounting the USG-2 quick and easy in professional installations.
Pluggable screwless connector with locking latch – the spring-loaded wire clamps and the locking latch prevent wiring from being accidentally pulled out or working loose over time due to vibration. The 2-part connector allows wires to be connected quickly and easily, even in hard-to-reach locations.
Built-in strain relief on the screwless connector – maintain the integrity of your NMEA 0183 data wiring connections by letting the USG-2 take the strain.
Software updates
The USG-2 does not have built-in firmware so it does not require updates. Actisense provides free access to the latest USB drivers on the Actisense website, www.actisense.com.
NMEA 0183 interfacing
The basics
NMEA 0183 data is transmitted from a “data source” such as a GPS, depth sounder, gyrocompass etc. These data sending devices are called “Talkers”.
Equipment receiving this information such as a chart-plotter, radar or NMEA display is called a “Listener”. Only one “Talker” can be connected to an NMEA 0183 “Listener” at any one time. Two or more “Talkers” cannot be connected together as they will ‘talk over each other’, resulting in corruption of the NMEA 0183 data and potentially permanent damage to one or both “Talkers”.
Actisense produces a full range of products to solve all NMEA 0183 interfacing requirements.
Please visit the Actisense website for full details on these and other Actisense interfacing products (NMEA Multiplexers, NMEA Buffers, and NMEA Auto switches), Depth sounders, and Sonar products.
The NMEA signals
The NMEA 0183 system v2.0 and later uses a “differential” signaling scheme, whereby two wires are used to transmit the data. These connections will be labeled as either NMEA “A” and “B” or NMEA “+” and “-” respectively, depending on the instrument and manufacturer. When connecting between different manufacturers, there can be some confusion, but it is simple and easy to remember: NMEA “A” connects to NMEA “+” and NMEA “B” connects to NMEA “-“.
The different NMEA standards
The NMEA 0183 specification has slowly evolved over the 30 years since its first inception, so connecting one device to another is not always a straightforward matter. The early versions of NMEA 0183 (before v2.0, as detailed above), used RS232 signaling (one “NMEA” data line ‘Tx’ or ‘Out’ and ground as the other data line). This connection method is referred to as “Single-ended” instead of the “Differential” method used by NMEA 0183 v2.0 (and later) devices.
The data format is largely the same between both systems, with newer versions adding new sentences, new fields to existing sentences, and removing older (redundant) sentences from the specification. The situation is further complicated as many manufacturers still use the old non-isolated “Single-ended” method of connection because it is cheaper to implement (than the mandatory since 1990, optoisolated “Differential” method).
The Actisense USG-2 solves all these NMEA 0183 connection issues by having inputs and outputs that are totally compliant with both systems and which float independently from each ground at all times.
By following the simple connection diagrams in this manual, the user can be safe in the knowledge that as long as the connection is secure, the data will go through as intended and no damage will result.
Please refer to the Connecting NMEA 0183 devices and Connecting Personal Computer RS232 port sections for examples of these connection methods.
In the USG-2 Box

Before getting started
The wire colors used in this user manual are in accordance with the NMEA 0183 specification (v.4.10, June 2012) and are for illustration purposes only. Please ensure that the wiring colors detailed in the installation instructions of the device you wish to interface to the USG-2 are understood as they may well be different from those shown.
Connecting to Devices
Strands of wire must not be twisted before inserting into the screwless connector, this will ensure a much more secure termination than if the wires are twisted. A small flat-headed screwdriver (2-3mm) is needed to press down on the orange buttons and open the terminal for the wires to be inserted or removed.
Connecting to NMEA 0183 Devices

| USG-2 label: | Connects to: |
| Talker A/+ | NMEA 0183 Listener ‘RX A/+’ or ‘NMEA IN A/+’ |
| Talker B/- | NMEA 0183 Listener ‘RX B/-’ or ‘NMEA IN B/-’ |
| Listener A/+ | NMEA 0183 Talker ‘TX A/+’ or ‘NMEA OUT A/+’ |
| Listener B/- | NMEA 0183 Talker ‘TX B/-’ or ‘NMEA OUT B/-’ |
Bi-directional Connections
If connecting an NMEA 0183 Talker as well as an NMEA 0183 Listener to the USG-2, both devices must communicate at the same baud rate and be connected as above. Please refer to your device’s user manual for the correct terminations when connecting the USG-2 to RS232 or RS422 devices.
Inserting the Strain Relief Clip
Once the strain relief clip is inserted it cannot be removed. Insert the strain relief clip on the right-hand side if connecting to an NMEA 0183 Listener or RS232/RS422 receiving device and for bi-directional connections. Insert on the left if connecting to an NMEA 0183 Talker or RS232/RS422 transmitting device only.
*NB – Use of the strain relief clip is optional, however, it is required in order to remove the screwless header from the screwless connector.
Securing Data Wires
To protect against vibration, wrap the supplied cable tie around the terminated wires and in-line with the groove on the strain relief clip. Pull the cable tie tight enough that it secures the data wires to the strain relief clip, but not too tight that it begins to crush the wire.

Power Supply and USB Drivers
The USG-2 is powered by a USB connection. On PCs with an internet connection, USB drivers should be downloaded and installed automatically. Otherwise, USB drivers can be downloaded from the USG-2 downloads web page or are available on the CD provided. To install the USB drivers, please refer to the USB Driver Install Manual.

Using the USB COM Port
Step 1: Ensure the USB drivers have loaded and determined which COM port your USG-2 has been allocated by the Operating System (OS). Instructions for how to do this will vary depending on your PC OS, for Windows OS refer to Device Manager’s ‘Ports’ section.
Step 2: The COM port must be opened at the same baud rate as the NMEA 0183 device connected to the USG-2. LED
Behavior

| Colour | Blue | Green | Orange |
| Name | Power indicator | Receive LED | Transmit LED |
| Function | Illuminates solid blue when The USB driver has successfully loaded and USB port powered | Flashes to indicate data is being received on the USG-2 input | Flashes to indicate data is being transmitted on the USG-2 output |
Separating the 2-Part Connector
The two halves of the connector can be separated for ease of installation and for temporary disconnection of devices:
Step 1: Push the orange release slider towards the making header as far forward as possible.

Step 2: Holding the orange slider in place, pull the mated male header away from the female connector.

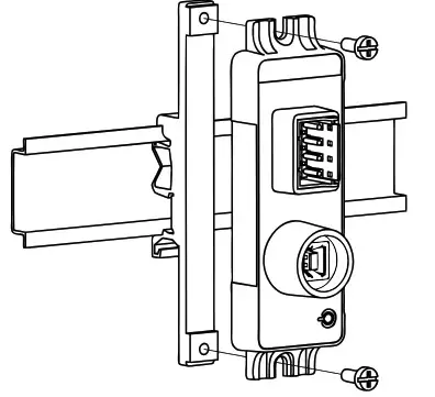
Mounting the USG-2
The USG-2 should be installed in a suitable protected location (e.g. below deck) where it will not come into direct contact with water.
The USG-2 can be mounted with or without a DIN rail.
DIN rail mounts are sold separately.
Accessory product code | |
| DIN-KIT-2 | Kit of 1 clip and 2 screws. Use with USG-2 on top hat (EN 50 022) or G section (EN 50 035) rails |

Troubleshooting Guide
This guide will concentrate on all relevant troubleshooting issues that may arise on the USG-2. Therefore, the cables between the USG-2 hardware and any other devices should be checked as a matter of course, before continuing with this guide.
Status LEDs
The USG-2 is fitted with three LEDs that can be a useful aid to fault diagnosis. Please refer to “LED Behavior” on page 9 of this manual for the normal LED operation.
| Behavior | Solution |
| No LEDs are illuminated. | Ensure the USB cable is firmly connected between the USG-2 and the computer. The Actisense USB drivers must be installed correctly on the computer before USB power is enabled. When an internet connection is available USB driver installation is automatic, if not, manual installation instructions and USB drivers are available from the Actisense website and on the CD provided. |
| Power is present and a Talker is connected but the USG-2 isn’t receiving data from the Talker (indicated by the green LED not blinking). | Check the wiring in accordance with “Connecting to Devices” to ensure the Talker is wired correctly to the USG-2’s Listener connections on the pluggable screwless connector. |
| The green LED on the USG-2 is blinking (to indicate reception of data from the Talker) but there is no data on the computer. | Check the COM port you are using in your software application is the one allocated to the USG-2 by your OS. Also, check the baud rate you have selected matches the Talker device connected to the USG-2. |
| The orange LED blinks (to indicate the USG-2 is transmitting data to the Listener) but no data is displayed on the Listener. | Check the wiring in accordance with “Connecting to Devices” to ensure the USG-2’s Talker connections on the pluggable screwless connector are wired correctly to the Listener. |
| Power is present but the orange LED isn’t blinking (to indicate any data being transmitted by the USG-2 to the Listener). | Check the COM port you are using in your software application is the one allocated to the USG-2 by your OS. Check the baud rate you have selected matches the device connected to the USG-2 and they are wired in accordance with “Connecting to Devices”. |
Technical Support and the Returns Procedure
All installation instructions and any warnings contained in this manual must be followed before contacting Actisense technical support. If the troubleshooting guide did not help resolve the problem and an error persists, please contact Actisense Technical Support to help trace the issue before considering the return of the product. If the Actisense support engineer concludes that the USG-2 unit should be returned to Actisense, a ‘Return Merchandise Authorisation (RMA) number will be issued by the support engineer.
The RMA number must be clearly visible on both the external packaging and any documentation returned with the product. Any returns sent without an RMA Number will incur a delay in being processed and a possible charge. Any cables originally supplied with the product are to be included in the returned box.
USB to Serial Gateway – USG-2
| Power Supply (USB) | |
| Supply voltage | 5VDC (from USB host) |
| Supply current | 50mA @ 5VDC |
| Mechanical | |
| Materials | Housing – ABS (PA-765), flame retardant to UL94 V-0 |
| PCB encapsulant – polyurethane, flame retardant to UL94 V-0 | |
| Pluggable screwless connector – PPA-GF with CrNi spring and tin-plated E contacts | |
| Mounting | Bulkhead mount (s/s self-tapping screws included) or optional DIN rail mount kit available |
| Weight | Main body 65g, USB cable 70g |
| USB cable length | 2.0m shielded USB Type-A to Type-B cable including custom USB Type-B sealing plug |
| Approvals & Certifications | |
| EMC | EN 60945 (sections 9 & 10) |
| Environmental protection | IP67 (Encapsulated electronics) |
| Operating temperature | -20°C to +70°C |
| Storage temperature | -40°C to +85°C |
| Relative Humidity (RH) | 0 to 96% RH |
| Salt spray | Pluggable screwless connector meets EN 60068-2-11 |
| Guarantee | 3 years |
Note: These specifications are preliminary and may change at any time without notice from Active Research Limited. All specifications are taken with reference to an ambient temperature of 25°C unless otherwise specified.
| NMEA 0183 Port – Talker & Listener | |
| Number of Listener/input ports | One isolated NMEA 0183 Listener |
| Number of Talker/output ports | One isolated NMEA 0183 Talker |
| Compatibility | Fully NMEA 0183, RS422 & RS232 compatible. RS485 Listener compatible |
| Electrical isolation | 2500V input to ground 1500V output to the ground using ISO-Drive™ |
| Speed/baud rate | 300 to 230400 bps/baud |
| Connectivity | Pluggable screwless connector with locking latch and integrated push-button. Utilizes cage clamp for 12 to 24 AWG wires (both solid and stranded) |
| Talker output voltage drive | >2.0V (differential) into 100Ω |
| Talker output current drive | 20mA max. |
| Talker output protection | Short circuit and ESD |
| Listener input voltage tolerance | -15V to +15V continuous |
| Listener input protection | Current limited, overdrive protection to 40V DC |
| USB Port | |
| Compatibility | USB 1.1, 2.0 and 3.0 |
| Electrical isolation | 2500V input to ground |
| Speed/baud rate | 300 to 230400 bps/baud |
| Connectivity | High retention type-B receptacle (supplied cable includes a custom USB Type-B sealing plug) |
| Withdrawal force | 1.5Kg |
| Drivers (Latest OS) | Windows XP, Vista, 7, 8, 10 & MAC OS X supplied on CD & Actisense website |
Product Dimensions.


Active Research Ltd
Unit 5, Wessex Trade Centre
Ringwood Road
Poole, Dorset
UK, BH12 3PF
Tel: +44 (0)1202 746682
Email:[email protected]
Web: www.actisense.com
















