Defy DBO772 Black Oven Gemini Petit Chef

Introduction
Dear Customer,
Your new Defy oven was manufactured in a state of the art facility and has passed the strictest quality control procedures.
Please read this manual carefully before using your oven for the first time and then store it within easy reach for future reference.
This manual will provide you with information on how to operate and care for your oven to gain the maximum benefit from it.
We trust you will enjoy years of trouble free use.
EXPLANATION OF SYMBOLS
Important information
Warning—Hazardous situations
Warning—Electric shock
Caution; Warning for fire hazard
Caution; Warning for hot surfaces
Important safety instructions
This section contains safety instructions that will help you avoid risk of injury and damage. All warranties will become void if you do not follow these instructions.
General safety
- This appliance is not intended for use by persons (including children) with reduced physical, sensory or mental capabilities or lack of experience and knowledge, unless they have been given supervision or instruction concerning the use of the appliance by a person responsible for their safety.
- Children must be supervised to prevent them from tampering with the appliance.
- Installation and repair procedures must always be performed by authorized service agents. The manufacturer shall not be held responsible for damages arising from procedures carried out by unauthorized persons which may also void the warranty. Before installation read the instructions carefully.
- Do not operate the appliance if it is defective or has any visible damage.
- Make sure that the appliance function controls are switched off after every use.
Electrical safety
- If the appliance has a failure, it should not be operated unless it is repaired by an authorized service agent. There is a risk of an electric shock!
- Connect the appliance to an earthed outlet/line protected by a fuse of suitable capacity. Have the earth installation made by a qualified electrician. This appliance must be earthed and the manufacturer and the seller do not accept responsibility for any damage due to incorrect installation or electrical connection.
- Never wash down the appliance with water! There is the risk of electric shock!
- The appliance must be disconnected from the mains during installation, maintenance, cleaning and repair procedures.
- If the supply cord is damaged, it must be replaced by the manufacturer, its service agent or similarly qualified persons in order to avoid a hazard.
- The appliance must be installed so that it can be completely disconnected from the network. The separation must be provided either by a mains plug, or a switch built into the fixed electrical installation according to construction regulations.
- The rear surface of the oven gets hot when it is in use. Ensure that the electrical connection does not come into contact with the rear surface so as not to damage connections.
- Do not trap the mains cable between the oven door and frame and do not route it over hot surfaces as the cable insulation may melt and cause a fire as a result of a short circuit.
- Any work on electrical equipment and systems should only be carried out by authorized and qualified persons.
- In case of any damage, switch off the appliance and disconnect it from the mains. To do this, switch off the circuit breaker at the wall.
- Ensure that the fuse rating is compatible with the appliance.
Appliance safety
- The appliance and its accessible parts become hot during use. Care should be taken to avoid touching heating elements inside the oven. Children must be kept away unless continually supervised.
- Never use the appliance when your judgment or coordination is impaired by the use of alcohol and/or drugs.
- Be careful when using alcoholic drinks in your dishes. Alcohol evaporates at high temperatures and may cause fire since it can ignite when it comes into contact with hot surfaces.
- Do not place any flammable materials close to the appliance as the sides may become hot during use.
- Keep all ventilation slots clear of obstructions.
- Do not heat closed tins and glass jars in the oven. The pressure that would build-up in the tin/jar may cause the tin/jar to burst.
- Do not place baking trays, dishes or aluminium foil directly onto the bottom of the oven. The heat accumulation may damage the bottom of the oven.
- Do not use harsh abrasive cleaners or sharp metal scrapers to clean the oven door glass as these may scratch the glass surface.
- Do not use steam cleaners to clean the appliance as this may cause an electric shock.
- Use the shelves as described in “How to operate the electric oven”
- Do not use the appliance if the front door glass has been removed or is cracked.
- Always use heat resistant oven gloves when putting in or removing dishes into/from the hot oven.
- Ensure the appliance is switched off before replacing the lamp to avoid the possibility of an electric shock.
- Do not carry out any repairs or modifications on the appliance.
Safety when working with electricity
- Defective electric equipment is one of the major causes of house fires
- Any work on electrical equipment and systems should only be carried out by authorized and qualified persons. If the appliance is damaged in any way, do not use it. Report the damage to your dealer, who will take the necessary corrective action.
- Make sure that the fuse rating is compatible with the appliance.
To prevent a fire hazard
- Ensure the plug fits into the socket well so as not to cause a spark.
- Do not extend or cut the power cable. Use only an original power cable. Do not use a damaged power cable.
- Ensure that there is no liquid or moisture on the socket where the appliance is plugged in.
Intended use
- The appliance must only be used for domestic use and for the purposes for which it was designed. Commercial use will void the guarantee. This appliance is for cooking purposes only. It must not be used for other purposes, for example room heating.
- Do not use the appliance for warming plates under the grill, drying towels, dish cloths or similar textile products by hanging them on the oven door handle.
- The manufacturer shall not be liable for any damage caused by improper use or handling errors.
- The oven can be used for defrosting, baking, roasting and grilling food.
Safety for children
- Electrical appliances are dangerous to children. Keep children away from the appliance when it is operating and do not allow them to play with the appliance.
- Accessible parts of the appliance will become hot whilst the appliance is in use. Children should be kept away until the appliance has cooled down.
- Do not place any items above the appliance that children may reach for.
- Please ensure that packaging material is disposed of in a responsible manner. Plastic bags should be cut up to prevent children playing with them and accidentally suffocating.
- When the oven door is open do not load any heavy objects on it and do not allow children to sit on it. The appliance may overturn or the door hinges may be damaged.
- Some models feature a protective film over stainless steel trim. This film must be carefully removed before using the appliance.
General Information
Overview
- Control panel
- Wire shelf
- Tray*
- Handle
- Door


- Roast pan (* Depends on model) Used for pastries, large roasts, juicy dishes, and for collecting fat while grilling.

- Bake tray (* Depends on model)

- Wire Shelf
Used for roasting and for placing food to be baked, roasted or cooked in casserole dishes on to the desired rack.
Accessories supplied may vary depending on the model. Not all accessories in the user manual may be included with your appliance. Accessories may be purchased from Defy spares.
Placing the wire shelf onto the wire racks properly
It is important to place the wire shelf onto the rack properly. Slide the wire shelf between the 2 rails and make sure that it is properly fitted before placing any food on it.

DANGER
Risk of scalding by hot steam! Take care when opening the oven door as steam may escape.
| Technical Specifications | |
| Voltage / frequency | 220-240V~ 50 Hz |
| Maximum power consumption | 2.6 kW |
| Amperage | 10.5 A |
| External dimensions (height / width / depth) | |
| Installation dimensions (height / width / depth) | |
| Main oven | Static oven |
| Energy efficiency class* | A |
| Inner lamp | 1 x 25 W |
| Grill power consumption | 2.2 kW |
- Basics: Information on the energy label of electrical ovens is given in accordance with the SANS 50304 standard. Those values are determined under standard load with bottom-top heater or fan assisted heating (if any) functions. The energy efficiency class is determined according to function.
- See Installation.
WARNING
Hot surfaces may cause burns! Do not touch the hot surfaces of the appliance. Use oven gloves. Keep children away from the appliance.
DANGER
Risk of fire by overheated oil! When heating oil, do not leave it unattended.
Never try to extinguish a fire with water! When oil has caught fire, immediately cover the pot or pan with a lid. Switch off the hob if safe to do so and phone the fire service.
WARNING: Under no circumstances should the bake element be covered with aluminium foil. Nor should a pan or tray be positioned directly above the bake element.
Doing so would reflect the heat from the bake element downwards. Heat to the oven would be restricted and overheating of the space below the element would result in damage to the oven enamel.
Figures in this manual are schematic and may not exactly match your appliance.
Values stated on the appliance labels or in the documentation accompanying it are obtained in laboratory conditions in accordance with relevant standards. Depending on operational and environmental conditions of the appliance, these values may vary.
Installation
The appliance must be installed by a qualified person in accordance with the regulations in force. Installation is the buyer’s responsibility.
The manufacturer accepts no liability for this service. Any action that the manufacturer has to take as a result of an erroneous installation will not be covered by the warranty.
Preparation of location and electrical and gas installation for the appliance is the customer’s responsibility.
DANGER: The appliance must be installed in accordance with all local gas and/or electrical regulations.
DANGER: Prior to installation, visually check if the appliance has any defects on it. If so, do not have it installed. Damaged appliances cause risks for your safety.
Before installation
The appliance is intended for installation in commercially available kitchen cabinets. A safety distance must be left between the appliance and the kitchen walls and furniture. See figures on following page: “Built in oven cut outs” (values in mm).
Cooking appliances generate considerable heat. The layout and materials of the mounting cabinet should take account of these characteristics.
- Surfaces, surrounding edges, synthetic laminates and adhesives immediately adjacent to the appliance should be able to withstand temperatures of up to 100°C without delaminating or discoloring.
- Kitchen cabinets must be set level and fixed.
- If there is a drawer beneath the oven, a shelf must be installed between the oven and drawer.
- Carry the appliance with at least two persons.
Do not install the appliance next to refrigerators or freezers. The heat emitted by the appliance will lead to an increased energy consumption of cooling products.
The door and/or handle must not be used for lifting or moving the appliance. Do not place any objects onto the appliance and move it in upright position.
Check the general appearance of your appliance for any damages that might have occurred during transportation.
Under-counter oven installation
- Note: The oven cavity must vent through the front only. Avoid gaps between the cavity sides and the underside of the worktop.
- Insert the oven into the cupboard.
- Open the door to expose the fixing holes in the side trims.
- Secure the oven by 4 countersunk screws (fasteners are not supplied).
- The hob should be installed in a ventilated cupboard fitted with a sturdy worktop .
- Secure the hob using the fixing brackets provided.
Oven installation
- Insert the oven into the cupboard.
- Open the door to expose the fixing holes in the side trims.
- Secure the oven by 4 countersunk screws (fasteners are not supplied).

A | B | C |
| HEIGHT | WIDTH | DEPTH |
| 668 mm | 700 mm | 580 mm |
D | E | F |
| HEIGHT | WIDTH | DEPTH |
| 675 mm | 730 mm | 550 mm |

Installation and connection
The appliance must be installed in accordance with all local gas and electrical regulations.
Electrical installation
This appliance must be earthed and the manufacturer and the seller do not accept responsibility for any damage due to incorrect installation or electrical connection. This appliance should not be connected through an earth leakage system. Refer to S.A.N.S.10142 Support the oven in front of the aperture and make the electrical connection before installing. This will ensure enough cable length for subsequent servicing.
Connection to the power supply
The connection must be carried out by a licensed electrician, who will ensure that the oven is correctly connected and safely earthed. The rated current is printed on the serial number label attached to the oven side trim.
The appliance must be connected to the mains through a double pole isolating switch which has a minimum clearance between the contacts of 3 mm. in both poles.
A means for disconnection must be provided in the fixed wiring.

DANGER: The appliance must be connected to the mains supply only by authorised and qualified persons. The appliances warranty period starts only after correct installation. The manufacturer shall not be held responsible for damages arising from procedures carried out by unauthorised persons.

DANGER: Risk of electric shock, short circuit or fire by damage of the mains lead! The mains lead must not be clamped, bent or trapped or come into contact with hot parts of the oven. If the mains lead is damaged, it must be replaced by a qualified electrician

DANGER: Risk of electric shock! Before starting any work on the electrical installation, please disconnect the appliance from the mains supply.
Connecting the sprague to the oven
WARNING! ELECTRICAL CONNECTION MUST ONLY BE DONE BY A QUALIFIED ELECTRICIAN!
Purchase a standard plastic/metal saddle type bracket, capable of going around the 20 mm diameter sprague and with a hole pitch of 38 mm (Plastic) 45 mm (Metal), from your local hardware and 2 off 4.2 mm x 12 mm self tapping screws.
Connect the cabling onto the stove connecter.
Place the plastic/metal saddle around the sprague and fasten via the 2 self tapping screws onto the factory pre punched holes on the back of the stove.
Initial use
- Touch
to energise the oven.
Time setting
- Touch
until
flashes. Press +/- keys to set the time of the day after the oven is energized for the first time. Confirm the setting by touching symbol and wait for 4 seconds without touching any keys to confirm.
While making any adjustment, related symbols will flash on the display.
- Adjustment key
- Keylock symbol
- Clock symbol
- Alarm volume symbol
- Eco mode symbol
- Plus key
- Minus key
- Time pie symbol
- Alarm symbol
- End of Cooking Time symbol
- Cooking Time symbol
- Program key

If the initial time is not set, clock will run starting from 12:00 and the clock symbol will be displayed. The symbol will disappear once the time is set.
Current time settings are cancelled in case of power failure. It needs to be readjusted.
First cleaning of the appliance
Surfaces might get damaged by some detergents or cleaning materials. Do not use aggressive detergents, cleaning powders/creams or any sharp objects during cleaning. Do not use harsh abrasive cleaners or sharp metal scrapers to clean the oven door glass since they can scratch the surface, which may result in the glass shattering.
- Remove all packaging materials.
- Wipe the surfaces of the appliance with a damp cloth or sponge and dry with a cloth.
Initial heating
Heat up the appliance for about 30 minutes and then switch it off. Thus, any production residues or layers will be burnt off and removed.
WARNING: Hot surfaces cause burns! The appliance may be hot when it is in use. Never touch the inner sections of the oven, heaters etc. Keep children away. Always use heat resistant oven gloves when placing or removing dishes into/from the hot oven.
Electric oven
- Take baking trays and wire shelves out of the oven.
- Close the oven door.
- Select Static position.
- Select the highest grill power; (See section on how to operate the electric oven).
- Operate the oven for about 30 minutes.
- Turn off your oven; (See section on how to operate the electric oven).
Grill oven
- Take all baking trays and the wire shelves out of the oven.
- Close the oven door.
- Select the highest grill power; (See section on how to operate the grill).
- Operate the grill about 30 minutes.
- Turn off your grill; (See section on how to operate the grill).
Smoke and smell may emit for a couple of hours during the initial operation. This is quite normal. Ensure that the room is well ventilated to remove the smoke and smell. Avoid directly inhaling the smoke and the smell that emits.
Final check: Check the functions.
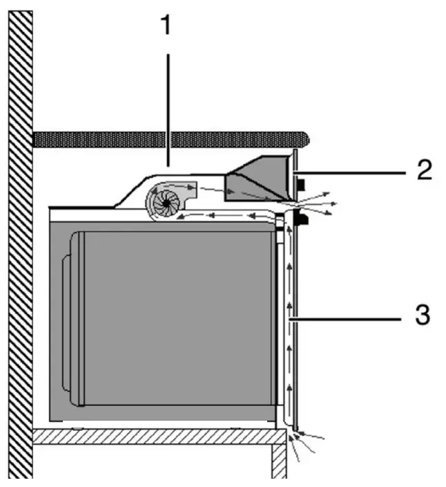
For appliances with a cooling fan
The built-in cooling fan cools both the built-in cabinet and the front of the appliance.
- Cooling fan
- Control panel
- Door

Please note that the cooling fan may continue to run well after the oven has been switched off. The duration is dependent on the selected operating temperature. This is a built-in safety feature to ensure that your oven is cooled down correctly. To reduce the cooling fan running time, the oven door may be left ajar after the oven has been switched off. Please be cautious of hot surfaces.
How to use the oven
General information on baking, roasting and grilling
DANGER:
Be careful when opening the oven door as steam may escape. Exiting steam can scald your hands, face and/or eyes
Tips for baking
Use non-sticky coated appropriate metal plates or aluminum vessels or heat-resistant silicone moulds. Make best use of the embossed shelf runners. Place the baking mould in the middle of the shelf. Select the correct embossed shelf runner position before turning the oven or grill on. Do not change the shelf position when the oven is hot. Keep the oven door closed.
Tips for roasting
Treating whole chicken, turkey and large pieces of meat with dressings such as lemon juice and black pepper before cooking will increase the cooking performance.
It takes about 15 to 30 minutes longer to roast meat with bones when compared to roasting the same size of meat without bones.
Each centimeter of meat thickness requires approximately 4 to 5 minutes of cooking time. Leave meat in the oven for about 10 minutes after the cooking time is over. The juice is better distributed all over the roast and does not run out when the meat is cut.
Warning: Do not put metal items such as forks, knives or saucepan covers into your oven since they can get very hot.
Fish should be placed on the middle or lower shelf in a heat-resistant plate.
Tips for grilling
When meat, fish and poultry are grilled, they quickly brown, develop a crust and do not dry out quickly. Flat pieces, meat skewers and sausages are particularly suited for grilling as are vegetables with high water content such as tomatoes and onions. Distribute the pieces to be grilled on the wire shelf or in the baking tray on the wire shelf so that the space covered does not exceed the size of the grill element.
Slide the wire shelf or baking tray into the desired level of the oven. If you are grilling on the wire shelf, slide the baking tray to the lower rack to collect any fats. Add some water in the tray for easy cleaning.

Foods that are not suitable for grilling create a fire risk. Only grill food which is suitable for intensive grilling heat.
Do not place the food too far in towards the back of the grill. This is the hottest area and fatty food may catch fire.
How to operate the electric oven
Select temperature and operating mode
- Function knob
- Thermostat knob

- Set the Function knob (oven selector) to the desired operating mode.
- Set the Temperature knob to the desired temperature.
» Oven heats up to the adjusted temperature and maintains it. During heating, temperature lamp stays on.
Switching off the electric oven Turn the function knob and temperature knob to off (upper) position.
Rack positions (For models with wire shelf)
It is important to place the wire shelf onto the side rack correctly. Wire shelf must be inserted between the side racks as illustrated in the figure. Do not let the wire shelf stand against the rear wall of the oven. Slide your wire shelf to the front section of the rack and settle it with the help of the door in order to obtain a good grill performance.
Operating modes
The order of operating modes shown here may be different from the arrangement on your product.
- Top and bottom heating (Static)
Food is heated simultaneously from the top and bottom.
Suitable for cakes, pastries, or cakes and casseroles in baking moulds. Cook with one shelf only. No tray.
- Bottom heating & Steam clean
Only bottom heating is in operation. It is suitable for pizza and for subsequent browning of food from the bottom.
Steam clean instructions:
- Place Roast pan at center of oven floor.
- Pour 100 ml of water into roast pan.
- Use steam clean function of oven and turn to 90 degrees Celsius.
- Leave oven on for 4 minutes then switch off.
- Leave oven in off position for 25 minutes.
- Open door and wipe oven with damp sponge or cloth.
- Use warm water with washing liquid to wash persistent dirt and wipe thereafter with a dry cloth.
Important Notice!
- Ensure all moisture is wiped away as remaining moisture may damage your as moisture can damage the oven components. This is steam assisted cleaning and tough stains will need washing liquid.
- Oven must be in a cold state when steam clean is performed.
Full grill
Large grill at the ceiling of the oven is in operation. It is suitable for grilling large amount of meat.
- Put big or medium-sized portions in correct rack position under the grill heater for grilling.
- Set the temperature to maximum level.
- Turn the food after half of the grilling time.

Grill (Static)
Grilling effect is not as strong as in Full Grill
- Put small or medium-sized portions in correct shelf position under the grill heater for grilling.
- Set the desired temperature.
- Turn the food after half of the grilling time.

Using the oven clock
- Adjustment key
- Keylock symbol
- Clock symbol
- Alarm volume symbol
- Eco mode symbol
- Plus key
- Minus key
- Time pie symbol
- Alarm symbol
- End of Cooking Time symbol
- Cooking Time symbol
- Program key

Maximum time that can be set for end of cooking is 5 hours 59 minutes.
Program will be cancelled in case of power failure. You must reprogram the oven.
While making any setting, related symbols will flash on the display. You must wait for a short time for the settings to take effect.
If no cooking setting is made, time of the day cannot be set.
Remaining time will be displayed if cooking time is set when the cooking starts.
Cooking by setting the cooking time
You can set the oven so that it will stop at the end of the specified time by setting the cooking time on the timer.
- Touch
until
symbol appears on display for cooking time. - Set the cooking time with
/
keys.
» » After the cooking time is set, symbol and the time slice will appear on display continuously. » Cooking time starts to count down on display when cooking starts and all parts of time slice symbol is lit. The set cooking time is divided into 4 equal parts and when the time of each parts ends, the symbol of that parts turns off. So you can understand the ratio of remaining cooking time to total cooking time easily. Setting the end of cooking time to a later time; After setting the cooking time on the timer, you can set the end of cooking time to a later time.
- Touch
until
symbol appears on display for cooking time. - Set the cooking time with
/
keys.
» » Once the Cooking Time is set,
symbol will appear on display continuously. - Touch
until
symbol appears on display for the end of cooking time. - Press
/
keys to set the end of cooking time.
» After the cooking time is set,
symbol plus
symbol and the time slice will appear on display continuously. Once the cooking starts,
symbol disappears. - Put your dish into the oven.
- Select operating mode and temperature
» Oven timer calculates the startup time by deducting the cooking time from the end of cooking time you have set. Selected operating mode is activated when the startup time of cooking has come and the oven is heated up to the set temperature. It maintains this temperature until the end of cooking time.
» Cooking time starts to count down on display when cooking starts and all parts of time slice symbol is lit. The set cooking time is divided into 4 equal parts and when the time of each parts ends, the symbol of that parts turns off. So you can understand the ratio of remaining cooking time to total cooking time easily. - After the cooking process is completed, “End” appears on the displayed and the timer gives an audio warning.
- Audio warning sounds for 2 minutes. To stop the audio warning, just press any key. Audio warning will be silenced and current time will be displayed.
If you press any key at the end of the audio warning, the oven will restart operating. Turn the temperature knob and function knob to “0” (off) position to switch off the oven in order to prevent reoperation of the oven at the end of warning.
Activating the keylock
You can prevent oven from being intervened with by activating the key lock function.
- Touch
until
symbol appears on display.
» “OFF” will appear on the display. - Press
to activate the key lock.
» Once the key lock is activated, “On” appears on the display
and the symbol remains lit.
Oven keys are not functional when the key lock is activated. Key lock will not be cancelled in case of power failure.
To deactivate the keylock
- Touch
until
symbol appears on display.
» “On” will appear on the display. - Disable the key lock by pressing the
key.
» “OFF” will be displayed once the keylock is deactivated.
Setting the alarm clock
You can use the timer of the product for any warning or reminder apart from the cooking program. The alarm clock has no influence on the functions of the oven. It is only used as a warning. For example, this is useful when you want to turn food in the oven at a certain point of time. Timer will give an audio warning at the end of the set time.
- Touch
until
symbol appears on display. - Set the alarm duration by using
/
keys.
» symbol will remain lit and the alarm time will appear on the display once the alarm time is set. - At the end of the alarm time,
symbol starts flashing and the audio warning is heard.
Turning off the alarm
- Audio warning sounds for 2 minutes. To stop the audio warning, just press any key.
» Audio warning will be silenced and current time will be displayed.
Cancelling the alarm;
- Touch
until
symbol appears on display in order to cancel the alarm. - Press and hold
key until “00:00” is displayed.
Alarm time will be displayed. If the alarm time and cooking time are set concurrently, shortest time will be displayed.
Changing alarm tone
- Touch
until
symbol appears on display. - Adjust the desired alarm tone with
/
keys. - The tone you have set will be activated in a short time.
» Selected alarm tone will appear as “b-01”, “b-02” or “b-03” on the display.
Changing the time of the day
To change the time of the day you have previously set:
- Touch
until
symbol appears on display. - Set the time of the day with
/
keys. - The time you have set will be activated in a short time.
Economy mode
You can save energy with economy mode while cooking by setting cooking time in the oven. This mode completes the cooking with the inner temperature of the oven by switching off the heaters before the end of cooking time.
Maximum alarm time can be 23 hours and 59 minutes.
Setting the economy mode
- Touch
symbol until eco symbol appears on display.
» “OFF” will appear on the display. - Enable economy mode by touching
key.
» Once the key lock is activated, “On” appears on the display and the eco symbol remains lit.
Disabling economy mode
- Touch
symbol until eco symbol appears on display.
» “On” will appear on the display. - Disable economy mode by touching
key.
» “Off” will be displayed once the key lock is deactivated.
Setting the screen brightness
- Touch
until d-01 or d-02 or d-03 appears on display for display brightness. - Set the desired brightness with
/
keys.
» The time you have set will be activated in a short time.
Baking and roasting
1st rack of the oven is the bottom rack. Note: The higher top heat in the new Gemini Oven will necessitate a lower shelf position than previously used in older Gemini models.
Cooking times table
The timings in the chart below are meant as a guide. Timings may vary due to temperature of food, thickness, type and your own preference of cooking.
Rack positions
| Conventional | ||
| Item | P | °C |
| Sponge Cake | 2 | 180 |
| Roast Chicken | 1 | 180 |
| Cupcakes | 2 | 180 |

Tips for baking cake
If the cake is too dry, increase the temperature by 10° C and decrease the cooking time. If the cake is wet, use less liquid or lower the temperature by 10°C.
If the cake is too dark on top, place it on a lower rack, lower the temperature and increase the cooking time. If cooked well on the inside but sticky on the outside use less liquid, lower the temperature and increase the cooking time.
Tips for baking pastry
If the pastry is too dry, increase the temperature by 10°C and decrease the cooking time. Dampen the layers of dough with a sauce composed of milk, oil, egg and yoghurt.
If the pastry takes too long to bake, pay care that the thickness of the pastry you have prepared does not exceed the depth of the tray. If the upper side of the pastry gets browned, but the lower part is not cooked, make sure that the amount of sauce you have used for the pastry is not too much at the bottom of the pastry. Try to scatter the sauce equally between the dough layers and on the top of pastry for an even browning.
Cook the pastry in accordance with the mode and temperature given in the cooking table. If the bottom part is still not browned enough, place it on one lower rack next time.
Tips for cooking vegetables
If the vegetable dish runs out of juice and gets too dry, cook it in a pan with a lid instead of a tray. Closed vessels will preserve the juice of the dish. If a vegetable dish does not get cooked, boil the vegetables beforehand or prepare them like canned food and put in the oven.
How to operate the grill
WARNING Close oven door during grilling. Hot surfaces may cause burns!
Switching on the grill
- Turn the Function knob to the desired grill symbol.
- Then, select the desired grilling temperature.
- If required, perform a preheating of about 5 minutes.
» Temperature light turns on.
Switching off the grill
1.Turn the Function knob to Off (top) position.
Foods that are not suitable for grilling create a fire risk. Only grill food which is suitable for intensive grilling heat. Do not place the food too far in the back of the grill. This is the hottest area and fatty food may catch fire
Do not use the top embossed runner for grilling.
Cooking times table for grilling
Grilling with electric grill
| Grill | ||
| Item | P | °C |
| Chops | 4 | MAX |
| Sausage | 4 | MAX |
| Fish | 4 | MAX |
Tips for saving energy
The following information will help you to use your appliance in an ecological way, and to save energy:
- Use dark coloured or enamel coated cookware in the oven since the heat transmission will be better.
- While cooking your dishes, perform a preheating operation if it is advised in the user manual or cooking instructions.
- Do not open the door of the oven frequently during cooking.
- Try to cook more than one dish in the oven at the same time whenever possible. You can cook by placing two cooking vessels onto the wire shelf.
- Cook more than one dish one after another. The oven will already be hot.
- You can save energy by switching off your oven a few minutes before the end of the cooking time. Do not open the oven door.
- Defrost frozen dishes before cooking them.
Maintenance and care
General information
- Clean the appliance thoroughly after each use, making it easier to remove cooking residues and helps prevent these from burning on the next use of the appliance.
- Wipe down the cabinet, door, control panel, trims and handles with a damp, hot soapy cloth.
- Use only liquid household cleaners and avoid abrasive powders, scouring pads and caustic cleaners.
- Rinse and wipe down with a clean cloth.
Cleaning the oven
- Open the oven door and allow the oven to cool down.
- Clean the oven with a damp, hot soapy cloth. Do not use a steam cleaner.
- It may be necessary to soak burnt soils with a liquid cleaner to soften them before scrubbing them with a nylon brush or scouring sponge.
- Heavy soils on the bottom of the oven may require overnight soaking under a sponge liberally sprinkled with household ammonia. Remove the soil the following morning by washing normally.
- Always ensure that any excess liquid is thoroughly wiped off after cleaning and any spillage is immediately wiped dry.
- Do not use cleaning agents that contain acid or chloride to clean the stainless or inox surfaces and the handle. Use a soft cloth with a liquid detergent (not abrasive) to wipe these parts clean, paying attention to sweep in one direction.
- For your convenience, the shelves may be removed to improve access.
DANGER Risk of electric shock! Switch off the electricity before cleaning the appliance to avoid an electric shock.
DANGER Hot surfaces may cause burns! Allow the appliance to cool down before you clean it.
The surface may get damaged by some detergents or cleaning materials. Do not use aggressive detergents, cleaning powder/cream or any sharp objects. Do not use any harsh abrasive cleaners or sharp metal scrapers to clean the oven door and glass since they can scratch the surface, destroy the glass and could result in the glass shattering.
Future Transportation
- Keep the appliances original carton and transport the appliance in it. Follow the instructions on the carton. If you do not have the original carton, pack the appliance in bubble wrap or thick cardboard and tape it securely.
- To prevent the wire grill and tray inside the oven from damaging the oven door, place a strip of cardboard onto the inside of the oven door that lines up with the position of the trays. Tape the oven door to the side walls.
- Do not use the door or handle to lift or move the appliance.
Removing the oven door
Lift-off oven door
The oven door may be removed to improve oven access during cleaning.
- Front door
- Hinge
- Oven

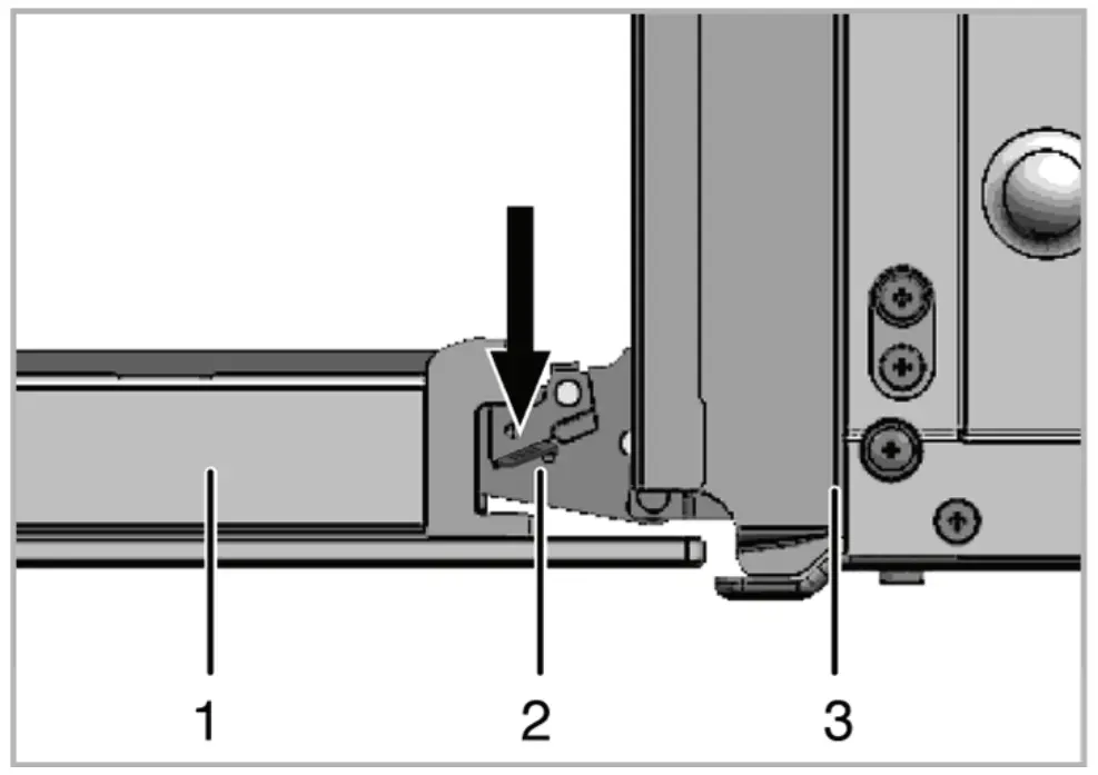
Removing the oven door
- Open the front door (1).
- Open the clips at the hinge housing (2) on the right and left hand sides of the front door by lifting them up. Hold the door on both sides and then close the door and lift the door up to remove it. Refitting is the reversal of removing.

Steps carried out during the removal process should be carried out in reverse order to install the door. Do not forget to close the clips at the hinge housing when reinstalling the door.
Removing the door inner glass
The entire inner glass panel of the oven door can be removed for cleaning.
- Open the oven door.
- Screw
- Profile
- Inner glass pane
- Plastic slot

- Using a screwdriver remove both screws at the top of the door profile (one on each side).
- Remove the door profile and carefully take out the glass.
- When refitting the glass ensure the bottom edge of the glass is securely placed in the plastic slots. Refit the door profile using the screws.

1 Inner glass panel
2 Outer glass panel
3 Plastic glass & hinge holder
As illustrated in figure, raise the inner glass panel (1) slightly in direction A and pull it out in direction B.
When installing the inner glass panel (1), make sure that the printed side of the panel faces towards the inside of the oven. It is important to seat the lower corner of inner glass panel into the lower plastic slot. Push the plastic part towards the frame until you hear a “click”.
Oven light
The oven light is switched on by the multifunction selector switch and switches off when the knob is returned to 0.
Replacing the oven light bulb

DANGER: Before replacing the oven lamp, ensure that the appliance is disconnected from mains and cooled down to avoid the risk of an electrical shock. Hot surfaces may cause burns!
The oven lamp is a special electric light bulb that can resist up to 300°C. See Technical specifications for details. Oven lamps can be obtained from Authorized Service Agents.
Position of lamp might vary from the figure.
If your oven is equipped with a square lamp:
- Disconnect the product from mains.
- Remove the wire racks as described. See diagram on following page.

- Remove the protective glass cover with a screwdriver.
- Unscrew oven lamp and replace it with new one.
- Install the glass cover and then the wire racks.
If your oven is equipped with a round lamp:
- Disconnect the product from mains.
- Turn the glass cover counter clockwise to remove it.

- Remove the oven lamp by turning it counter clockwise and replace it with the new one.
- Install the glass cover
To remove the wire rack:
- Pull A in the direction of the arrow so that the front part of the rack unclips from the oven cavity.
- Pull B in the direction of the arrow to remove.

Troubleshooting
| Oven emits steam when it is in use. | |
| It is normal that steam escapes during operation | >>> This is not a fault. |
| The appliance emits metal noises while heating and cooling. | |
| When the metal parts are heated, they may expand and cause noise. | >>> This is not a fault. |
| The appliance does not operate. | |
| The mains distribution board has tripped. | >>> Check the mains distribution board for tripped circuit breakers. |
| The appliance is not plugged into the wall socket. | >>> Check the plug connection. |
| The wall switch is not on. | >>> Check the wall switch is on. |
| Buttons/knobs/keys on the control panel do not function. | >>> Keylock may be enabled. Please disable it. (See: Using the keylock) |
| Oven light does not work. | |
| Oven lamp is defective. | >>> Replace oven lamp. |
| Power is cut. | >>> Check if there is power. Check the fuses in the fuse box. If necessary, replace or reset the fuses. |
| Oven does not heat. | |
| Function and/or Temperature are not set | >>> Set the function and the temperature with the Function and/or Temperature knob/key. |
| Power is cut. | >>> Check if there is power. Check the fuses in the fuse box. If necessary, replace or reset the fuses. |
Owner’s responsibility
Since the following are not factory faults, they are the owner’s responsibility.
- Damage to exterior finish.
- Breakage of glass and other components.
- Replacement of the light bulb.
- Damage through improper use or installation of the appliance.
- Damage caused by moving the appliance.
If you have followed the instructions and still have a problem, contact the nearest Defy Technical Support Centre. They will be able to advise you on any aspect of the product or send a qualified technician to repair it. Never attempt to repair a defective appliance yourself.
Remember that you may be charged for a service call even during the warranty period if the fault is due to or caused by any of the above.
Branches
If you have followed the instructions and still have a problem, contact the customer care line on 086 100 3339. They will be able to advise you on any aspect of the appliance.
South African Branches:
BLOEMFONTEIN
Unit Number 5
Monument Business Park
50 Monument Road
Oranjesig
Bloemfontein
Bloemfontein[email protected]
CAPE TOWN
5A Marconi Rd. Montague Gardens, 7441
CapeTown.[email protected]
DURBAN
135 Teakwood Road, Jacobs,
Durban, 4052
Durban.[email protected]
EAST LONDON
Robbie de Lange Road, Wilsonia,
East London, 5201
EastLondon.[email protected]
GAUTENG, MIDRAND
127 15th Road, Cnr Pharmaceutical &15th Rd,
Midrand, Gauteng
Gauteng.[email protected]
POLOKWANE
87 Nelson Mandela Drive, Superbia 0699
Polokwane.[email protected]
PORT ELIZABETH
112 Patterson Road, North End, Port Elizabeth 6001
PortElizabeth.[email protected]
Sub-Saharan Africa Service Agents:
ZAMBIA: SOUTHGATE INVESTMENTS LTD
Plot 1606, Sheki Sheki Road
P.O. Box 33681
Lusaka, 10101, Zambia
Tel: +260 0211 242332/3
Fax: +260 0211 242933
[email protected]
NAMIBIA: ATLANTIC DISTRIBUTORS (PTY) LTD
10 Tienie Louw Street, Northern Industrial Area
P.O. Box 21158, Windhoek, Namibia
Tel: (061) 216162
Fax: (061) 216134
[email protected]
ZIMBABWE: TRADECOMAFRICA
Trade Com Africa, 183 Loreley Crescent
Msasa, Harare, Zimbabwe
Tel: +263 4 486165/6
Cell: +263 772 469010
Cell: +263 772 469011
BOTSWANA: RAY MORGAN AGENCIES
RMA Service Centre, Plot 48, East Gate
Gaborone International Commerce Park
Kgale View, Gaborone
Botswana
Tel: +267 390 3996 / 390 3912
Fax: +267 318 7376
Cell: +267 7134 6539
[email protected]; [email protected]
SWAZILAND: LYNDS DISTRIBUTORS
P.O Box 716, Mbabane, Swaziland, H100
Tel: (00268) 2515 4310/8
Fax: (00268) 2518 4318
MOZAMBIQUE: COOL WORLD. LDA
Rua da Resistencia No. 97B R/C
Cell: +258 84 44 61 234
[email protected]
Nosso Show Room
Av: da Industrias, Parcela No.735 * 735A
Machava, Maputo
Warrant
This certificate is issued by DEFY APPLIANCES (PTY) LTD manufacturers of Defy and Ocean products, hereinafter the Company, to the original purchaser only, of the appliance described on the certificate and shall constitute the only warranty given in respect of this appliance.
The Company warrants to the original purchaser that for a period of THREE YEARS from date of purchase the appliance is free from defect under normal domestic use, both in workmanship and material, subject to the following conditions.
- Repair or replacement of any part of this appliance, found by the Company to be defective, shall be at the election of the Company. The Company reserves the right to effect such service through any of its Service Divisions or Authorised Service Dealers. The cost of such service shall be borne by the Company in full, provided that the appliance is located no further than 50 km from a Company Service Centre or an Authorised Service Dealer. Where the appliance is located beyond the 50 km radius, the purchaser shall be liable for the standard travelling charges, as determined by the Company.
CARRY IN SERVICE Microwave ovens, Compact cookers and small appliances are repaired in our service centres and are not collected from the customers home. Faulty units must be delivered to the purchasing dealer or to the nearest Company Service Centre for warranty repairs. - Rusted or corroded plates, vitreous enamelware, fuses and lamps are specifically excluded from these warranties. It is an express condition of these warranties that the purchaser takes due care and attention in the use and maintenance of the appliance. Abuse, misuse in conflict with operating instructions, connection to incorrect voltages and subjection to commercial use shall release the Company from its obligations.
- This warranty shall become void and cease to operate if the appliance is dismantled by, or any repairs to the appliance are effected by any persons not duly authorised by the Company, or if substitute parts not approved by the Company are used in the appliance, or if the serial number of the appliance is removed.
- The Company shall not be responsible for damages resulting from fire, flood, civil disturbances or any Act of God. The Company shall not, in terms of these warranties be responsible nor held liable for any consequential loss or damage of any kind caused by or due to the failure or malfunction of the appliance. The Company shall not be responsible for damages caused by insect and/or animal infestation.
- The Company shall not be responsible for transportation or other costs other than those incurred within the provisions of Point 1 of this Certificate.
- For warranties in the Republic of South Africa and Sub-Saharan Africa, please contact the customer care line. Please refer to the previous page for respective South African branches and Sub-Saharan Africa branches.
- Where service is requested under warranty and no fault or defect can be found by the Company, all costs incurred will be for the purchaser’s account.
- This Certificate as well as your invoice will serve as proof of purchase. For the purpose of warranty, it will be essential to produce this Certificate and invoice. Failure to do so, will render the purchaser liable for service costs.






flashes. Press +/- keys to set the time of the day after the oven is energized for the first time. Confirm the setting by touching symbol and wait for 4 seconds without touching any keys to confirm.







symbol appears on display for cooking time.
/
symbol and the time slice will appear on display continuously. Once the cooking starts,
symbol appears on display.




















