minkaAire Great Room Traditional Ceiling Fan
WARRANTY
Minka-Aire® warrants to the original owner that this fan will be free from defects in material and workmanship for one year from the date of purchase, excluding the motor. Minka-Aire® warrants to the original owner that the motor in this fan shall be free from defects in This is a limited warranty. Minka-Aire® only obligation under this limited warranty is to replace or repair, or refund the purchase price, in Minka-Aire® sole discretion without charge to the original owner, of the fan once Minka-Aire® confirms that the fan has a defect covered by this limited warranty.
Call our customer service department at 1-800-307-3267 to obtain the name of the Minka-Aire® authorized dealer closest to your location, or contact us through our web site, www.minkagroup.net and write to: Ask Mr. Minka if you have any questions or require further assistance.
To obtain warranty service, the owner should return the fan along with proof of purchase to a Minka-Aire® authorized dealer. The Minka-Aire® authorized dealer shall then, at its sole discretion: repair the fan, replace the fan, refund the purchase price less the amount directly attributable to the consumer’s prior usage of the fan, or if necessary instruct the consumer to contact Minka-Aire® directly for warranty service. Minka-Aire® will be responsible for the cost of any repair, or replacement for any warranty service provided by a Minka-Aire® authorized dealer for product under warranty.
You may also at your preference obtain warranty service by returning the fan directly to Minka-Aire® along with proof of purchase, your name and return address, and a description of the claimed product defect. Pack carefully; damage sustained in return transit to Minka-Aire® will be the original owner’s responsibility. Original owner shall be responsible to pay all shipping charges. To obtain warranty service, you may return a fan that proves to be defective during the warranty period to the following address: Minka-Aire® – Warranty Service, 1151 W. Bradford Court, Corona, CA 92882
This warranty shall not apply to fans which have been damaged in any way, including improper installation, damage as a result of the removal of the fan from the origial installation, or damage in shipping. This warranty shall not apply to fans which have been subjected to use for which the fan was not designed. The purchaser of the fan shall be responsible for any cost of removing the old fan, installing a new fan, or any other costs.
This limited warranty is in lieu of all other express warranties. This limited warranty excludes all incidental and consequential damages, and Minka-Aire® shall not under any circumstances be liable for incidental or consequential damages. Some States do not allow the exclusion of or limitation of incidental or consequential damages, so the foregoing limitation or exclusion may not apply to you.
This warranty gives you specific legal rights, and you may also have other rights which vary from State to State. We encourage you to promptly complete and return the enclosed warranty registration card. However, return of the warranty registration card is not a condition of this warranty.
SAFETY FIRST
- Before you begin installing the fan, shut power off at the circuit breaker of the fuse box.
- Be cautious! Read all instructions and safety information before installing your new fan. Review accompanying assembly diagrams.
- Make sure that all electrical connections comply with local codes, ordinances, or National Electrical Codes. Hire a qualified electrician or consult a do-it-yourself wiring handbook if you are unfamiliar with installing electrical wiring.
- Make sure the installation site you choose allows the fan blades to rotate without any obstructions. Allow a minimum clearance of 7 feet from the floor and 18 inches from the tip of the blades to the wall.
- NOTE: THIS CEILING FAN EXCEEDS THE MAXIMUM WEIGHT SPECIFIED BY UL FOR HANGING FROM A STANDARD OUTLET BOX. SPECIAL REINFORCEMENT OF THE CEILING IS REQUIRED FOR INSTALLATION.
- CAUTION: Use the wood screws provided for fan installation. The wood screws must go through the outlet box via the knock outs and secured directly to the building joist.
- After you install the fan, make sure that all mounting components are secured to prevent the fan from falling.
- Do not insert anything into the fan blades while the fan is operating.
- Turn the fan off and wait for the blades to stop completely before cleaning or performing any maintenance.
NOTE: The important safeguards and instructions appearing in this manual are not meant to cover all possible conditions and situations that may occur. It must be understood that common sense, caution and care are factors which can not be built into this product. These factors must be supplied by the person (s) installing, caring for and operating the unit.
NOTE: READ AND SAVE ALL INSTRUCTIONS!
WARNING
SUPPORT DIRECTLY FROM BUILDING STRUCTURE.
TO REDUCE THE RISK OF FIRE, ELECTRIC SHOCK OR OTHER PERSONAL INJURY. MOUNT FAN DIRECTLY TO THE BUILDING JOIST USING THE WOOD SCREWS AND WASHERS PROVIDED WITH THE FAN. THE WOOD SCREWS MUST GO THROUGH THE OUTLET BOX VIA THE KNOCK OUTS. CONSULT A QUALIFIED ELECTRICIAN IF IN DOUBT.
TO REDUCE THE RISK OF PERSONAL INJURY, DO NOT BEND THE BLADE HOLDERS WHILE INSTALLING, BALANCING THE BLADES, OR CLEANING THE FAN. DO NOT INSERT FOREIGN OBJECTS BETWEEN ROTATING FAN BLADES.
TO REDUCE THE RISK OF FIRE OR ELECTRIC SHOCK, DO NOT USE THIS FAN WITH ANY SOLID-STATE SPEED CONTROL DEVICE.
TO REDUCE THE RISK OF FIRE OR ELECTRONIC SHOCK, THIS FAN ONLY CAN USE UC7067RY SOLID-STATE SPEED CONTROL WITH UC9040T WALL CONTROL ONLY.
PACKAGE CONTENTS

- Fan motor/housing ass’y
- Canopy
- Switch Cup
- Fan blade
- Coupling cover
- Blade bracket
- Standard 6″downrod assembly
- Minimum 3-1/2″ length downrod (for close to ceiling mounting only)
- Hanger bracket plate
- Hanger bracket
- Balancing kit
- Receiver with 6 wire nuts
- Wall plate (includes 2 mounting screws)
- Wall control transmitter (includes 2 mounting screws)
- A. Blade Attachment Hardware: 3/16″-14mmscrews(16 pcs.) Fiber washers (16 pcs.)
- Mounting Hardware:
M6.5X89mm wood screws (3pcs)
Ø6.5X19mm Flat washer (3pcs)
Star washer (3pcs) 3/16″ spring washer (3pcs) Ø5X14mm Flat ashers (3 pcs.) - Bracket Attachment
Hardware: 1/4″-11mm screws (11 pcs.) - Wire Nut (3 pcs.)
- Wall control transmitter (includes 2 mounting screws)
BEGIN INSTALLATION
Tools Required: Phillips screw driver; slotted screw driver;pliers;wire cutters; electrical tape.

MOUNTING OPTIONS
If there isn’t an existing mounting box,then read the following instructions.Shut the power off at the circuit breaker or fuse box.
NOTE: THIS CEILING FAN EXCEEDS THE MAXIMUM WEIGHT SPECIFIED BY UL FOR HANGING FROM A STANDARD OUTLET BOX. SPECIAL REINFORCEMENT OF THE CEILING IS REQUIRED FOR INSTALLATION.
Secure the ceiling fan’s hanging bracket directly from the building structure via the outlet box.
Figures 1,2 and 3 are examples of different ways to mount the outlet box.
Note:You may need a longer downrod to maintain proper blade clearance when installing on a steep,sloped ceiling. Longer downrods are available from your Minka-Aire® dealer.
To hang your fan where there is an existing fixture but no ceiling joist,you may need to install a hanger bar as shown in Fig. 4 (available at your Minka-Aire® dealer).
HANGING THE FAN
WARNING: All of the parts, hardware and components such as the hanger bracket and hanger ball have been provided for your safety and the proper installation of your new ceiling fan. The use of other parts, hardware or components not supplied by Minka Aire with the fan will void the Minka Aire Warranty. REMEMBER to turn off the power. Follow the steps below to hang your fan properly;
- Step 1. Remove two knock-outs from the outlet box to expose the joist. (Fig. 5)
- Step 2. Use the two wood screws and washers to secure the hanger bracket plate directly to the building joist via the knock-out holes from the outlet box. (Fig. 6)
CAUTION! THE HANGER BRACKET PLATE MUST BE INSTALLED DIRECTLY TO THE BUILDING JOIST USING THE TWO WOOD SCREWS AND WASHERS PROVIDED. - Step 3. Secure hanger bracket to hanger bracket plate using the two hex nuts and washers provided, make sure nuts are securely tighten. (Fig. 7)
- Step 4. Loosen the two Set Screws from the coupling. (Fig. 8)
- Step 5. Remove the Hanger Ball from the Down Downrod Assembly by loosening the Set Screw and removing the Cross Pin. Remove the Hitch Pin and Lock Pin. (Fig. 9)
- Step 6. Carefully feed fan wires up through the downrod. Insert the rod into the coupling and tighten onto fan until the holes are aligned. Next replace lock pin and hitch pin. Tighten the screws (Fig.10)
- Step 7. Slip coupling cover and canopy onto downrod. Let canopy rest on top of the coupling cover. Carefully reinstall hanger ball onto rod being sure that cross pin isin correct position set screw on hanger ball istight and wires are not twised. (Fig. 10)
- Step 8. Now lift motor assembly into position and place downrod ball into hanger bracket. Rotate until the check groove has dropped into the registration slot and seats firmly. Rod should not rotate if this is done correctly (Fig. 11)

ELECTRICAL CONNECTIONS
WARNING: To avoid possible electrical shock be sure electricity is turned off at the main fuse or breaker box before wiring.
Note: The Aire Control System is equipped with a learning frequency function which has 256 code cominations to prevent potential interference from other remote units. The frequency on your Receiver and Transmitter units have been preset at the factory. (Fig.12). No frequency change is necessary, should you desire to install another fan within the same home or area with a seperate frequency code please see the “frequency interference ” troub-leshooting section of this instruction manual to learn how to change the frequency.
- Step 1.Insert Receiver into Hanger Bracket with the flat side of the Receiver facing the ceiling. (Fig. 13)
- Step 2.Motor to Receiver Electrical Connections: Connect the WHITE wire from the fan to the WHITE wire marked “TO MOTOR N” from the Receiver. Connect the BLACK wire from the fan to the BLACK wire marked “TO MOTOR L” from the Receiver. Connect the BLUE wire from the fan to the BLUE wire marked “For Light” from the Receiver.
Note: If your ceiling fan features an UP Light: Connect the ORANGE wire from the fan to the ORANGE wire marked “For Up Light” from the Receiver. Otherwise disregard this step and proceed to secure all wire connections with the plastic wire nuts provided. (Fig. 14 & 15) - Step 3. Receiver to House Supply Wires Electrical Connections: Connect the
WHITE wire (Neutral) from the outlet box to the WHITE wire marked “AC in N” from the receiver. Connect the BLACK wire (Hot) from the outlet box to the BLACK wire marked “AC in L” from the receiver. Secure all wire connections with the plastic wire nuts provided. (Fig. 14 & 15) - Step 4. If your outlet box has a GROUND wire (Green or Bare Copper) connect this wire to the Hanger Ball and Hanger Bracket Ground wires. If your outlet box does not have a Ground Wire, then connect the Hanger Ball and Hanger Bracket Ground Wires together. Secure wire connection with the plastic wire nut provided. (Fig. 14 & 15)
After all splices are made, check to make sure there are no loose strands. As an additional precaution we suggest to secure the plastic wire connectors to the wires with electrical tape.
Note: Fan must be installed from a maximum distance of 40 feet from the transmitting unit for proper signal transmission between the transmitting unit and the fan’s receiving unit.

INSTALLING THE WALL TRANSMITTER
WARNING! HOOK UP “IN SERIES” ONLY. DO NOT CONNECT NEUTRAL SUPPLY WIRE OF ELECTRIC CIRCUIT TO THE TRANSMITTER WALL SWITCH, DAMAGE TO THE TRANSMITTER WALL SWITCH AND POSSIBLE FIRE COULD OCCUR.
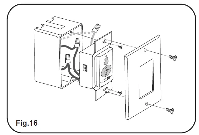
Step 1.Remove the existing wall plate and switch from the wall outlet box.
Step 2.Make the electrical connections as shown in Fig.15. If your outlet box has a ground wire (Green or Bare Copper) connect the Transmitter’s ground wire directly to one of the screws from the outlet box . Secure all wire connections with the plastic wire nuts provided.
Step 3.Carefully tuck the wire connections inside the outlet box. Use the screws provided to secure the wall transmitter and wall plate to the outlet box. (Fig. 16)
TMNOTE: Your Aire Control System includes two sets of face and decorative plate color options. The wall control comes with standard white faceplate attached. If you desire to replace it with the lvory color faceplate included, use a small flat screw driver and gently pry it apart from the top or bottom of the plate.

FINISHING THE INSTALLATION

- Step 1. Remove 1 of the 2 screws from the bottom of the hanger bracket and loosen the other one half a turn from the screw head.
- Step 2. Slide the canopy up towards the hanger bracket and place the key hole on the canopy over the screw on the hanger bracket, turn canopy until it locks in place at the narrow section of the key holes. (Fig. 17)
- Step 3. Align the circular hole on canopy with the remaining hole on the hanger bracket, secure by tightening the two set screws.
Note: Adjust the canopy screws as necessary until the canopy are snug.
ATTACHING THE FAN BLADES

- Step 1. Attach the fan blade to the blade bracket using the screws provided. Tighten screws securely. Repeat for remaining blades.(Fig. 18).
- Step 2. Remove the rubber stops from the motor and discard. Rotate the motor so that the screw holes are revealed through the opening from the switch cup plate. Align holes in blade bracket and motor and secure with proper screws and fiber washers provided. Repeat process with the other blade brackets.(Fig. 19).
ATTACHING THE SWITCH CUP
Step 1. Remove the screws from the switch cup plate. Connect the switch cup and fan wire molex connectors, Place the switch cup over the switch cup plate and secure with screws previously removed. (Fig.20).
NOTE: DO NOT PINCH WIRES BETWEEN THE SWITCH CUP AND THE SWITCH CUP PLATE.

OPERATING THE REMOTE CONTROL/WALL CONTROL
Remote Control fans only: Install the A23, 12v battery (included) . To prevent damage to transmitter remove the battery if not used for long periods of time.


Buttons:
These buttons are used to set the fan speeds as follows;
= Low Speed
= Medium Speed

= High Speed
Button:
This button turns the fan off.
Button:
These buttons turn the light ON or OFF and also control the brightness settings of the light. The following instructions apply to ceiling fans that feature a DOWN light (
button) only or ceiling fans that feature an UP light (
button) and a DOWN independent of each other;
Press and release the button for the desired light to turn the light ON or OFF. Press and hold the button to set the desired light brightness. The light will cycle between bright and dim settings as long as the button is pressed.
The light key has an automatic auto-resume feature that allows the light to remain at the same brightness as the last time it was turned off.- OFF-ON Slide Button (Wall Control Fans Only) This button turns the power Off and On to the Fan and Light(s).
- Button:
(Full Function Remote Control Units Only) This button is used to change the direction of the rotation of the blades; forward for warm weather or reverse for warm weather.
NOTE: If your Remote Control or Wall Control does not have a “REV” button, Please look for a slide reverse switch on the motor housing.
Speed settings for warm or cold weather depend on factors such as room size, ceiling height and number of fans.
NOTE: To change the direction of the rotation of the blades the fan must be in operation mode.
Warm Weather (forward)
A DOWNWARD airflow creates a cooling effect as shown in Figure 21. This allows you to set your air conditioner on a warmer setting without affecting your comfort.
Cool Weather (Reverse)
An UPWARD airflow moves warmer air off the ceiling area as shown in Figure 22.This allows you to set your heating unit on a cooler setting without affecting your comfort.
MAINTENANCE
Here are some suggestions to help you maintain your fan.
- Because of the fan’s matural novement,some connections may become loose. Check the support connections,brackets, and blade attachments twice a year. Make sure they are secure (It is not necessary to remove fan from ceiling. )
- Clean your fan periodically to help maintain its new appearance over the years. Do not use water when cleaning. This could damage the motor,or the wood,or possibly cause an electrical shock.
- Use only a soft brush or lint-free cloth to avoid scratching the finish. The plating is sealed with a lacquer to minimize discoloration or tarnishing.
- You can apply a light coat of furniture polish to the wood for additional protection and enhanced beauty. Cover small scratches with a light application of shoe polish.
- There is no need to oil your fan. The motor has permanently lubricated bearings.
- All glass should be cleaned using lukewarm soapy water and a soft cloth or sponge DO NOT IMMERSE GLASS IN HOT WATER DO NOT PUT GLASS INTO AN AUTOMATIC DISHWASHER.
WARNING
MAKE SURE THE POWER IS OFF AT THE ELECTRICAL PANEL BOX BEFORE YOU ATTEMPT ANY REPAIRS. REFER TO THE SECTION, “MAKING ELECTRICAL CONNECTIONS”.
TROUBLESHOOTING
SYMPTOM
Fan will not start
SOLUTION
- check to make sure the wall switch is turned on.
- Check circuit fuses or breakers.
- Cantion! Make sure the power is turned off before performing the following steps.
- Remove canopy and check wire connections. .Check wall control transmitter connections (if applicable).
.Note: Fan must be installed from a maximum distance of 40 feet from the transmitting unit for proper signal transmission between the transmitting unit and the fan’s receiving unit.
SYMPTOM
Lights shut off and will not come back on.
SOLUTION
- This unit is equipped with a wattage limiting device Lamping in excess of 190 watts will disable your ceiling fans light kit. To reset your light kit you must turn the power off and re-lamp Keeping the wattage under 190 watts. Restore power to your ceiling fan and continue normal operation.
SYMPTOM
Fan/Light turn on and off unexpectedly
SOLUTION
- This is caused by interference. Please see “Frequency interference” for steps to change the frequency.
SYMPTOM
Fan will not start
SOLUTION
- Allow a 24-hour “break in” period.
Most noises associated with a new fan will go away during this time. - Make sure all blade attachment screws are tight.
- Make sure outlet box is secured to building structure, if necessary use the wood screws provided to further secure outlet box to joist.
- Make sure hanger bracket is secure to the outlet box, screws are tight.
SYMPTOM
Fan Wobble
SOLUTION
- NOTE: All blade sets are grouped by weight. Because wood and plastic blades vary in density, the fan may wobble even though blades are matched.
- Make sure outlet box is secured to building structure, if necessary use the wood screws provided to further secure outlet box to joist.
- Make sure hanger bracket is secure to the outlet box, screws are tight.
- Use the balancing kit provided if the wobble is excessive (follow instructions included with balancing kit)
SYMPTOM
Frequency interference
SOLUTION
- Turn the power off to your ceiling fan.
- lease use a small size tool to change the frequency setting on the control system.
- Return power to the unit Note: After the AC power is on, do not press any other button on the transmitter before pressing the “Stop” button, doing so will cause the procedure to fail.
- Within 60 seconds of turning the Fan’s AC power ON. Press the transmitter’s Stop” button for 10 seconds.
- Once the receiver has detected the set frequency, the down light of your fan if applicable will blink twice. (there is no indication if your fan is not equipped with a light).
- 6.The receiver has now learn the frequency which has been selected on the transmitter. After completing the steps above, you should be able to operate the ceiling fan and light. If the fan is not responding to the transmitter, please turn the power off to the receiver, and repeat the process.
SPECIFICATIONS

These are typical readings Your actual fan may vary. They do not Include amps or wattage used by the light kit.
For any additional information about your Minka-Aire® Ceiling Fan,please write to:
1151 W.Bradford Court, Corona, CA 92882
For customer assistance call:1-800-307-3267



















