Lauben 1200BC Food Processor Kitchen Machine

Lauben Kitchen Machine 1200BC – User manual
Lauben Kitchen Machine 1200WT – User manual
Specifications and Features
| Model | LBNKM1200BC, LBNKM1200WT |
| Output | 1200 W |
| Voltage | 220-240 V, 50/60 Hz |
| Bowl volume | 5,5 l |
| Glass jar | 1,5 l |
| Cable | 1,2 m |
SAFETY INSTRUCTION – GENERAL
PLEASE READ ALL THE INSTRUCTIONS BEFORE USING THE APPLIANCE. KEEP THIS MANUAL FOR FUTURE REFERENCE.
THIS APPLIANCE IS DESIGNED ONLY TO BE USED IN HOUSEHOLDS.
- Do not allow children or unauthorized people to handle the appliance. Keep it out of their reach.
- Pay extra attention if the appliance is used near children.
- Do not use the appliance as a toy.
- The packaging contains small pieces, that can be dangerous for children. Always store the product out of reach of children. The bags may cause suffocation and the parts they contain are a choking hazard.
- Do not allow the power cord to hang freely over the edge of the countertop.
- Do not use the appliance outdoors or on a wet surface, there is a risk of electric shock.
- Do not use any accessories other than those recommended by the manufacturer.
- Do not use the appliance with a damaged cord or plug. Have it repaired immediately by an authorized service centre.
- Keep the appliance away from heat sources such as radiators, ovens and other devices that produce heat and keep it out of direct sunlight.
- Do not touch the appliance with wet hands.
- When installing accessories, cleaning and maintaining or in the event of a malfunction, switch off the appliance and unplug it from the mains socket.
- Do not switch on the appliance if the accessories are not properly fitted and without any food inside.
- The appliance is only suitable for home use and is not intended for commercial use.
- Do not immerse the power cord, plug or appliance in water or any other liquid.
- Check the appliance and the power cord for damage regularly. Never switch on a damaged appliance.
- Before cleaning and after using the appliance, switch the appliance off, unplug it from the mains and allow it to cool down.
- Do not repair the appliance yourself. Contact an authorized service centre.
- This appliance can be used by persons with reduced physical, sensory or mental capabilities or lack of experience and knowledge only if they are supervised or have been instructed concerning the safe use of the appliance and understand the hazards involved. Do not let children play with the appliance.
- This appliance is not designed to be operated using an external timer, remote control or any other component that switches the appliance automatically because there is a risk of fire if the appliance is covered or positioned incorrectly when the appliance is put into operation.
- Do not use the appliance in any other way than as described in this manual.
- Remove all the packaging and marketing materials from the appliance before first use.
- Make sure the mains voltage corresponds to the values on the rating label of the appliance.
- Do not leave the appliance unattended when it is switched on or connected to the mains.
- Only place the appliance on a stable and heat-resistant surface away from other heat sources.
- Care should be taken when handling the appliance if it contains hot food or water.
- Do not touch the hot surface. Use handles and buttons.
- Disconnect the appliance from the mains socket if it is not being used.
- Be careful when opening the appliance lid to avoid scalding.
- Observe a safe distance of the appliance from flammable materials such as furniture, curtains, blankets, paper, clothing, etc.
- When disconnecting the unit from the mains socket, never pull the power cord, hold the plug and pull it out to disconnect it.
- Allow adequate ventilation around the appliance when it is used.
- Do not place any objects on the appliance.
- Do not drop the appliance or subject it to severe shock.The product is covered by a two-year warranty, unless otherwise stated. The guarantee does not apply to any damage caused by non-standard usage, mechanical damage, exposure to severe conditions or by handling it in contradiction to the manual recommendations, as well as damage caused by ordinary wear and tear.
- Neither the manufacturer, importer nor the distributor take responsibility for any damage caused by the assembly or incorrect usage of the product.
- Switch off the appliance before fitting and removing the attachment.
- Keep your fingers away from the moving parts and the opening on the attachment.
- The appliance must be plugged into a grounded electrical outlet.
- If you must use an electrical extension cord, it must be grounded and make sure that no one can trip over it.
- Do not use the attachment or the appliance if it has been damaged. Contact an authorised service centre.
- Do not put any metal-containing accessories in the microwave.
- Switch off the appliance and disconnect it from the power supply before replacing accessories or handling any moving parts.
- Do not touch the whisk, blender blades or kneading hook while the appliance is in operation.
- Always use just one attachment.
- Risk of injury due to incorrect use. Therefore, handle the appliance carefully.
- Be careful when handling sharp cutting blades, emptying the bowl and cleaning.
- Caution: Make sure that the blender is switched off before removing it from the body.
- For pluggable equipment, the socket outlet shall be installed near the equipment and shall be easily accessible.
Product description/Box contents

- Speed control
- Safety lock for multifunction arm
- Multifunction arm
- Blender connector
- Blender connector cover
- Lock for meat grinder
- Meat grinder connector
- Meat grinder connector
- Bowl cover
- Stainless steel bowl
- Whisk
- Mixer blade
- Dough hook
- Grinding plate for fine grinding
- Worm shaft
- Meat chopper
- Grinding plate for coarse grinding
- Screw wheel
- Pusher for meat feeder
- Tray for meat grinder
- Meat feeder
- Separator
- Sausage attachment
- Shaper
- Cone
- Blender lid
- Blender jug
- Blender blade
- Blender base
- Chopper cup
- Chopper blade
- Chopper base

Usage
- Before first use, clean all parts of the attachment with soapy water, rinse and dry.
- Place the appliance on a flat, clean and dry surface, then plug it into a power outlet.
Mixing/Kneading/Emulsifying/Whipping

Depending on the nature of the ingredients, the bowl (10) with the cover can be used to prepare up to 2 kg of dough.
- Press the button (2) to release the multifunction arm (3) and lift it to the vertical position.
- Place the bowl (10) on the appliance and turn it until it clicks into place and the indicator box turns green. Then place the ingredients in the bowl.
- Place the plastic cover on the multifunction arm with the hole facing away from the appliance.
- Place the required attachment (11, 12, 13) on the multifunction arm, push it in and turn it a quarter turn towards you to lock it in position.
- Place the multifunction arm of the appliance in a horizontal position and press the button (2). A click should be heard.
- During preparation, you can add ingredients through the opening of the bowl cover.
- To stop the appliance, turn the knob (1) back to the „0“ position.
Blending/Stirring/Chopping

Depending on the nature of the ingredients, the blender can be used to prepare up to 1.5 litres of mixture.
Assembling and fitting the attachment:
- Place the multifunction arm (3) in a horizontal position and press the button (2) (a click should be heard).
- Remove the blender connector cover (5).
- Before attaching the assembled blender, make sure that the appliance is on a firm and level surface.
- Fit the assembled blender and lock it in position by turning it counterclockwise.
- Put the ingredients in a blender jug. You can now start processing the ingredients.
Caution:
- Do not run the blender empty for more than 1 minute.
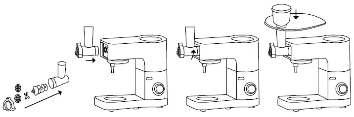
Meat grinder

Assembling and fitting the attachment:
- Make sure that the largest opening of the meat feeder points upwards. (21)
- Insert the worm shaft into the meat feeder with the narrow end first. Attach the meat chopper to the end of the shaft.
- Select the desired grinding plate and ensure that it fits into the designated notches.
- Screw the screw wheel onto the end of the meat feeder
- Make sure that none of the parts of the meat grinder can rotate freely or are loose
- Make sure that the multifunction arm is set horizontally before fitting the meat grinder
- Insert the assembled meat grinder into the connector (7) and turn it to the vertical position. It should click.
- Place the meat tray on top of the meat feeder
Caution:
- When removing the meat grinder, you must first press the safety catch (6).
- Insert the meat into the filling tube using the meat pusher Never press the meat with your finger or other or any other implement.
- Always turn the switch to the „0“ position after use.
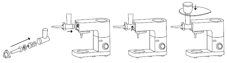
Making sausages

- Chop the meat.
- Insert the worm shaft into the meat feeder, narrow end first.
- Place the separator on the shaft.
- Insert the sausage attachment into the meat feeder and screw the ring onto the feeder.
- Attach the meat feeder to the unit.
- Place the tray on top of the meat feeder.
- The appliance is now ready to make sausages.
- Put the ingredients in the plastic tray.
- Using the pusher, gently push the meat into the feeder.
- Put the casing in lukewarm water for 10 minutes. Then slide the wet casing onto the sausage attachment. Use the pusher to push the minced meat into the feeder. If the casing sticks to the sausage attachment, soak it in a little water.
Caution:
- When disassembling the meat grinder body, you must first press the meat grinder lock (6).
- Insert the meat into the filling tube using the pusher. Never push the meat with your finger or other utensils.
- Always turn the switch to the „0“ position after use.
Making kebabs

- Insert the worm shaft into the meat feeder, narrow end first.
- Place the shaper on the shaft.
- Place the cone in the feeder and screw the ring onto the end of the meat feeder.
- Attach the meat feeder to the unit.
- Place the tray on top of the meat feeder.
- The processor is now ready to make the kebab.
- Push the prepared kebab mixture into the meat feeder through the filling hole.
- Cut the finished kebab to the required length.
Caution:
- When disassembling the meat feeder body, you must first press the lock (6).
- Only feed the meat into the feeder using the pusher. Never push the meat with your finger or other utensils.
- Always turn the switch to the „0“ position after use.
Chopper

Assembling and fitting the attachment:
- Put the ingredients in the chopper cup.
- Screw the chopper base to the chopper cup counterclockwise.
- Place the multifunction arm (3) in a horizontal position and press the button (2). A click should be heard.
- Remove the connector cover (5).
- Before attaching the assembled chopper make sure that the appliance is on a firm and level surface.
- Fit the assembled chopper and lock it in position by turning it counterclockwise.
Caution:
- Do not run an empty chopper for more than 30s..
Cleaning
- Unplug the appliance.
- Never immerse the motor in water or place it under running water. Wipe it with a soft, dry and slightly damp cloth.
- For easier cleaning of accessories, rinse quickly after use. Completely remove the blender attachment. Handle the blades carefully as they have sharp edges.
- The accessories can be placed in the dishwasher, except for the metal parts of the body of the meat grinder attachment, such as the meat feeder, the grinding plates, the worm shaft, the meat chopper and the screw ring.
- The grinding plates and chopper must be kept lubricated. Coat them with cooking oil after each use.
- If the accessories are stained with food (carrots, oranges, etc.), gently wipe them with a kitchen towel soaked in cooking oil and then clean as usual.
- Blender: Do not process hot food or hot water! Pour warm water with a few drops of detergent into the blender jar. Close the cover. Put it on the device and let it run for a while. Remove the blender, rinse the jug under running water and leave it to dry upside down.
| Accessories | Example of ingredients | Maximum | Duration | Speed | Size pcs |
| Whisk | Cream with fat content | 250 ml | 10 minutes | 6-Max | – |
| Protein | 12 pcs | 3 minutes | 6-Max | – | |
| Flour | 1000 g | ||||
| Salt | 20 g | ||||
| Yeast | 10 g | ||||
| Dough hook | 10 minutes | Min-2 | – | ||
| Sugar | 10 g | ||||
| Water | 500 g | ||||
| Lard | 20 g | ||||
| Flour | 100 g | ||||
| Castor sugar | 100 g | ||||
| Mixing blade | 5 minutes | 5-Max | – | ||
| Margarine | 100 g | ||||
| Eggs | 2 pcs | ||||
| Blender | Carrot | 600 g | 15×15×15mm | ||
| Water | 900 g | ||||
| – | |||||
| Grinder | Beef | 2000 g | 3 minutes | ||
| Pork | 2000 g | ||||
| 3 minutes | |||||
| Coffee beans | 50 g | 30 seconds | |||
| Chopper | Almonds | 50 g | 30 seconds | Max | |
| Corn | 50 g | 30 seconds | |||
- The symbol on the product and in the documentation indicates that used electronics shall not be disposed of into communal waste. When disposing of appliances, take them to the designated waste collection yard, where they will be accepted for free. Proper disposal will help to preserve precious natural resources and protect the environment as well as public health, which both may get threatened by improper disposal and its consequences. For further detail contact the local authorities or the nearest waste collection yard. Improper disposal of electrical appliances may result in fining in compliance with state regulations.
Disposal information for users of electrical and electronic appliances (industrial use): Disposal information for users of electrical and electronic appliances are to be asked for at and provided by the seller or supplier.
Disposal information for users of electrical and electronic appliances in countries outside of the European Union: The disposal symbol stated above is valid only in the European Union. Disposal information for users of electrical and electronic appliances are to be asked for at and provided by the seller or supplier. All information is represented by the crossed container on the product, package and printed documentation. - Please contact your dealer for warranty repairs. In case of technical problems and questions, please contact your dealer who will inform you of the next steps to be taken. Observe the rules
for working with electrical equipment. The user is not authorised to disassemble the equipment or replace any of its components. There is a risk of electric shock if the covers are opened or removed. Incorrect assembly and reconnection of the equipment also exposes you to the risk of electric shock.
The warranty period for the products is 24 months unless otherwise stated. The warranty does not cover damage caused by non-standard use, mechanical damage, exposure to harsh conditions, handling contrary to the manual and normal wear and tear. The warranty period is 24 months for the battery and 6 months for its capacity. For more information on the warranty, please visit www.elem6.com/warranty
Neither the manufacturer, importer nor distributor shall be liable for any damage caused by the installation or improper use of the product.
EU Declaration of Conformity
elem6 s.r.o. hereby declares that the Lauben Kitchen Machine 1200BC/Lauben Kitchen Machine 1200WT complies with the essential requirements and other relevant provisions of Directive 2014/30/EU and 2014/35/EU. All Lauben products are intended for sale without restriction in Germany, the Czech Republic, Slovakia, Poland, Hungary and other EU member states. The full Declaration of Conformity can be downloaded from www.lauben.com/support/doc
Import to EU
elem6 s.r.o., Braškovská 308/15, 16100 Praha 6, Czech Republic www.lauben.com
Manufacturer
TIGMON GmbH, Yorkstraße 22; 93049 Regensburg, Deutschland
Printing errors and changes in the manual are reserved.
















