GODDESS RSE 085GS8SSF Freestanding Fridge

SAFETY INFORMATION
- In the interest of your safety and to ensure the correct use, before installing and first using the appliance, read this user manual carefully, including its hints and warnings. To avoid unnecessary mistakes and accidents, it is important to ensure that all people using the appliance are thoroughly familiar with its operation and safety features. Save these instructions and make sure that they remain with the appliance if it is moved or sold, so that everyone using it through its life will be properly informed on appliance use and safety.
- For the safety of life and property keep the precautions of these user’s instructions as the manufacturer is not responsible for damages caused by omission.
Children and vulnerable people safety
- This appliance can be used by children aged from 8 years and above and persons with reduced physical, sensory or mental capabilities or lack of experience and knowledge if they have been given super vision or instruction concerning use of the appliance in a safe way and understand the hazards involved.
- Children aged from 3 to 8 years are allowed to load and unload refrigerating appliances.
- Children should be supervised to ensure that they do not play with the appliance.
- Cleaning and user maintenance shall not be made by children unless they are aged from 8 years and above and supervised.
- Keep all packaging well away from children. There is risk of suffocation.
- If you are discarding the appliance pull the plug out of the socket, cut the connection cable (as close to the appliance as you can) and remove the door to prevent playing children to suffer electric shock or to close themselves into it.
- If this appliance featuring magnetic door seals is to replace an older appliance having a spring lock (latch) on the door or lid, be sure to make that spring lack unusable before you discard the old appliance. This will prevent it from becoming a death trap for a child.
General safety
- WARNING! Keep ventilation openings, in the appliance enclosure or in the built-in structure, clear of obstruction.
- WARNING! Do not use mechanical devices or other means to accelerate the defrosting process, other than those recommended by the manufacturer.
- WARNING! Do not damage the refrigerant circuit.
- WARNING! Do not use other electrical appliances (such as ice cream makers) inside of refrigerating appliances, unless they are approved for this purpose by the manufacture.
- WARNING! Do not touch the light bulb if it has been on for a long period of time because it could be very hot. 1)
- WARNING! When positioning the appliance, ensure the supply cord is not trapped or damaged.
- WARNING! Do not locate multiple portable socket-outlets orportable power suppliers at the rear of the appliance.
- Do not store explosive substances such as aerosol cans with a flammable propellant in this appliance.
- The refrigerant isobutane (R600a) is contained within the refrigerant circuit of the appliance, a natural gas with a high level of environmental compatibility, which is nevertheless flammable.
- During transportation and installation of the appliance, be certain that none of the components of the refrigerant circuit become damaged.
- avoid open flames and sources of ignition
- thoroughly ventilate the room in which the appliance is situated
- It is dangerous to alter the specifications or modify this product in any way. Any damage to the cord may cause a short circuit, fire and/or electric shock.
- This appliance is intended to be used in household and similar applications such as:
- staff kitchen areas in shops, offices and other working environments
- farm houses and by clients in hotels, motels and other residential type environments
- bed and breakfast type environments
- catering and similar non-retail applications.
- Power cord must not be lengthened.
- Make sure that the power plug is not squashed or damaged by the back of the appliance. A squashed or damaged power plug may overheat and cause a fire.
- Make sure that you can come to the mains plug of the appliance.
- Do not pull the mains cable.
- If the power plug socket is loose, do not insert the power plug. There is a risk of electric shock or fire.
- You must not operate the appliance without the lamp. 1)
- This appliance is heavy. Care should be taken when moving it.
- Do not remove nor touch items from the freezer compartment if you hands are damp/wet, as this could cause skin abrasions or frost/freezer burns.
- Avoid prolonged exposure of the appliance to direct sunlight.
Daily use
- Do not put hot on the plastic parts in the appliance.
- Do not place food products directly against the rear wall.
- Frozen food must not be re-frozen once it has been thawed out.2)
- Store pre-packed frozen food in accordance with the frozen food, manufactures instructions.2)
- Appliance s manufactures storage recommendations should be strictly adhered to. Refer to relevant instructions.
- Do not place carbonated of fizzy drinks in the freezer compartment as it creates pressure on the container, which may cause it to explode, resulting in damage to the appliance.2)
- Ice lollies can cause frost burns if consumed straight from the appliance.2)
To avoid contamination of food, please respect following instructions:
- Opening the door for long periods can cause a significant increase of the temperature in the compartments of the appliance.
- Clean regularly surfaces, that can come into contact with food and accessible drainage systems.
- Clean water tanks, if they have not been used for 48 h, flush the water system connected to a water supply, if water has not been drawn for 5 days (if they are presented in the appliance).
- Store raw meat and fish in suitable containers in the refrigerator, so that it is not in contact with or drip onto other food.
- Two-star frozen-food compartments (if they are presented in the appliance) are suitable for storing pre-frozen food, storing or makng ice cream and making ice cubes.
- One-, two- and three-star compartments (if they are presented in the Appliance) are not suitable for freezing of fresh food.
- If the refrigerating appliance is left empty for long periods, switch off, defrost, clean, dry, and leave the door open to prevent mould developing within the appliance.
Care and cleaning
- Before maintenance, switch off the appliance and disconnect the mains plug from the mains socket.
- Do not clean the appliance with metal objects.
- Do not use sharp objects to remove frost from the appliance. Use a plastic scraper. 2)
- Regularly examine the drain in the refrigerator for defrosted water. If necessary, clean the drain. If the drain is blocked, water will collect in te bottom of the appliance. 3)
- If there is a light in the compartment.
- If there is a freezer compartment.
- If there is a fresh-food storage compartment.
Installation
IMPORTANT! For electrical connection carefully follow the instructions given in specific paragraphs.
- Unpack the appliance and check if there are damages on it. Do not connect the appliance if it is damaged. Report possible damages immediately to the place you bought it. In that case retain packing.
- It is advisable to wait at least four hours before connecting the appliance to allow the oil to flow back in the compressor.
- Adequate air circulation should be around the appliance, lacking this leads to overheating. To achieve sufficient ventilation follow the instructions relevant to installation.
- Wherever possible the spacers of the product should be against a wall to avoid touching or catching warm parts (compressor, con-denser) to prevent possible burn.
- The appliance must not be located close to radiators or cookers.
- Make sure that the mains plug is accessible after the installation of the appliance.
Service
- Any electrical work required to do the servicing of the appliance should be carried out by a qualified electrician or competent person.
- This product must be serviced by an authorized Service Center, and only genuine spare parts must be used.
Energy saving
- Don’t put hot food in the appliance
- Don’t pack food close together as this prevents air circulating
- Make sure food don’t touch the back of the compartment(s)
- If electricity goes off, don’t open the door(s)
- Don’t open the door(s) frequently
- Don’t keep the door(s) open for too long time
- Don’t set the thermostat on exceeding cold temperatures
- All drawers, shelves and door compartments should be placed in their position for the lowest possible energy consumption.
Environment Protection
This appliance does not contain gasses that could damage the ozone layer, in either its refrigerant circuit or insulation materials. The appliance shall not be discarded together with the urban refuse and rubbish. The insulation foam contains flammable gases: the appliance shall be disposed according to the appliance regulations to obtain from your local authorities. Avoid damaging the cooling unit, especially the heat exchanger. The materials used on this appliance marked by the symbol are recyclable. The symbol on the product or on its packaging indicates that this product may not be treated as household waste. Instead it should be taken to the appropriate collection point for the recycling of electrical and electronic equipment. By ensuring this product is disposed of correctly, you will help prevent potential negative consequences for the environment and human health, which could otherwise be caused by inappropriate waste handling of this product. For more detailed information about recycling of this product, please contact your local council, your household waste disposal service or the shop where you purchased the product.
Packaging materials
The materials with the symbol are recyclable. Dispose of the packaging in suitable collection containers to recycle it.
Disposal of the appliance
- Disconnect the mains plug from the mains socket.
- Cut off the main cable and discard it.
OVERVIEW

INSTALLATION
Space Requirement
Keep enough space for the door open.
- A 480 mm
- B 450 mm
- C 850 mm
- D min=50 mm
- E min=50 mm
- F min=50 mm
- G 960 mm
- H 930 mm
Leveling the unit
- To do this adjust the two levelling feet at front of the unit.
- If the unit is not level, the doors and magnetic seal alignments will not be covered properly
Positioning
Install this appliance at a location where the ambient temperature corresponds to the climate class indicated on the rating plate of the appliance. For refrigerating appliances with climate class:
- extended temperate: ‘this refrigerating appliance is intended to be used at ambient temperatures ranging from 10 °C to 32 °C (SN)
- temperate: ‘this refrigerating appliance is intended to be used at ambient temperatures ranging from 16 °C to 32 °C (N)
- subtropical: ‘this refrigerating appliance is intended to be used at ambient temperatures ranging from 16 °C to 38 °C (ST)
- tropical: ‘this refrigerating appliance is intended to be used at ambient temperatures ranging from 16 °C to 43 °C (T)
This appliance is not intended for use at altitudes exceeding 2000 m. This device is designed for climate classes N, ST or ambient temperatures of 16 – 38 °C.
Location
The appliance should be installed well away from sources of heat such as radiators, boilers, direct sunlight etc. Ensure that air can circulate freely around the back of the cabinet. To ensure best performance, if the appliance is positioned below an overhanging wall unit, the minimum distance between the top of the cabinet and the wall unit must be at least 50 mm. Ideally, however, the appliance should not be positioned below overhanging wall units. Accurate leveling is ensured by one or more adjustable feet at the base of the cabinet. This refrigerating appliance is not intended to be used as a built-in appliance.
Electrical connection
- Before plugging in, ensure that the voltage and frequency shown on the rating plate correspond to your domestic power supply. The appliance must be earthed. The power supply cable plug is provided with a contact for this purpose. If the domestic power supply socket is not earthed, connect the appliance to a separate earth in compliance with current regulations, consulting a qualified electrician.
- The manufacturer declines all responsibility if the above safety precautions are not observed.This appliance complies with the E.E.C. Directives.
REVERSE DOOR
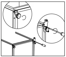
Tool required: Philips screwdriver, Flat bladed screwdriver, Hexagonal spanner.
- Ensure the unit is unplugged and empty.
- To take the door off, it is necessary to tilt the unit backward. You should rest the unit on something solid so that it will not slip during the door-reversing process.
- All parts removed must be saved to do the reinstallation of the door.
- Do not lay the unit flat as this may damage the coolant system.
- It’s better that 2 people handle the unit during assembly
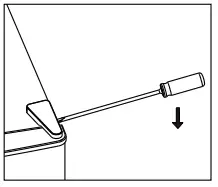
- Carefully remove the top hinge cover with a flat screwdriver.

- Unscrew the top hinge with a philiphs screwdriver.

- Remove the hole cover with a flat screwdriver.

- Move the core cover from left side to right side. And then lift the upper door and place it on a padded surface to prevent it from scratching.

- Lie down the rear of cabinet on a soft pad. And unscrew the bottom hinge and leveling foot.

- Unscrew and remove the bottom hinge pin, turn the bracket over and replace it.

- Install the hinge at left side and foot base at right side. Then screw two leveling feet with their original parts.

- Detach the Fridge and the Freezer door gaskets and then attach them after rotating.

- Stand up the unit and put the door on the bottom hinge. Make sure the bottom hinge core is inserted in the door hole. Install the door with the upper hinge.

- Clap in the hinge cover and hole cover on the top of unit.

DAILY USE
First use/cleaning the interior
- Before using the appliance for the first time, wash the interior and all internal accessories with lukewarm water and some neutral soap so as to remove the typical smell of a brand-new product, then dry thoroughly.
Temperature Setting
Plug on your appliance. The internal temperature is controlled by a thermostat. There are 7 settings :

- 1: is warmest setting
- 7: is coldest setting,
- 0: is off.
Temperature setting recommendation

Impact on food storage
Storage time may be reduced if the appliance is set up differently. The best storage time in the refrigerator with the recommended setting follows:

Helpful hints and tips
Hints for fresh food refrigeration
To obtain the best performance:
- Do not store warm food or evaporating liquids in the refrigerator
- Do cover or wrap the food, particularly if it has a strong flavour
- Make (all types): wrap in polythene bags and place on the glass shelves above the vegetable drawer.
- For safety, store in this way only one or two days at the most.
- Cooked foods, cold dishes, etc…: these should be covered and may be placed on any shelf.
- Fruit and vegetables: these should be thoroughly cleaned and placed in the special drawer(s) provided.
- butter and cheese: these should be placed in special airtight containers or wrapped in aluminum foil or polythene bags to exclude as much air as possible.
- Milk bottle: these should have a cap and should be stored in the balconies on the door.
- Bananas, potatoes, onions and garlic, if not packed, must not be kept in the fridge.
Cleaning
For hygienic reasons the appliance interior, including interior accessories, should be cleaned regularly.
CAUTION! The appliance may not be connected to the mains during cleaning. Danger of electrical shock! Before cleaning switch the appliance off and remove the plug from the mains, or switch off or turn out the circuit breaker or fuse. Never clean the appliance with a steam cleaner. Moisture could accumulate in electrical components, danger of electrical shock! Hot vapors can lead to damage of plastic parts. The appliance must be dry before it is placed back into service.
IMPORTANT! Ethereal oils and organic solvents can attack plastic parts, e.g. lemon juice or juice form orange peel, butyric acid, cleanser that contain acetic acid.
- Do not allow such substances to come into contact the appliance parts.
- Do not use any abrasive cleaners
- Remove the food from the freezer. Store them in a cool place, well covered.
- Switch the appliance off and remove the plug from the mains, or switch off or turn out the circuit breaker of fuse.
- Clean the appliance and the interior accessories with a cloth and lukewarm water. After cleaning wipe with fresh water and rub dry.
- After everything is dry place appliance back into service
Defrosting of the freezer
The freezer compartment, however, will become progressively covered with frost. This should be removed.Never use sharp metal tools to scrape off frost from the evaporator as you could damage it. However, when the ice becomes very thick on the inner liner, complete defrosting should be carried out as fellows:
- Pull out the plug from the socket;
- Remove all stored food, wrap it in several layers of newspaper and put it in a cool place;
- Keep the door open, and placing a basin underneath of the appliance to collect the defrost water;
- When defrosting is completed, dry the interior thoroughly
- Replace the plug in the power socket to run the appliance again.
TROUBLESHOOTING
CAUTION! Before troubleshooting, disconnect the power supply. Only a qualified electrician of competent person must do the troubleshooting that is not in this manual.
IMPORTANT! There are some sounds during normal use (compressor, refrigerant circulation). These sounds are not a reason for complaint!


TECHNICAL DATA
- Technical information can be found on the type plate inside the appliance (or on its back side) and on the energy label.
- “Information Sheet” and “Directions for Use” can be downloaded at: www.goddess.cz.
- QR code on the energy label supplied with the appliance provides a web link to information concerning the specification of this appliance in the EU EPREL database.
- Keep the energy label together with user manual and all other documentation supplied with this appliance.
- The same information in the EPREL database can also be found at: https://eprel.ec.europa.eu
- The model name (product number) can be found on the type plate of the appliance and also on the energy label supplied with the appliance.
- We reserve the right to change technical specifications.
CUSTOMER CARE AND SERVICE
- Always use original spare parts.
- When contacting our authorized service or information line, make sure you have the following information available: the model name (product number) and serial number (SN).
- This information can be found on the type plate (or on a separate label near it).
- The manufacturer reserves the right for change without prior notice.
- Original spare parts for particular selected components of the product are available at least 7 or 10 years from the launch of the last piece of the appliance on the market (depending on the type of the component).
- The manufacturer provides a standard legal warranty for the appliance for a period of 24 months.
- For more information regarding service and purchase of spare parts, visit our website:
- www.etasince1943.com/support
WARNING
WARNING: DO NOT USE THIS PRODUCT NEAR WATER, IN WET AREAS TO AVOID FIRE OR INJURY OF ELECTRIC CURRENT. ALWAYS TURN OFF THE PRODUCT WHEN YOU DON’T USE IT OR BEFORE A REVISION. THERE AREN’T ANY PARTS IN THIS APPLIANCE WHICH ARE REPARABLE BY CONSUMER. ALWAYS APPEAL TO A QUALIFIED AUTHORIZED SERVICE. THE PRODUCT IS UNDER A DANGEROUS TENSION.
Old electrical appliances, used batteries and accumulators disposal
This symbol appears on the product, on the product accessories or on the product packing means that the product must not be disposed of as household waste. When the product/ battery durability is over, please, deliver the product or battery (if it is enclosed) to the respective collection point, where the electrical appliances or batteries will be recycled. The places, where the used electrical appliances are collected, exist in the European Union and in other European countries as well. By proper disposal of the product you can prevent possible negative impact on the environment and human health, which might otherwise occur as a consequence of improper manipulation with the product or battery/ accumulator. Recycling of materials contributes to the protection of natural resources. Therefore, please, do not throw the old electrical appliances and batteries/ accumulators in the household waste. Information, where it is possible to leave the old electrical appliances for free, is provided at your local authority, at the store where you have bought the product. Information, where you can leave the batteries and accumulators for free, is provided to you at the store, at your local authority.





























