AI-logger 96×96 Data Logger
OIM AI-logger V1.2
The OIM AI-logger V1.2 is a device used for logging analog input signals. It has a supply printer port, two alarm outputs, digital input, and PC connectivity.
Product Usage Instructions:
- Connect the power supply to the supply printer port.
- Connect the analog input device to the input terminals provided (PC+, PCDEV+, DEV-).
- Connect the digital input device to the input terminalprovided.
- Connect the PC to the logger using the PC connectivity port.
- Turn on the logger.
- Set the required parameters using the user interface provided.
- The logger will start logging the analog input signals and can be monitored and controlled through the PC interface.
SPECIFlCATIONS
- Dl~PLAY TYPE:
- 16X2 YELLOW LCD
- INPUT:
- Available Units
- : Refer table (Table NO.1)
- RES0UJTION
- : 0.1/0.01/0.001/1.
- Available Units
- RELAY OUTPUT
- Contact Type
- : N/0,CM,N/C
- Contctet Ratins
- : SA @ ZSOVAC or 30 voe
- life Expectancy
- : >S,00,000 operations
- lsolation
- : Inherent
- Contact Type
- FUNCTI0N:
- 0utputl/Output2
- : Alarm outplrts
- 0utputl/Output2
- POWER SUPPLY:
- Supply Voltage Consumption
- : 90-270VAC,50-60hz
- Supply Voltage Consumption
- PHYSICAL:
- Housing
- : ABS plastic
- Housing
- MEMORY CAPACITY
- : Up to 2.SOlakh records
- 8.PRINTER CONNECTIVITY
- : Available through RS-415 connector
- CAMMUNICATION
- :M0DBUS protocol ls used
BACKPLATE
DIMENSIONS
INDEX
SETUP
FRONT PANEL KEYS
POWER ON SCREEN
RUN MODE SCREEN
SYSTEM CONFIGURATION
To Enter in Main Menu press SHIFT & SET key simultaneously for 3 seconds afer doing this following screen will appear
COMMUNICATION SETTING (Flow Chart)
To Enter in this menu press SHIFT & SET key simultaneously after that enter appropriate password afer doing this following screen will appear. Screens with ‘<‘ indicates that change is allowable. If you just want to see all the settings(Don’t want to change) use .._ …,. to have a look. If you want to see/keep the previous value of the parameter then press shift key for 3 seconds so that ‘<‘ will get removed.
COMMUNICATION SETTING(Descripton}
Basically used for the communication setting between devices & data logger and between data logger &PC simultaneuosly.
There are different parameters available which are as follow.
RTC SETTING
(Real Time Clock setting)
It is used to set date & time in data logger. To Enter in this menu press SHIFT & SET key simultaneously after that enter appropriate password afer doing this, following screen will appear. Screens with ‘<‘ indicates that change is allowable. If you just want to see all the settings(Don’t want to change) use…,. ,., to have a look. If you want to see/keep the previous value of the parameter then press shift some time so that ‘<‘ will get removed.
SCAN DEVICE FLOW CHART
To Enter in this menu press SHIFT & SET key simultaneously after that enter appropriate password afer doing this following screen will appear. Screens with ‘<‘ indicates that change is allowable. If you just want to see all the settings(Don’t want to change) use …_ .,,. to have a look. If you want to see/keep the previous value of the parameter then press shift some time so that ‘<‘ will get removed.
(CONFIGURATION PROCESS WILL BE CARRIED OUT IN FOLLOWING MANNER FOR OTHER DEVICES. HERE WE ARE CONSIDERING DEVICE1)
SCAN DEVICES(DESCRIPTION}
It is used to define number of devices which are connected to the data logger. The number of devices that can be connected maximum up to 4.
Table No.1 (Available Units):
DATA LOGGING(Flow Chart)
To Enter in this menu press SHIFT & SET key simultaneously after that enter appropriate password afer doing this following screen will appear. Screens with ‘<‘ indicates that change is allowable. If you just want to see all the settings(Don’t want to change) use • T to have a look. If you want to see/keep the previous value of the parameter then press shift some time so that ‘<‘ will get removed.
(NOTE: lf we select BATCH LOG MODE, SCREENS WILL APPEAR AS FOLLOW..).
(NOTE: lf ONLY LOG MODE SCREENS WILL APPEAR AS FOLLOWS)
(NOTE: lf ONLY BATCH LOG MODE SCREENS WILL APP~AR AS FOLLOWS)
(NOTE: Following screens will appear depending on the type of start input)

DATA LOGGING(DESCRIPTION)
Basically it is used to keep the track of each devices connected. There are two ways in which we are going to keep the track that is Batch and Log. BATCH MODE :In batch we are going to provide the start and end of the batch so that data is going to get logged during that time span only after that no tracking. LOG MODE: In this we are going to log the data after specified duration of time given by us(user)
PRINTER SETTING(Flow Chart)
To Enter in this menu press SHIFT & SET key simultaneously after that enter appropriate password afer doing this following screen will appear. Screens with ‘<‘ indicates that change is allowable. If you just want to see all the settings(Don’t want to change) use . T to have a look. If you want to see/keep the previous value of the parameter then press shift some time so that ‘<‘ will get removed.
PRINTER SETTING(DESCRIPTION)
It will provide us options to make use of a printer during the process of data logging based on our convenience. Their are following options
MEMORY STATUS(Flow Chart)
To Enter in this menu press SHIFT & SET key simultaneously after that enter appropriate password afer doing this following screen will appear. Screens with ‘<‘ indicates that change is allowable. If you just want to see all the settings(Don’t want to change) use • T to have a look. If you want to see/keep the previous value of the parameter then press shift some time so that ‘<‘ will get removed.
MEMORY STATUS(DESCRIPTION}
It is used to do some memory settings. Options as follows
CHANGE PASSWORD
IN THIS WE CAN CHANGE THE PASSWORD WHICH WE NEED TO ACCESS MAIN MENU
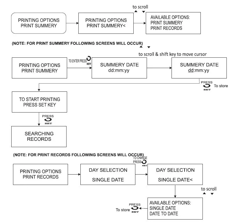
TO ENTER IN THIS MENU PRESS PRINT KEY FOR 3SECONDS
(NOTE: FOR PRINT SUMMERY FOLLOWING SCREENS WILL OCCUR)
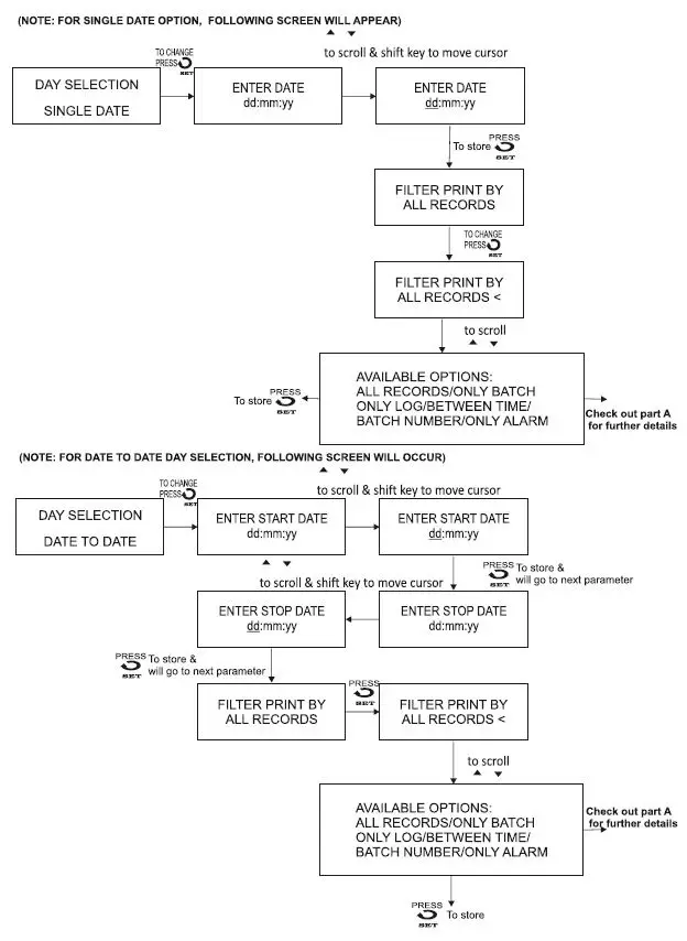
(NOTE: FOR SINGLE DATE OPTION, FOLLOWING SCREEN WILL APPEAR)
(NOTE: FOR DATE TO DATE DAY SELECTION, FOLLOWING SCREEN WILL OCCUR)
Part A
(NOTE: IF WE SELECT ALL RECORDS, ONLY BATCH, ONLY LOG, ONLY ALARM, FOLLOWING SCREENS WILL APPEAR)
(NOTE: IF WE SELECT BETWEEN TIME, FOLLOWING SCREENS WILL APPEAR)
(NOTE: IF WE SELECT BATCH NUMBER FOLLOWING SCREENS WILL APPEAR)
HOLD PRINT KEY FOR 3SECONDS YOU WILL COME ACROSS FOLLOWING OPTIONS
Mfgd by: Innovative Instruments & Controls LLP
338, New Sonal Link Service Industrial Premises Co-op Society Ltd,
Building No.2,
Link Road,
Malad (W),
Mumbai – 400064.
Tel: 022-66939916/17/18;
E-mail : [email protected]
Website : www.itherm.co.in


























