DIMPLEX DIR15A10GR Indoor-Outdoor Infrared Heaters

Product Information
DIR Series Indoor/Outdoor Infrared Heaters
The DIR series indoor/outdoor infrared heaters from Dimplex are designed to provide a comfortable heating solution for both residential and commercial spaces. These heaters are available in four different models: DIR15A10GR, DIR18A10GR, DIR22A10GR, and DIR30A10GR. The heaters feature a powerful infrared heating element that delivers instant warmth to people and objects in the room. They also come with a built-in timer that allows you to set the heater to run for 1 or 2 hours at a time. The heaters have three different heat settings: low, medium, and high, which can be adjusted using the control panel on the front of the unit. The DIR series heaters have a sleek, modern design that complements any indoor or outdoor decor. They are made with durable materials that are resistant to corrosion and weather damage, making them ideal for use in a variety of environments.
Product Usage Instructions
- Before installing or using the heater, read all instructions and warnings carefully.
- Place the heater on a stable surface that is at least 3 feet away from any combustible materials such as furniture, pillows, bedding, papers, clothes, and curtains.
- Plug the heater into a grounded electrical outlet.
- Turn the heater on by pressing the power button on the control panel.
- Select your desired heat setting (low, medium, or high) using the control panel.
- If desired, set the timer to run for 1 or 2 hours at a time using the timer button on the control panel.
- When you are finished using the heater, turn it off by pressing the power button on the control panel.
- Do not operate the heater with a damaged cord or after it malfunctions, has been dropped or damaged in any manner. Return the heater to an authorized service facility for examination or mechanical adjustment or repair.
Following these instructions will help ensure that you can use your DIR series heater safely and effectively. If you have any questions or concerns about the heater, please consult the user manual or contact Dimplex customer support for assistance.
IMPORTANT SAFETY INFORMATION
Always read this manual first before attempting to install or use this heater. For your safety, always comply with all warnings and safety instructions contained in this manual to prevent personal injury or property damage. To view the full line of Dimplex products, please visit www.dimplex.com
Welcome & Congratulations
Thank you and congratulations for choosing to purchase a Dimplex DIR Heater
Please carefully read and save these instructions.
CAUTION: Read all instructions and warnings carefully before starting installation. Failure to follow these instructions may result in a possible electric shock, fire hazard and will void the warranty. Please record your model and serial numbers for future reference. Model and serial numbers can be found on the Model and Serial Number Label of your heater.

NO NEED TO RETURN TO THE STORE Questions with operation or assembly? Require Parts Information? Product Under Manufacturer’s Warranty? Contact us at:
www.dimplex.com/customer_support For Troubleshooting and Technical Support OR
Toll-Free 1-888-346-7539 Please have your model number and product serial number ready. (See above)
IMPORTANT INSTRUCTIONS
When using electrical appliances, basic precautions should always be followed to reduce the risk of fire, electric shock, and injury to persons, including the following:
- Read all instructions before installing or using this heater.
- Use this heater only as described in this manual. Any other use not recommended by the manufacturer may cause fire, electric shock, or injury to persons.
- This heater is hot when in use. To avoid burns, do not let bare skin touch hot surfaces. Keep combustible materials, such as furniture, pillows, bedding, papers, clothes, and curtains at least 0.9 m (3.0 ft) from the front of the heater and keep them away from sides and rear restrictions.
- Extreme caution is necessary when any heater is used by or near children or invalids and whenever the heater is left operating and unattended.
- Do not operate any heater after it malfunctions. Disconnect power at service panel and have heater inspected by a reputable electrician before reusing.
- Do not operate any heater with a damaged cord or after it malfunctions, has been dropped or damaged in any manner. Return heater to authorized service facility for examination or mechanical adjustment or repair.
- To disconnect heater, turn off power to heater circuit at main disconnect switch, and turn off power to heater circuit at main disconnect panel.
- Do not insert or allow foreign objects to enter any ventilation or exhaust opening as this may cause an electric shock or fire, or damage the heater.
- To prevent a possible fire, do not block air intakes or exhaust in any manner.
- A heater has hot and arcing or sparking parts inside. Do not use it in areas where gasoline, paint, or flammable liquids are used or stored.
- Do not touch the heater during operation as the body becomes hot and could causes burns. Particular attention has to be given where children and vulnerable people are present.
- This appliance is not intended for use by persons (including children) with reduced physical,sensory or mental capabilities, or lack of experience and knowledge, unless they have been given supervision or instruction concerning use of the appliance by a person responsible for their safety.
- Do not allow any cables, furnishing, flammable materials, or other items come in contact with any surface of the heater.
- The heater must not be located immediately below a socketoutlet. The heater must not be located in front of a socketoutlet. They should be located outside the physical footprint of the units to minimize heat buildup behind the heater.
- SAVE THESE INSTRUCTIONS.
HOW TO OPERATE THE HEATER
What’s included with your Dimplex DIR Series Heater
- IR Heater
- Operating and Installation Instructions
- One small box containing 2 sets of brackets and mounting hardware
- One remote controller

Technical Specification

RISK OF FIRE/EXPLOSION
This heater should not be used in potentially explosive atmospheres. Do not use in areas where gasoline, paint or flammable liquids are used or stored. Installation minimum clearances specified on the heater nameplate and in the owner’s manual must be followed.
Before installation, read this manual carefully and keep for future reference.
The heater must be installed in accordance with the manufacturer’s installation instructions.
- This equipment shall be installed only by qualified personnel who are familiar with the construction and operation of the apparatus and hazard involved.
- WARNING: The heater is fitted with an electrical connection box and should be connected as a fixed installation by a licensed electrical professional. Wiring procedures and connections should be in accordance with the National Electric Code (NEC) and local codes.
- Within USA, electrical installation shall be made in accordance with the National Electrical Code.
- Within Canada, electrical installation shall be made according to the provisions of section 62 of the Canadian electrical code part 1.
- Wiring procedures and connections shall be in accordance with the national and local codes having jurisdiction.
CAUTION: Disconnect electric power supply before working on circuit wiring to prevent electric shock.
CAUTION: When installing outdoors we recommend the heater is positioned where it will be protected from exposure to extreme weather such as snow and ice.
CAUTION: This heater must be grounded.
CAUTION: Electrical connection must have ground fault protection (GFCI or GFI).
CAUTION: A circuit breaker is required for proper installation, do not load beyond 80% capacity.
CAUTION: High temperature, risk of fire, keep electrical cords, drapery, furnishings, and other combustibles at least 0.9 m (3 ft) from the front of the heater and away from the side and rear.
- The heater is designed for outdoor and indoor use and should not be used for any other purpose. Any other use not recommended by the manufacturer may cause fire, electric shock, or injury to persons.
- Before commencing installation make sure the electrical supply voltage is the same as that shown on the rating plate of the heater.
- The heater must be mounted at least 2.4 m (8 ft) above ground level. For other clearance please refer to the diagram included in these instructions.
- To reduce the risk of fire, do not store or use gasoline or other flammable vapors and liquids in the vicinity of the heater
- The heater is not intended for use in bathrooms, laundry areas or similar indoor areas. Never locate heater where it may fall into a bathtub, pool, spa, or other water container.
- Do not install the heater directly near a bathtub, shower or swimming pool. Any switches or controls must not be within reach of a person in the bathtub, shower or swimming pool.
- Ensure that the heater had been securely fastened in its final mounting position.
- The heater can be only installed horizontally.
- DO NOT install the heater vertically. Failure to do this may cause the heating element within the tube to sag and cause premature burnout.
- There are no user-serviceable parts inside the heater. Any servicing other than regular cleaning of the heater should be performed by an authorized service professional.
WARNING: The heater must not be used if the glass panels are damaged.
NOTE: This heater comes with a pair of stainless steel adjustable angle mounting brackets. The adjustable angle enables the heater to be installed on horizontal and inclined surfaces.
SITE SELECTION
Ceiling mounted (DIR15A10GR, DIR18A10GR).
WARNING: DIR22A10GR and DIR30A10GR CANNOT be ceiling-mounted.

WARNING: The heater must never be installed in the upwards or inwards facing position, the heating surface must always be positioned to direct the heat in a downwards or outwards direction.
WARNING: DO NOT install the heater vertically. Failure to follow these instructions can cause the heating element within the tube to sag and cause premature burnout.
Clearances
To ensure that all minimum clearances are achieved please refer to the diagrams on page 10.
Minimum clearances when mounting the heater parallel with a ceiling.

Minimum clearances when mounting the heater at an angle to the ceiling.

Minimum clearances when mounting the heater on A VERTICAL WALL

- Wall-mounted
- installation
- (DIR15A10GR,
- DIR18A10GR,
- DIR22A10GR,
- DIR30A10GR)

Installation
WARNING: Mounting of the infrared heater and its connection to the electric mains should be carried out only by qualified professionals according to the Electrical Installation Regulations and Power System Safety Standards and comply with all national and local electrical codes.
- Open the package and carefully remove the heater.
- Remove the packing paper sheet from the end of heater.
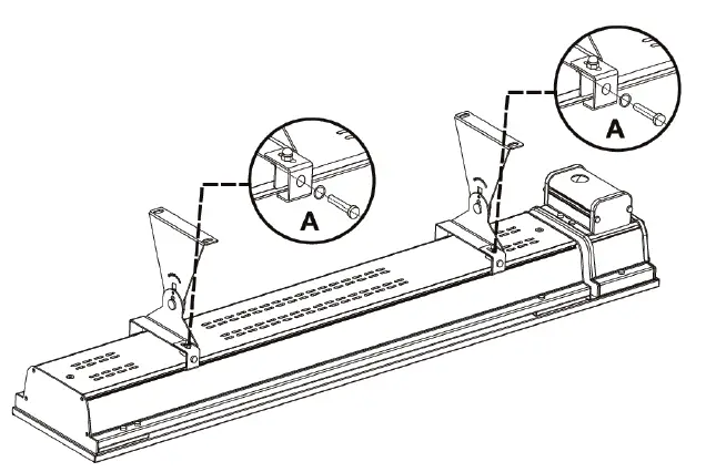
- Take out one pair of mounting brackets. These adjustable brackets allow direct ceiling or wall mount, and come with preset angle options of parallel, 30°, 45° and height 165 mm (6.5 in).

- Use the above diagrams as a guideline for proper installation. Select the heater location on the ceiling or wall by locating the stud or structural beams to ensure secure fastening of the heater. Ensure that all minimum clearances are achieved.

- Install two brackets on the ceiling or wall with the following minimum recommended bracket distance “B”. Ensure brackets are level and not slanted diagonally.

- Set the adjustable angle mounting brackets to the desired angle and fasten brackets with an adjustable wrench. For ceiling-mounted installation, the available mounting angles are restricted to 0° and 30° only. For wall-mounted installation, the available mounting angles are restricted t o 30° and 45° only. For the DIR 2200W / 3000W, ceiling mounted installation is prohibited.

- Hang the heater on the brackets and firmly tighten bolts on the bracket to compress the two plates together as shown in Figure A.
NOTE: Depending on material and design of wall or ceiling structural elements, the heater must be secured with the correct fasteners. The weight of the heaters DIR15A10GR, DIR18A10GR, DIR22A10GR is up to 5.3 KG (11.7 lbs.). The weight of the heater DIR30A10GR is 6.8 KG (15.0 lbs.). The installationstructure and hardwaremust be able to hold 5 times the weight of the heater.
Electrical Installation
WARNING: This Heater MUST be permanently installed and hard wired by an authorized / licensed electrical professional. Do not perform maintenance or carry out installation or assembly procedure while electrical power is switched on.
CAUTION: A circuit breaker is required for proper installation. Do not load beyond 80% capacity. The type of circuit breaker must be C curve type.
- DIR15A10GR (1500W) is designed for connection to the 120V~ 60Hz electric mains equipped with a grounding wire.
- DIR18A10GR (1800W), DIR22A10GR (2200W) and DIR30A10GR (3000W) heaters are designed for connection to the 240V~ 60Hz electric mains equipped with a grounding wire.
- The heater must not be located immediately below an electrical connection. Power point should not be located at the back of the heater. The power point needs to be located outside the physical footprint of the heater to minimize heat build-up behind the heater.
- If the heater is to be mounted on an incline (e.g. Vaulted ceiling), ensure the electrical connection point is below the heater.
Wiring Instructions
DIR15A10GR is to be wired to a 120V circuit while DIR18A10GR, DIR22A10GR and DIR30A10GR are to be wired to a 240V circuit. These heaters must be wired to the this circuit in such a way that the heater can be turned off directly at the circuit breaker in the event of an emergency. Sample wiring diagrams have been included below for quick reference.

- Check product label for correct voltage and wattage. Make sure power source conforms to the heaters requirements.
- The junction box on the top of the heater has a gasket side access cover. The junction box inlet is drilled and threaded for a standard 19 mm (1/2″) weather tight conduit fittings. The installing electrician will need to provide the appropriate rigid metallic, flexible or liquid tight conduit, conduit fittings for installation location.
- For outdoor installation all connections must be made in accordance with local electrical code regulations for outdoor wiring. Only use wiring components approved for outdoor use with minimum NEMA Type 4x or equivalent.
- Remove the screws holding the junction box cover. Make the electrical connections using wire nuts (not supplied). For 120 V units: The green wire connects to the ground wire from the power source. The black wire connects to the live wire from the power source. The white wire connects to the neutral wire from the power source. For 240 V units: The green wire connects to the ground wire from the power source. The black wire connects to L1 (live) from the power source. The white wire connects to L2 (live) from the power source.
- Assemble the junction box cover & gasket. Ensure that the junction box cover gasket (supplied with unit) is installed to maintain rain water ingress protection rating of the heater. Failure to install correctly will void the manufacturer’s warranty.

Operating Instructions
WARNING: The heater must be properly installed before it is used. Slight crackles may be heard during the heating or cooling period. This is a normal part of the operation of the heater.
RISK OF FIRE/EXPLOSION
- This heater should not be used in potentially explosive atmospheres or environments. Do not use in areas where gasoline, paint or flammable liquids are used or stored.
- Keep electrical cords, drapery, furnishings, insulation and other combustibles at least 0.9 m (3 ft) from the front of the heater and away from the top, rear, and sides of the unit.
- To prevent possible fires, do not block or allow foreign objects to enter air intakes.
ELECTRICAL SHOCK HAZARD
- Do not operate heating unit after a malfunction. Disconnect power at the service panel and have the heater inspected by a qualified electrician before reusing.
- Use this heater only as described in this manual. Any other use is not recommended by the manufacturer and may result in fire, electric shock, or injury.
- Do not insert or allow foreign objects to enter any ventilation or exhaust opening as this may cause an electric shock or fire, or damage the heater.
RISK OF INJURY/BURN
- The heating unit and discharge area will be hot when in use. To avoid burns, do not let bare skin touch the heating unit or glass surface on heating unit.
- Do not attempt to service or clean heater while unit is operating, as there is a hazard from electric shock and burn potential from hot surfaces. To avoid the risk of burn or injury wait a minimum of 6 hours for the heater to cool before attempting to clean or service.
NOTE: After switching on the heater for the first time following extended periods on non-use, the appliance may produce a slight odor for a short time. This is normal and will not affect the use of the heater.
NOTE: To prevent unpleasant burnt odor, it is recommended to keep the heater clean preventing accumulation of dust build up
NOTE: It is recommended that the distance between the heater and the remote be less than 3 m (9.8 ft.), and the remote control must be pointed directly to the receiver on the front panel during the operation.

- Switch on the circuit breaker, the heater will begin in Standby mode. At this time the lowest heat temperature setting LED will be flashing to indicate the unit is in Standby.

- Point the remote control directly to the receiver, press ‘LOW’, ‘MED’, ‘HIGH’ to set your desired temperature setting.

- To set the heater to standby mode point the remote control directly at the receiver and press ‘Standby’. At this time the lowest heat temperature setting LED will be flashing to indicate the unit is in Standby mode.
CAUTION: There is a built in safety feature that will automatically trigger the heater to go into standby mode after eight hours of continuous operation. At this time the lowest heat temperature setting LED will be flashing to indicate the safety feature has executed.
TIMER FUNCTION
Your Dimplex infrared heater comes with a programmable timer that will automatically place the heater in Standby mode after 1, 2 or 3 hours of operation. To operate the timer point the remote control directly to the receiver and press ’1 hr’, a single green LED light will illuminate directly beside the heating LED’s, this will trigger the heater to automatically go into Standby mode after 1 hour of operation. Once in Standby mode a single red LED will be flashing.

- To set the timer for 2 hours of operation point the remote control directly to the receiver and press ‘2 hr’, a single green LED light will illuminate with a gap between the heat and timer LED’s on the unit, this will trigger the heater to automatically go into Standby mode after 2 hours of operation.

- To set the timer for 3 hours of operation point the remote control directly to the receiver and press ‘1 hr’ and ‘2 hr’, both green LED lights will illuminate, this will trigger the heater to automatically go into Standby mode after 3 hours of operation.

Maintenance Instructions
ELECTRIC SHOCK HAZARD
- Potentially lethal voltages are present. Be sure to turn off the unit at the circuit breaker before attempting any maintenance
RISK OF INJURY/BURN
- Do not attempt to service or clean heater while unit is operating, as there is a hazard from electric shock, and injury potential from hot heating elements.
- Maintenance and repair must be performed by qualified personnel only.
WARNING: When replacing the ruby bulb or when cleaning the unit ensure that if hard wired the circuit is disconnected from the main power supply.
NOTE: ALWAYS ENSURE THAT THE BULB HAS COOLED BEFORE HANDLING.
- Do not handle the halogen bulb with bare hands. If it is inadvertently touched, remove finger marks with a soft cloth and methylated spirit or rubbing alcohol. Otherwise, the marks will burn into the quartz emitter during use causing premature heater failure.

- It is necessary to periodically (once a year) check the electric cable contacts and terminal connectors for good tightening.
- Before cleaning the unit, the power shall be turned off at the circuit breaker panel, and the heating unit must be cool to the touch to prevent bodily injury.
- If the body becomes dirty, wipe off dust with a towel. The radiating boards should be wiped in cold condition with a damp soft rag. It is recommended to clean the unit every 3 months for peak performance.
WARNING: All maintenance should only be carried out by a qualified electrician or installation professional.
WARNING: Never immerse the heater in water! Doing so could cause damage, bodily injury or death.
Troubleshooting
Troubleshooting prior to calling a service technician:

When to contact the authorized service technician or your dealer:

Warranty
One Year Limited Warranty
Products to which this limited warranty applies
This limited warranty applies to your newly purchased Dimplex Infrared Indoor/Outdoor Heater. This limited warranty applies only to purchases made in any province of Canada except for Yukon Territory, Nunavut, or Northwest Territories or in any of the 50 States of the USA (and the District of Columbia) except for Hawaii and Alaska. This limited warranty applies to the original purchaser of the product only and is not transferable.
Products excluded from this limited warranty
IR Ruby Heating Elements are not covered by this limited warranty and are the sole responsibility of the owner/purchaser. Products purchased in Yukon Territory, Nunavut, Northwest Territories, Hawaii, or Alaska are not covered by this limited warranty. Products purchased in these States, provinces, or territories are sold AS IS without warranty or condition of any kind (including, without limitation, any implied warranties or conditions of merchantability or fitness for a particular purpose) and the entire risk of as to the quality and performance of the products is with the purchaser, and in the event of a defect the purchaser assumes the entire cost of all necessary servicing or repair.
What this limited warranty covers and for how long
Products covered by this limited warranty have been tested and inspected prior to shipment and, subject to the provisions of this warranty, Glen Dimplex Americas Ltd.(Glen Dimplex Americas herein) warrants such products to be free from defects in material and workmanship for a period of 12 months from the date of the first purchase of such product. The limited 12 month warranty period also applies to any implied warranties that may exist under applicable law. Some jurisdictions do not allow limitations on how long an implied warranty lasts, so the above limitation may not apply to the purchaser.
What this limited warranty does not cover
This limited warranty does not apply to products that have been repaired (except by Glen Dimplex Americas or its authorized service representatives) or otherwise altered. This limited warranty does further not apply to defects resulting from misuse, abuse, accident, neglect, incorrect installation, improper maintenance or handling, or operation with an incorrect power source.
What you must do to get service under this limited warranty
Defects must be brought to the attention of Technical Service by contacting 1-888-346-7539. Please have proof of purchase, catalogue/model and serial numbers available when calling. Limited warranty service requires a proof of purchase of the product.
What Glen Dimplex Americas will do in the event of a defect
In the event a product or part covered by this limited warranty is proven to be defective in material or workmanship during the 12 month limited warranty period you have the following rights:
- Glen Dimplex Americas will in its sole discretion either repair or replace such defective product or part without charge. If Glen Dimplex Americas is unable to repair or replace such product or part, or if repair or replacement is not commercially practicable or cannot be timely made, Glen Dimplex Americas may, in lieu of repair or replacement, choose to refund the purchase price for such product or part.
- Limited warranty service will be performed solely by dealers or service agents of Glen Dimplex Americas authorized to provide limited warranty services.
- The purchaser is responsible for removal and transportation of such product or part (and any repaired or replacement product or part) to and from the authorized dealer’s or service agent’s place of business.
- This limited warranty does not entitle the purchaser to on-site or in-home services. On-site or in-home services may be performed at the purchaser’s specific request and expense at Glen Dimplex Americas then-current rates for such services.
- Glen Dimplex Americas will not be responsible for, and the limited warranty services shall not include, any expense incurred for installation or removal of the product or part (or any replacement product or part) or any labour or transportation costs. Such costs shall be the purchaser’s responsibility.
How State and Provincial law apply
This limited warranty gives you specific legal rights, and you may also have other rights which vary from jurisdiction to jurisdiction. The provisions of the United Nations Convention on Contracts for the Sale of Goods shall not apply to this limited warranty or the sale of products covered by this limited warranty.
What Glen Dimplex Americas and its dealers and service agents are also not responsible for
IN NO EVENT WILL GLEN DIMPLEX AMERICAS, OR ITS DIRECTORS, OFFICERS, OR AGENTS, BE LIABLE TO THE PURCHASER OR ANY THIRD PARTY, WHETHER IN CONTRACT, IN TORT, OR ON ANY OTHER BASIS, FOR ANY INDIRECT, SPECIAL, PUNITIVE, EXEMPLARY, CONSEQUENTIAL, OR INCIDENTAL LOSS, COST, OR DAMAGE ARISING OUT OF OR IN CONNECTION WITH THE SALE, MAINTENANCE, USE, OR INABILITY TO USE THE PRODUCT, EVEN IF GLEN DIMPLEX AMERICAS OR ITS DIRECTORS, OFFICERS, OR AGENTS HAVE BEEN ADVISED OF THE POSSIBILITY OF SUCH LOSSES, COSTS OR DAMAGES, OR IF SUCH LOSSES, COSTS, OR DAMAGES ARE FORESEEABLE. IN NO EVENT WILL GLEN DIMPLEX AMERICAS, OR ITS OFFICERS, DIRECTORS, OR AGENTS BE LIABLE FOR ANY DIRECT LOSSES, COSTS, OR DAMAGES THAT EXCEED THE PURCHASE PRICE OF THE PRODUCT. SOME JURISDICTIONS DO NOT ALLOW THE EXCLUSION OR LIMITATION OF INCIDENTAL OR CONSEQUENTIAL DAMAGES, SO THE ABOVE LIMITATION OR EXCLUSION MAY NOT APPLY TO THE PURCHASER.
Technical Support
Technical and troubleshooting support, as well as a list of replacement parts can be found on www.dimplex.com/customer_support
1-888-346-7539 | www.dimplex.com In keeping with our policy of continuous product improvement, we reserve the right to make changes without notice. © 2019 Glen Dimplex Americas



























