30” Black Stainless Steel Electric Built In Oven
Installation Guide
Part 1 SAFETY
BEFORE BEGINNING
Remove all tape and packing materials before using the oven. Dispose of all plastic bags after unpacking the oven.
Never allow children to play with packing materials.
You can download an installation manual at http://www.lg.com.
IMPORTANT SAFETY INSTRUCTIONS
Read and follow all instructions before using the oven to prevent the risk of fire, electric shock, injury to persons, or damage when using the oven. This guide does not cover all possible conditions that may occur. For further assistance contact the service agent or manufacturer.
This is the safety alert symbol. This symbol alerts you to potential hazards that can kill or hurt you and others. All safety messages will follow the safety alert symbol and either the word “WARNING” or “CAUTION”. These words mean :
WARNING: This symbol will alert you to hazards or unsafe practices which could cause serious bodily harm or death.
CAUTION: This symbol will alert you to hazards or unsafe practices which could cause bodily injury or property damage.
WARNING
- The information in this manual should be followed exactly.
– Failure to do so could result in fire or electrical shock, causing property damage, personal injury or death. - DO NOT put any weight on the oven door. Never allow anyone to climb, sit, stand or hang on the oven door.
– The oven could be tipped and injury might result from contact with hot food or the oven itself. - The electrical power must be shut off while the electrical connections are being made.- Failure to do so can result in severe personal injury, death or electrical shock.
- New branch-circuit installations (1996 NEC), mobile homes, recreational vehicles, or installations where local codes prohibit grounding through the neutral conductor require 4-wire branch-circuit connection.
- Improper connection of aluminium house wiring to copper leads can result in an electrical hazard or fire. Use only connectors designed for joining copper to aluminium and follow the manufacturer’s recommended procedure closely.
- Mounting screws must be used.
– Failure to do so can result in the oven falling out of the cabinet, causing serious injury.
CAUTION
- Make sure the cabinets and wall coverings around the oven can withstand the temperature (up to 194˚F[90˚C]) generated by the oven.
– Discoloration, decontamination or melting may occur. - DO NOT remove spacers on the side walls of the built-in oven.
– These spacers center the oven in the space provided. The oven must be centered to prevent excess heat buildup that may result in heat damage or fire. - DO NOT block the oven air exhaust located at the bottom of the oven.
– Blocking the exhaust may cause cabinet damage and product malfunction.
IMPORTANT NOTE
This installation must be completed by a qualified installer or technician.
Proper installation is the responsibility of the installer and product failure due to improper installation is NOT covered under warranty.
- Installer: please retain these instructions for local inspector’s reference, then leave them with the consumer.
- Consumer: please read and keep these instructions for future reference and be sure to read the entire OWNER’S MANUAL prior to use.
- Do not use parts other than the provided components when you install the product.
REQUIRED TOOLS

MATERIALS INCLUDED
![]() | 4 X 14 6 Wood Screws(Black) For Lower Mounting (4 needed for installation and 2 extras) |
![]() | 4 X 14 6 Wood Screws(Silver) For Upper Mounting (4 needed for installation and 2 extras) |
![]() | 4 X 10 2 Screws for bottom decorative trim |
![]() | Bottom decorative trim |
MATERIALS NEEDED

Part 2 INSTALLATION REQUIREMENTS
Measure the current cutout dimensions and compare them to the cutout dimensions shown below. Little or no cabinet work may be necessary.
IMPORTANT NOTE
- The cabinet base platform must be able to support 202 lbs (91.65 kg) for a Microwave Combination Wall Oven. If the cabinet does not have a solid bottom, two braces or runners must be installed level with the bottom of the cutout to support the weight of the oven. Make sure the base is level and the front of the cabinet is square. If the cabinet base is not level, the oven racks will tend to slide out when opening the door.
- If marks, blemishes or the cutout opening are visible above the installed oven, it may be necessary to add wood shims under the runners and front trim until the marks or opening are covered.
- If the cabinet does not have a front frame and the sides are less than 3/4” (1.9 cm) thick, shim both sides equally to establish the cutout width.
- The junction box must be flush with the rear wall of the cabinet as shown below.
- Allow at least a 23” clearance for the door depth when it is open.
- Kitchen cabinets in contact with the oven must be heat resistant up to 194°F (90°C), and fronts of nearby units up to at least 158°F (70°C).
1. INSTALLATION DRAWINGS (FOR 30” MICROWAVE COMBINATION WALL OVEN)
1. Conduit opening
2. Circuit breaker
| – | Dimensions | Combination Wall Oven |
| A | Height | 43 13/16″ (1112 mm) |
| B | Width | 29 3/4″ (755.6 mm) |
| C | Depth | 23 3/8″ (593.8 mm) |
| D | Height (standard installation) | 43 3/16″ (1097 mm) |
| E | Height (power cord) | 25 4/5″ (655.5 mm) |
| F | Length (power cord) | 60″ (1524 mm) |
| G | Width (back) | 27 3/8″ (695.3 mm) |
| H | Width (standard installation) | 28 3/7″ (722 mm) |
| I | Cabinet width | 30″ (762 mm) |
| J | Overlap of oven | 1″ (25.4 mm) |
| K | Cutout width | 28 1/2″ Min. (723.9 mm) 28 5/8″ Max. (727 mm) |
| L | Depth of open door | 23″ (584.2 mm) |
| M | Cutout height | 43 7/16″ Min. (1103 mm) 43 1/2″ Max. (1105 mm) |
| N | Cutout depth | 23 1/2″ (596.9 mm) |
| O | Cutout location from floor | 12″ (304.8 mm) |
| P | Height of conduit opening from floor of cutout | 39 27/32″ (1012 mm) |
| Q | Distance of conduit opening from side of cabinet | 5″ (127 mm) |
2. PREPARATION FOR MOVING THE OVEN
Remove any packing material from the oven before installing the oven.
- Remove all tape from around the oven.
- Open the oven door and remove packaging materials and oven racks inside the oven.
- Door removal is not a requirement for installation of the oven, but is an added convenience.
To remove the door, follow the steps below.
Step. 1
Fully open the door.
Step. 2
Pull the hinge locks up towards the door’s frame, to the unlocked position.
Step. 3
Firmly grasp both sides of the door at the top.
Step. 4
Close door to the door removal position, which is approximately 5 degrees.
Step. 5
Lift door up and out until the hinge arm is clear of the slot. - Place the oven on a table or platform even with the cutout opening. (The table or platform must support 202 lbs [91.65 kg] for a Microwave Combination Wall Oven.)
IMPORTANT NOTE
- Do not lift the door by the handle. The oven door is very heavy. Firmly grasp the door by the sides before lifting it off the hinges.
- Do not lay the oven door on its handle. Doing so may cause dents or scratches.
- Use two or more people to lift or move the oven into the cabinet opening. Use caution when lifting the oven and wear gloves to protect hands from any sharp edges. Failure to follow these instructions may result in injury.
* Depending on the model, Product appearance maybe different as image.
ex) Handle, Name plate, Etc.
Part 3 ELECTRICAL CONNECTIONS
1. ELECTRICAL CONNECTION REQUIREMENTS
Follow the electrical connection requirements below.
Ensure that dedicated circuit protection is prepared as recommended and that the oven is grounded properly.
IMPORTANT NOTE
Be sure the wall oven is installed and grounded properly by a qualified installer or service technician.
- This wall oven must be electrically grounded in accordance with local codes or, in their absence, with the National Electrical Code ANSI/NFPA No.70- latest edition in United States, or with CSA Standard C22.1-1982 and C22.2 No.01982 (or latest edition), Canadian Electrical Code, Part 1, and all local codes and ordinances.
- This wall oven must be supplied with the proper voltage and frequency, and connected to an individual, properly grounded branch circuit, protected by a circuit breaker or fuse. For the circuit breaker or fuse required by this model, see the rating plate to find the wattage consumption and refer to the table below to get the circuit breaker or fuse amperage.
- A Microwave Combination Wall Oven can consume up to 7,800 W at 240 VAC. A 50 Amp circuit breaker with wire gauge #8 AWG must be used.
- Do Not ground to a gas pipe.
- Do Not have a fuse in the neutral or grounding circuit.
- A U.L.-listed conduit connector must be provided at the junction box.
2. ELECTRICAL CONNECTION
Prepare the electrical connection as follows:
- Turn off the circuit breaker or remove fuses to the oven branch circuit.
- With the oven positioned directly in front of the cabinet opening, connect the flexible conduit to the electrical junction box as shown below. Position the conduit in such a manner that it will lie on top of the oven in a natural loop when the oven is installed.
*Depending on the model, Product appearance maybe different as image
ex) Handle, Name plate, Etc. - If local codes permit connection of the frame grounding conductor to the neutral(white) wire, follow the instructions for a 3-wire circuit connection.
- If used in mobile homes or new construction, or a recreational vehicle, or local codes do not permit connection of the frame grounding conductor to the neutral(white) wire, follow the instructions for a 4-wire circuit connection.
IMPORTANT NOTE
- The wall ovens must be hard wired (direct wired) into an approved junction box. A plug and receptacle is not permitted on these products.
- DO NOT shorten the flexible conduit. The conduit connector must be securely attached to the junction box and the flexible conduit must be securely attached to the conduit connector. If the flexible conduit will not fit within the connector, do not install the oven until a connector of the proper size is obtained.
- You will need to purchase an appropriate conduit connector to complete the connection of the conduit to the junction box.
NOTE TO ELECTRICIAN
The power leads supplied with the appliance are UL, CSA recognized for connection to larger gauge household wiring. The insulation of these leads is rated at temperatures much higher than the temperature rating of household wiring. The current carrying capacity of the conductor is governed by the wire gauge and the temperature rating of the insulation around the wire.
3-Wire Circuit Connection
To connect to a three-wire circuit, follow these steps:
- Connect the oven ground (green) wire and neutral (white) wire to the branch circuit neutral (white or gray) wire, using a wire nut.
- Connect the oven red wire to the branch circuit red (L2) wire in accordance with local codes, using a wire nut.
- Connect the oven black wire to the branch circuit black (L1) wire in accordance with local codes, using a wire nut. If the residence red, black or white wires are aluminium conductors, see WARNING.
- Install the junction box cover.

4-Wire Circuit Connection
To connect to a four-wire circuit, follow these steps:
- Separate the oven ground and white wires if necessary.
- Connect the oven ground (green) wire to the branch circuit ground (green) wire in accordance with local codes, using a wire nut. If the residence red, black or white wires are aluminium conductors, see WARNING.
- Connect the oven white wire to the branch circuit neutral (white or gray) wire in accordance with local codes, using a wire nut.
- Connect the oven red wire to the branch circuit red (L2) wire in accordance with local codes, using a wire nut.
- Connect the oven black wire to the branch circuit black (L1) wire in accordance with local codes, using a wire nut. If the residence red, black or white wires are aluminum conductors, see WARNING.
- Install the junction box cover.

Part 4 INSTALL THE OVEN
1. CABINET INSTALLATION
Install the oven into the cabinet as follows:
- Slide the oven into the opening.
a. Loop (do not tie) a 36” (91 cm) string around the conduit before the oven is slid into place. Lay the string over the top of the oven and use it to keep the conduit from falling behind the oven.
b. Lift oven into cabinet cutout using the oven opening as a grip. Carefully push against the oven front frame.
Do not push against outside edges.
c. While sliding the oven back, pull the string so that the conduit lies on the top of the oven in a natural loop.
d. When you are sure the conduit is out of the way, slide the oven 3/4 way back into the opening. Remove the string by pulling on one end of the loop. - Secure the oven.
a. Using the mounting holes on the oven side trim as a guide, drill pilot holes for screws provided. (For securing the Combi Oven, use a minimum of 4 screws, one on each side in both the upper and lower ovens.)
b. Secure the oven to the cabinet with screws provided. If the cabinet is particle board, you must use 3/4” particle board screws. These may be purchased at any hardware store. - Reinstall the oven door.

Step. 1
Firmly grasp both sides of the door at the top.
Step. 2
With the door at the same angle as the removal position, seat the indentation of the hinge arm into the bottom edge of the hinge slot. The notch in the hinge arm must be fully seated into the bottom of the slot.
Step. 3
Fully open the door. If the door will not fully open, the indentation is not seated correctly in the bottom edge of the slot.
Step. 4
Push the hinge locks up against the front frame of the oven cavity to the locked position.
Step. 5
Close the oven door.
NOTE
- When you install the oven door, be careful not to bump the bottom vent trim.
- Keep oven vents unobstructed. Replace the bottom vent trim if it becomes bent or deformed. Never block the vent with plastic or heat-sensitive items.
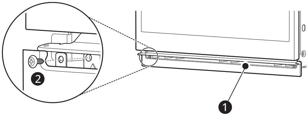
2. ASSEMBLING THE BOTTOM DECORATIVE TRIM

- Bottom decorative trim
• After installing the oven in the cabinet, assemble bottom decorative trim with 2 screws 2 (4 X 10).
Part 5 OPERATION CHECKLIST
1. CHECKING OPERATION
Each of the functions has been factory checked before shipping. However, it is suggested that you verify the operation of the oven once more. Refer to the Owner’s Manual. Follow the instructions for the basic check.
– Turn on power supply. The initial signal sound is heard and the Clock segment appears in the display.
Common
- Check the operation of the broil mode. When the oven is set to broil, the upper element in the oven should become red. After a few minutes, partially open the oven door. You should feel heat from the oven. Press CLEAR/OFF.
- Check the operation of the convection bake mode. After setting the oven to 350 °F / 177 °C for convection baking, the fan inside the oven should come on with the door closed. Press CLEAR/OFF.
- Turn on and off the oven light to check the lights are in normal condition.
Upper Oven
- Check the Microwave function. Place a glass bowl filled with water in upper oven. Turn the microwave on for 1 minute. The water should be hot. Press CLEAR/OFF.
Lower Oven
- Check the operation of the bake mode. Set the oven to bake at 350 °F /177 °C. After a few minutes, the temperature in the display should increase. Press CLEAR/OFF.
- Check the operation of the burner for each convection mode. After setting the oven to 350 °F /177 °C for each convection mode, the back element should light up and the fan inside the oven should come on with door closed.
IMPORTANT NOTE
- A small amount of smoke and odor may be noticeable during the initial break-in period.
- If the oven does not operate properly or an F-, followed by a number, appears in the display, see the Owner’s Manual for the troubleshooting list. The list includes common occurrences that are not the result of defective workmanship or materials in this product. If the problem occurs continuously, contact the dealer.
- Refer to the warranty in the Owner’s Manual for the LG toll-free service number and address.





Step. 2
Step. 5
* Depending on the model, Product appearance maybe different as image.
*Depending on the model, Product appearance maybe different as image





















