ESR3000D Amplifier with Control & Diagnostics Tool
User Guide
The Future of Sound.
Made Perfectly Clear.
At KV2 Audio our vision is to constantly develop technologies that eliminate distortion and loss of information providing a true dynamic representation of the source.
Our aim is to create audio products that absorb you, place you within the performance, and deliver a listening experience beyond expectations.
- Read all product instructions.
- Keep printed instructions, do not throw them away.
- Respect and review all warnings.
- Follow all instructions.
- Do not use this unit near water, in unprotected outdoor areas, or in rain or wet conditions.
- Clean only with a dry cloth.
- Do not block any ventilation openings.
- Install in accordance with KV2 Audio’s recommended installation instructions.
- Do not install near any heat sources such as heat radiators, heat registers, stoves, or other apparatus that produce heat.
- Do not defeat the safety purpose of the grounding-type plug. A grounding-type plug has two blades and a third grounding connector. The third connector is provided for your safety. If the provided plug does not fit into your outlet, consult an electrician for the replacement of the obsolete outlet.
- Protect the power cord from being walked on or pinched, particularly at plugs, and convenience receptacles.
The AC mains plug or appliance coupler shall remain readily accessible for operation. - Only use accessories specified by KV2 Audio.
- Unplug this Amplifier during lightning storms or when unused for long periods of time.
- Refer all servicing to qualified service personnel. Servicing is required when the Amplifier has been damaged in any way, such as when the power-supply cord or plug has been damaged; liquid has been spilled or objects have fallen into the Vents; rain or moisture has entered the Amplifier; the Amplifier has been dropped; or when for undetermined reasons the Amplifier does not operate normally.
- Do not remove front or back panels. Removal of the panel will expose hazardous voltages.
There are no user-serviceable parts inside and removable may void the warranty. - An experienced user shall always supervise this professional audio equipment.
CAUTION: TO REDUCE THE RISK OF ELECTRIC SHOCK, DO NOT REMOVE THE PANELS.
NO USER-SERVICEABLE PARTS INSIDE. REFER SERVICING TO QUALIFIED PERSONNEL.
WARNING: To prevent fire or electric shock, do not expose this equipment to rain or moisture.
SAFETY SUMMARY
To reduce the risk of electric shock, disconnect the Amplifier from the AC mains before installing the audio cable.
Reconnect the power cord only after making all signal connections. Connect the Amplifier to a two-pole, three-wire grounding mains receptacle. The receptacle must be connected to a fuse or circuit breaker. Connection to any other type of receptacle poses a shock hazard and may violate local electrical codes. Do not allow water or any foreign object to get inside the Amplifier. Do not put objects containing liquid on or near the unit. To reduce the risk of overheating the Amplifier, avoid exposing it to direct sunlight. Do not install the unit near heat-emitting appliances, such as a room heater or stove.
This Amplifier contains potentially hazardous voltages. Do not attempt to disassemble the unit. The unit contains no user-serviceable parts, repairs should be performed only by factory-trained service personnel.
Introduction
ESR3000D – part number KVV 987 433 (250V)
KVV 987 432 (230V)
KVV 987 431 (115V)

Application
Specifically designed as the amplification and control elements for the ESR215 loudspeaker system in a 4RU mount module
- Fixed Installations
- Music venues
- Classical and opera concerts
Introduction
The ESR3000D is a three-way, active control, and amplification system specially designed for the KV2 Audio ESR215 full range series loudspeaker systems. It houses all signal processing and amplification, as well as provides control and crossover function for an external subwoofer cabinet, (utilizing an external amplifier). The ESR3000D powers the ESR215MkII. Each unit incorporates six amplifiers consisting of two 100-watt, Class AB, push-pull, low intermodulation amplifiers for high frequencies, two 200-watt, Class AB, push-pull, low intermodulation designs for mids, and two a 1000-watt, high-efficiency, current- enhancing switch-mode technology amplifiers for bass. The ESR3000D stereo configuration powers two ESR cabinets accordingly.
Features
The amplifier complement inside the ESR3000D Amplifier is as follows:
- High Frequency – 2x 100-watt, Class AB, push-pull, low intermodulation design
- Mid Frequency – 2x 200-watt, Class AB, push-pull, low intermodulation design
- Low Frequency – 2x 1000-watt, high-efficiency, current-enhancing switch mode
Front Panel:

Rear Panel:

Side Panel:

Getting Started
Unpacking
Unpack the ESR3000D Amplifier and check for any damage. If you find any damage, notify your supplier immediately. Only the consignee may institute a claim with the carrier for damage incurred during shipping. Be sure to save the carton and all packing materials for the carrier’s inspection. Should you ever need to ship the unit, only use the original factory packaging? If the shipping carton is unavailable, contact your supplier to obtain a replacement.
The ESR3000D Amplifier carton should contain:
- ESR3000D Amplifier control unit
- This user guide
- Two PowerCon detachable power cables
Amplifier rack mounting
The ESR3000D Amplifier is 4 rack units in height and will mount in standard 19″ rack systems. Integral rear mounting rack ears are also provided for additional support, do not rely on fixing and mounting the amplifier using just the front panel as support. Use eight screws and washers to mount the amplifier to the equipment rack rails. We recommend using a shock-mounted rack for touring use to prolong the life of your amplifier.
Cooling
The ESR3000D Amplifier has a comprehensive cooling system featuring chassis sealed PCB board mounting and shock-mounted, speed-controlled fans. This means that the cooling system never drives air across PCB boards, connectors, or components, ensuring prolonged electronic component lifespan and minimizing maintenance cycles.
Air is drawn into the front of the amplifier by the two fans on the rear panel, this passes over the cooling fins of the heat sinks and exhausts through the rear. If the heat sink gets too hot, its sensing circuit will open the output relay, disconnecting the load.
It is important to have an adequate air supply at the front of the amplifier, and enough space around the rear of the amplifier to allow the cooling air to escape. If the unit is rack-mounted, do not use doors or covers on the rear of the rack, the exhaust air must flow without restriction. If you are using racks with closed backs, use fans on the rear rack panel to ensure an ample air supply.
IMPORTANT! Please note that for the correct full performance of the unit AND ANY WARRANTY COVER, it is important that regular maintenance of the front vents and filters, as well as the rear panel fans, be inspected and cleaned by removing any dust and debris build-up. Any product failure due to lack of attention in this matter will immediately void any current warranty. (Please refer to notes re ventilation procedures).
AC Requirements
Two PowerCon cables are provided to connect the ESR3000D Amplifier to a suitable AC power supply. Each cable powers each separate amplifier channel for sufficient current delivery.
THE ESR3000D REQUIRES A GROUND CONNECTION. ALWAYS USE A GROUNDED OUTLET AND PLUG.
The PowerCon is a connector without breaking capacity, i.e. the PowerCon should not be connected or disconnected under load or while it is life. Always isolate your AC supply before disconnecting the PowerCon connector.
The ESR3000D amplifier operates in either 115V, 230V or 250V modes. Although pre-configured at the factory, the unit’s operating voltage mode can be changed in the field. The amplifier power plug must remain readily operable.
Your amplifier will be supplied preset to the voltage used in your area. The table below provides typical current draw figures for the ESR3000D Amplifier.
The receptacle must be connected to a fuse or circuit breaker. Connection to any other type of receptacle poses a shock hazard and may violate local electrical codes.
Do not allow water or any foreign object to get inside the amplifier. Do not put objects containing liquid on or near the unit.
To reduce the risk of overheating the amplifier, avoid exposing it to direct sunlight.
Do not install the unit near heat-emitting appliances, such as a room heater or stove. This amplifier contains potentially hazardous voltages. Do not attempt to disassemble the unit. The unit contains no user-serviceable parts, repairs should be performed only by factory-trained service personnel.
| AC Input | Current draw with amplifier running at Average Power (Each Channel) | Current draw with amplifier running at Peak Power (Each Channel) |
| 250V | 3.2A | 5A |
| 230V | 3.5A | 5.4A |
| 115V | 7A | 11A |
Current draw of ESR3000D Amplifier
Features & Front panel
Front Panel
- AC Mains Switch
The ESP3000D has combination AC mains switch/circuit breakers on the front panel. If either of the switches shut off during normal use, push it back to the ON position once. If it will not stay on you should take the unit to qualified service personnel to have it serviced.. - Power / Thermal
These are dual-color LEDs. When green they indicate that the Power Switch is ON and that channel of the amplifier is powered up. When red they indicate that that channel has overheated and shut down. The unit will Auto Reset after it cools down to a safe operating temperature. - Signal / Speaker Protection
Indicator These are dual-color LEDs. When green they indicate that signal is present at the Input to that particular channel of the amplifier. When yellow they indicate that the audio speaker protection limiter has been activated for that particular channel of the amplifier. - Display
Shows the set parameters and allows settings of various functions in the menu. - Rotation encoder with entering push-button
The encoder serves as the main way for increasing (clockwise), or decreasing (counterclockwise) values and menu positions.
The encoder also serves as the ENTER (PUSH) button, allowing the operator to enter/leave the submenu in the main menu.
Features & Rear panel
Rear Panel

- Main Input / ThroughOut
These are the input XLR connectors for channels A & B with associated ‘Through Output’ connectors for sending signals to other devices. - Sub out Balanced XLR output connector
Sub out Balanced XLR output connector, crossed over LPF, used to connect additional subwoofers. The output is still active even when FULL RANGE mode is activated. - PowerCon Power Connector
The ESR3000D Amplifier uses two connectors per two-channel. Each connector supplies one channel. They accept standard PowerCon terminated AC Mains cables. - Fans
The cooling fans operate continuously while the ESR3000D is on. An internal temperature sensor increases the speed of the fans during high-temperature conditions. Air enters through the front grille and exits through the rear. Be sure to allow adequate airflow to the front of the rack in which the ESR3000D is mounted.
- Reset
Serves as a factory reset button. Resets all setup, including network settings (default settings AutoIP/DHCP). Use a tool with a maximum diameter of 2mm. - Status
LEDs indicate amplifier and amplifier diagnostics status, these are:
AMP
Dual-color LED. When green, it indicates that the power amplifier is powered up and all monitored parameters are OK.
When red, indicates that the amplifier is off, or some problem with the amplifier has occurred, more information can be obtained via Ethernet.
POE
When green, it indicates that the diagnostics unit is powered via a Power over Ethernet device.
DHCP
When green, it indicates that the diagnostics Ethernet IP address is assigned from the DHCP server. - Ethernet connector
Serves as an external communication port supporting Ethernet standard, accepts RJ45, T-658B wiring. The ESR3000D provides web-server and SNMP (Simple network management protocol). When the Ethernet cable is connected and devices successfully establish a connection, the green LED is activated. When Ethernet communication is in progress, the orange LED flashes. - Speaker AP6 Connectors
Accepts a standard AP6 terminated loudspeaker cable for connecting up to a single ESR215MkII cabinet. We recommend using 2.5mm/core cables
Display menu description
The ESR3000D has four main display screens for indication and setup. The main screens are MAIN – for input levels and mutes.
SUB for subwoofer output levels and mutes. SETUP for SUB MONO mode, FULL RANGE mode, and factory reset. NET for network IP address and name indication.
MAIN
MUTE
Mute switch set channel A&B mute on / off.
VOL
Sets the amplifier input sensitivity in the range from -24 to +6 dBu with 0,5dB steps.
BAND MUTE
Mute switch set LOW, MID, HI band mute on / off.
SUB
MUTE
Mute switch set SUB OUT A&B output mute on / off.
VOL
Sets the SUB OUT level in the range from -24 to +6 dBu with 0,5dB step.

SETUP
SUM MONO
Switch, sets SUB OUT outputs summing SUB OUT outputs channel A and B together.
FULL RANGE
Switch, selects the amplifier crossover setup, when ON full range signal is reproduced by ESR215 cabinets, when OFF signal is by frequency band in conjunction with the subwoofer output setup. The internal crossover frequency is 70Hz.
FACTORY RESET
Resets the ESR3000D amplifier channels settings to factory default. Device identification, Security and Network setup may be reset using the rear panel reset button.
NET
NAME: Displays amplifier name.
IP: Displays assigned network address.
MASK: Displays assigned network subnet mask.
Amplifier name and IP address may be changed using web-server.
Web-server
ESR3000D Web-server
The ESR3000D web server is accessible using a standard web browser on a PC or mobile device. The appropriate ESR3000D network address must be set to access the web server. The web browser device’s IP address must be set from the same network range and must be connected to the same network.
IP addresses are assigned to networked devices when they are configured for a specific network. The way that they are assigned can be static or dynamic.
The ESR3000D network address may be set in several ways:
Auto IP
(Default) Automatic Private IP Addressing is a method of automatically assigning IP addresses to networked devices.
A networked device configured to use Auto IP first makes a request to a DHCP server for an address. If the device does not receive an IP address, which happens when there is no DHCP server on the network or when the DHCP server is not responding, the device assigns itself an address. Auto IP addresses always follow this pattern: 169.254.x.y, where x and y are any two numbers between 0 and 255. Unlike DHCP, Auto IP does not require a router or a separate server to assign an IP address. The selected IP address is displayed on display – section NET or can be obtained using the KV2 diag tool software.
DHCP
Dynamic Host Configuration Protocol. A DHCP server enables network devices to request IP addresses and networking parameters automatically from the DHCP server, reducing the need for a network administrator or a user to manually assign IP addresses to all network devices. The assigned IP address is displayed on display – section NET, or can be obtained using the KV2 diag tool software.
It is important to know that a dynamic IP address can change. If a network device with a dynamic IP address suddenly stops responding at its IP address, it is possible that it has obtained a new lease and its address has changed.
Static
A static IP address must be manually assigned to a network device. This address is typed by the person who sets up devices on the network, and it never changes. A static IP address changes when the person who administers the network specifically changes it.
Remote management
Web-server page
Open the ESR3000D web-server, use the ESR3000D IP address, which is shown on the display – section NET, or can be obtained using the KV2 diag tool software. 
Overview
Shows the amplifier basic information.
Basic Information
Shows the information assigned by the user of the amplifier: Description, Amplifier name, Location, Contact, Uptime, and Firmware revision.
Network status
Shows the amplifier ethernet network address, netmask, mode, and status.
Power
Shows the amplifier power sources status: Mains power A & B, Channel A & B power sources, Power over Ethernet (PoE).
Temperature
Shows the amplifier channel A & B heat sinks temperatures and Diagnostic CPU temperature.

Channels
Shows the amplifier control parameters and amplifier diagnostics information.
Control
Changes the amplifier A&B control parameters, Full range (ON or OFF) , SUB Mono (ON or OFF), Mute (RED = amplifier muted),
Input level (-24 to +6 dB), SUB level (-24 to +6 dB), Band mute (SUB, LOW, MID, HI mute ON or OFF)
Diagnostics
Shows amplifier diagnostics information.
Mains voltage
Signal
Green when input signal is present.
Speaker protection
Orange when speaker protection hits.
Temperature
Shows the amplifier channel A & B heat sinks temperatures.
Output voltage
Shows the amplifier speaker output voltages.
Output current
Shows the amplifier speaker output currents.
Calculated impedance
Shows the amplifier speaker output connected to speaker impedances.

Diagnostics
Shows the ESR3000D amplifier and its components diagnostics information. Dual colour – Green = OK / Red = no power or some problem occurs.
Device
Sums ESR3000D diagnostics together
Channel A & B
Sums amplifier channel diagnostics information: Power source, Temperature, Health (amplifiers A & B LOW, MID, HI are working OK with dedicated gain).
Temperature
Displays amplifiers heat sinks A & B temperatures (°C).
Protection
When red they indicate that that channel has overheated and shut down. The unit will Auto Reset after it cools down to a safe operating temperature.

Settings
Shows and sets the device information, web-server password, and network address.
Device identification
Shows and sets the device’s local information, Device Name, Location, and Contact.
Security
Sets name and password for web-server security (default User name: admin, default password: admin)
Network
Sets the Ethernet IP mode. AutoIP/DHCP (default). Static (IP address and netmask must be set).
Specifications
| Output Channels | |
| Number of Channels | 2 (stereo) |
| Total Output Power | 2x 1300W |
| High-Frequency Amplifier Specification | |
| Type | Class AB – Push-Pull – Low IM Design, Transformer balanced output |
| Rated Continuous Power | 100W |
| Distortion | <0.02% |
| Operating Bandwidth | 2.5kHz to 40kHz |
| Mid-Frequency Amplifier Specification | |
| Type | Class AB – Push-Pull – Low IM Design, Transformer balanced output |
| Rated Continuous Power | 200W |
| Distortion | <0.02% |
| Operating Bandwidth | 400Hz to 2,5kHz |
| Low-Frequency Amplifier Specification | |
| Type | High efficiency, Current-enhancing switch mode |
| Rated Continuous Power | 1000W |
| Distortion | <0.02% |
| Operating Bandwidth | 20Hz to 400Hz |
| Signal Input | |
| Input Sensitivity | 1.55V RMS |
| Input Impedance | 20kΩ (balanced) |
| Speaker Output | |
| Speaker Output | 2x AP6 female |
| Features | |
| Network | Ethernet: SMNP, Webserver |
| Power | |
| Power Connector | 2x Neutrik PowerCon® |
| Operating Voltage | 115V / 230V / 250V |
| Operating Voltage Range | 100 to 120V@60Hz | 205 to 240V@50Hz | 225 to 260V@50Hz |
| Recommended Amperage | 2x10A 115V | 2x5A 230V | 2x5A 250V |
| Physical Dimensions | |
| Height | 177 mm (6.97″), 4RU |
| Width | 481.4 mm (18.95″) |
| Depth | 455.3 mm (17.93″) |
| Weight | 39 kg (86lbs) |
Using the System
Full range setup

External subwoofer setup

Set ESR3000D Amplifier to FULL RANGE OFF mode. The signal is crossed over at Hi/Mid for ESR215MkII cabinets and SUB for the external subwoofer.
SUB SET UP LEVEL setting depends on which subwoofer unit is used.
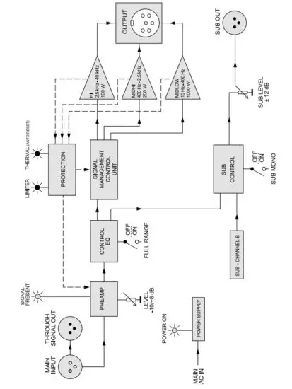
Block Diagram
ESR3000D Block Diagram
Channel A, channel B is identical

Warranty Service
Warranty
Your ESR3000D is covered against defects in material and workmanship.
Please refer to your supplier for more details.
Service
In the unlikely event that your ESR3000D develops a problem, it must be returned to an authorized distributor, service center or shipped directly to our factory. Because of the complexity of the design and the risk of electrical shock, all repairs must be attempted only by qualified technical personnel.
If the unit needs to be shipped back to the factory, it must be sent in its original carton. If improperly packed, the unit may be damaged.
To obtain service, contact your nearest KV2 Audio Service Centre, Distributor or Dealer.
The Future of Sound.
Made Perfectly Clear.
KV2 Audio International
Nádražní 936, 399 01 Milevsko
Czech Republic
Tel.: +420 383 809 320
Email: [email protected]
www.kv2audio.com



















