BIOGENESIS AA6061 6 Kg Powder Fire Extinguisher

Product Information
The Biogenesis S.r.l. 6 Kg Powder Fire Extinguisher is a high-quality product suitable for use in fire emergencies. It is certified according to the directive for pressure equipment PED 2014/68/EU and has been approved and certified by Bureau on fire involving electrical voltages in Italy. The fire extinguisher has a fire rating of ABC, which means it is effective against fires involving Class A, B, and C materials. The extinguishing agent used is ABC powder, specifically EPW 18462 (ABC Favorit Tertia) with a MAP (Monoammonium Phosphate) content of 20%. The nominal charge of the extinguisher is 6 Kg, with a full weight of approximately 9.3 Kg. The dimensions of the fire extinguisher are as follows: height (base-valve) of 540 mm and diameter of 160 mm. It has a discharge time of approximately 18.5 seconds. The cylinder pressure is set between 22 and 27 bar, and the cylinder material is made of alloy steel. The external/internal treatment of the extinguisher includes sandblast and epoxypolyestere powder painting in Red Ral 3000 color. The packaging for the fire extinguisher includes single packaging, with a maximum of 12 pieces per package. On pallets measuring 100×120 cm, a maximum of 100 pieces can be stacked, while on pallets measuring 80×120 cm, a maximum of 64 pieces can be stacked. The packaging quantities and measurements are indicative and subject to changes.
Product Usage Instructions
- Before using the fire extinguisher, familiarize yourself with its location and operation instructions.
- In case of a fire, assess the situation to determine if it is safe to use the fire extinguisher. If the fire is spreading rapidly or is too large to handle, evacuate immediately and call emergency services
- To activate the fire extinguisher, follow these steps:
- Remove the safety pin by pulling it out.
- Aim the nozzle at the base of the fire, keeping a safe distance of at least 1 meter.
- Squeeze the handle or lever to release the extinguishing agent.
- Sweep the nozzle from side to side, covering the entire area of the fire until it is completely extinguished.
- After using the fire extinguisher, even if only partially, it is recommended to have it recharged or replaced as soon as possible
- Regularly inspect and maintain the fire extinguisher according to the rules and regulations in your country. For outdoor or marine installations, it is recommended to protect the fire extinguisher with a cover or box
- If any spare parts need replacement, refer to the provided list and ensure that genuine parts are used for prope functionality.
Remember, proper training on fire safety and the use of fire extinguishers is essential for effective fire prevention and control.
6 Kg Powder FIRE EXTINGUISHER
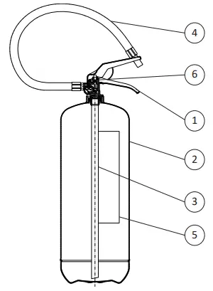
- CYLINDER
Alloy steel, deep drawing, epoxypolyestere powder painting, Red Ral 3000. - EXTINGUISHING AGENT
ABC Powder – MAP 20 %. - PROPELLANT
Dehumidified air or N2 . - VALVE
M. 30×1.5, lightweight aluminum alloy AA6061 body, levers with red painting Ral 3000. - USE
A B C fire rating (solid materials, flammable liquids, flammable gas)
Note: image is for illustrative purpose only, the product purchased can has some differences
6 Kg powder fire extinguisher, temperature range from -30°C to +60°C, manufactured in accordance to UNI EN 3-7, certified according to the directive for pressure equipment PED 2014/68/EU. Quality Product certification guaranteed by Bureau Veritas Italia. Suitable for use on fire involving electrical voltages up to 1. 000 V, at a distance of 1 mt.


TECHNICAL SPECIFICATIONS

PACKAGING
- STANDARD : maximum 100 pieces for pallet (44 pieces for box, max 2 boxes for pallet) (12 pieces in single packaging)
- Pallet dimensions 100x120x160(h) cm

SINGLE PACKAGING ON REQUEST:
- maximum 64 pieces on pallet 100×120 cm
- maximum 48 pieces on pallet 80×120 cm
Note: the packaging quantities and measurements are indicative and can be subject at changes
MAINTENANCE AND INSTALLATION
For outdoor or marine installation is recommended to protect the fire extinguisher with cover or box. Maintenance according to the rules in use in utilization country.
SPARE PARTS

Biogenesis S.r.l.
www.bio-genesis.it














