
APC SRT96BP External Battery Pack Smart-UPS

Important Safety Messages
SAVE THESE INSTRUCTIONS – This manual contains important instructions that should be followed during the installation and maintenance of the Smart-UPS and batteries. Read these instructions carefully and look at the equipment to become familiar with the device before trying to install, operate, service, or maintain it. The following special messages may appear throughout this bulletin or on the equipment to warn of potential hazards or to call attention to information that clarifies or simplifies a procedure.
- The addition of this symbol either to a “Danger” or “Warning” safety label indicates that an electrical hazard exists which will result in personal injury if the instructions are not followed.
- This is the safety alert symbol. It is used to alert you to potential personal injury hazards. Obey all safety messages that follow this symbol to avoid possible injury or death.
DANGER
DANGER indicates a hazardous situation that, if not avoided, will result in death or serious injury.
WARNING
WARNING indicates a hazardous situation that, if not avoided, could result in death or serious injury.
CAUTION
CAUTION indicates a hazardous situation that, if not avoided, could result in minor or moderate injury.
NOTICE
NOTICE is used to address practices not related to physical injury.
Product Handling Guidelines

Safety and General Information
- Adhere to all national and local electrical codes.
- Changes and modifications to this unit not expressly approved by APC by Schneider Electric could void the warranty.
- This unit is intended only for indoor use in a controlled environment.
- Do not operate this unit in direct sunlight, in contact with fluids, or where there is excessive dust or humidity.
- Be sure the air vents on the unit are not blocked. Allow adequate space for proper ventilation.
- The battery typically lasts for three to five years. Environmental factors impact battery life. Elevated ambient temperatures, poor quality mains power, and frequent short-duration discharges will shorten battery life.
- The equipment is heavy. Always practice safe lifting techniques adequate for the weight of the equipment.
- The batteries are heavy. Remove the batteries before installing the UPS and external battery packs (XLBPs) in a rack.
- Always install XLBPs at the bottom in rack-mount configurations. The UPS must be installed above the XLBPs.
- The UPS will recognize as many as 10 XLBPs connected to the UPS.
Note: For each XLBP added, increased recharge time will be required. - Always recycle used batteries.
- Recycle the packing materials or save them for reuse.
- Additional safety information can be found in the Safety Guide supplied with this unit.
Battery Safety
- Replace batteries with the same number and type of batteries as originally installed in the equipment.
- Schneider Electric uses Maintenance-Free Sealed Lead Acid batteries. Under normal use and handling, there is no contact with the internal components of the battery. Overcharging, overheating, or other misuse of batteries can result in a discharge of battery electrolytes. Released electrolyte is toxic and may be harmful to the skin and eyes.
- CAUTION: Before installing or replacing the batteries, remove jewelry such as wristwatches and rings. High short circuit current through conductive materials could cause severe burns.
- CAUTION: Do not dispose of batteries in a fire. The batteries may explode.
- CAUTION: Do not open or mutilate batteries. Released material is harmful to the skin and eyes and may be toxic.
Overview
- To verify that the installation of an external battery pack (XLBP) has been successful, go to the UPS display interface. Perform a Visible Alarm Test to determine if the XLBP is recognized by the UPS. The LED on the XLBP will flash if successful communication has been established.
- When viewing the status of an XLBP on the UPS display interface screen, the LED on the corresponding XLBP will flash.
- When an RBC needs to be replaced, perform a Runtime Calibration Test to verify that battery replacement is required.
Package Contents
Inspect the contents upon receipt. Notify the carrier and dealer if there is damage.

Specifications
For additional specifications, refer to the APC by Schneider Electric website at www.apc.com.
Environmental
| Temperature | Operating | 0° to 40° C (32° to 104° F) |
| Storage | -15° to 45° C (5° to 113° F) | |
| Elevation | Operating | 0 – 3,000 m (0 – 10,000 ft) |
| Storage | 0 – 15,000 m (49,212 ft) | |
| Humidity | 0% to 95% relative humidity, non-condensing | |
| Protection Class | IP 20 rating | |
| Note: Charge the battery modules every six months during storage. Environmental factors impact battery life. Elevated ambient temperatures, high humidity, poor quality mains power, and frequent short-duration discharges will shorten battery life. | ||
Physical
The XLBP is heavy. Follow all lifting guidelines.
| SRT96BP | SRT96RMBP | SRT72BP | SRT72RMBP | |
| Unit-weight batteries included, without packaging | 40.9 kg (90.2 lb) | 34.6 kg (80.2 lb) | ||
| Unit weight batteries included, with packaging | 46.06 kg (101.5 lb) | 48.86 kg (107.7 lb) | 40.72 kg (89.8 lb) | 43.52 kg (96 lb) |
| Rack-mount unit dimensions without packaging Height x Width x Depth | 85 mm x 432 mm x 594mm 3.35 in x 17 in x 23.4 in | |||
| Unit dimensions with packaging Height x Width x Depth | 240 mm x 600 mm x 830 mm 9.4 in x 23.6 in x 32.7 in | |||
| The model and serial numbers are on a small label located on the rear panel. | ||||
Battery
CAUTION
RISK OF HYDROGEN SULPHIDE GAS AND EXCESSIVE SMOKE
- Replace the battery at least every 5 years.
- Replace the battery immediately when the UPS indicates battery replacement is necessary.
- Replace the battery at the end of its service life.
- Replace batteries with the same number and type of batteries as originally installed in the equipment.
- Replace the battery immediately when the UPS indicates a battery overtemperature condition, or when there is evidence of electrolyte leakage. Power off the UPS, unplug it from the AC input and disconnect the batteries. Do not operate the UPS until the batteries have been replaced.
- Replace all battery modules (including the modules in External Battery Packs) which are older than one year, when installing additional battery packs or replacing the battery module(s).
Failure to follow these instructions could result in equipment damage and minor or moderate injury.
Contact APC by Schneider Electric Worldwide Customer Support to determine the age of the installed battery modules.
| Battery type | Maintenance-free, leak-proof, sealed, lead acid | |
| Replacement battery module This XLBP has swappable battery modules. Refer to the appropriate replacement battery user manual for installation instructions. Contact your dealer or go to the APC by Schneider Electric website, www.apc.com for information on replacement batteries. | SRT96BP | SRT72BP |
| APCRBC152 | APCRBC141 | |
| Number of battery modules | 2 modules | 2 modules |
| Voltage for each battery module | 96 V | 72 V |
| Total voltage for the XLBP | ||
| Ah rating | 5.1 Ah per battery module | |
| Battery cable length | 500 mm (19.7 in) | |
| Battery Module | UPS | XLBP |
| APCRBC152 | SRT3000XLx/SRT3000RMXLx | SRT96BP/SRT96RMBP |
| APCRBC141 | SRT2200XLx/SRT2200RMXLx | SRT72BP/SRT72RMBP |
Remove Battery Modules
CAUTION RISK OF FALLING EQUIPMENT
- Each APCRBC152 battery module weighs 16.4 kg (36.2 lb) and each APCRBC141 battery module weighs 12.5 kg (27.6 lb).
- Always practice safe lifting techniques adequate for the weight of the equipment.
- Remove the battery modules before installing the XLBP.
- Use the battery module handle to carefully slide the battery modules in or out of the XLBP.
- Do not use the battery module handle to lift or carry the battery module.
Failure to follow these instructions can result in equipment damage and minor or moderate injury.

Installation
XLBP Connectors Installation
- Connect the XLBP connector, labeled RBC 1, to the right-hand side (RHS) RBC in rack-mount installation and to the top RBC in tower installation, when viewed from the front.
- Connect the XLBP connector, labeled RBC 2, to the left-hand side (LHS) RBC in rack-mount installation and to the bottom RBC in tower installation, when viewed from the front.

Rack-Mount Installation
- UPS model may differ in appearance from those depicted in these graphics.
- The XLBP installation process is identical for all models.
- Refer to the rail kit Installation Guide for instructions on rail installation.
RISK OF FALLING EQUIPMENT
- The equipment is heavy. Always practice safe lifting techniques adequate for the weight of the equipment.
- Always use the recommended number of screws to secure brackets to the XLBP.
- Always use the recommended number of screws to secure the XLBP to the rack.
- Always install the XLBP at the bottom of the rack.
- Always install the XLBP below the UPS in the rack.
- Use the battery module handle to slide the battery modules in or out of the XLBP.
- Do not use the battery module handle to lift or carry the battery module.
Failure to follow these instructions can result in equipment damage and minor or moderate injury.




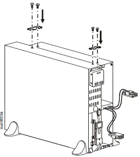
Tower Installation
CAUTION RISK OF FALLING EQUIPMENT
- Prior to installing the tie brackets, select a location sturdy enough for the combined weight of the units.
- Do not move the units once the tie brackets are installed.
- Always install the XLBP and UPS models together in a tower configuration.
- Always install stabilizer brackets when XLBP and UPS models are installed together in a tower configuration.
Failure to follow these instructions can result in equipment damage and minor or moderate injury.
Stabilizer bracket installation
Stabilizer brackets are supplied with the UPS models.

Tie bracket installation

Install battery modules and bezels



Connect Battery and Ground Cables
Connect ground cables

Connect external battery pack cables
The UPS external battery pack connector has a cover, secured with a screw.
- Remove the screw and the cover.
- Connect the external battery pack.

Smart Battery Management
Definitions
- Replaceable Battery Cartridge (RBC): An APC by Schneider Electric battery cartridge consisting of a string of battery cells arranged to provide a battery assembly with a connector. Replacement RBCs can be ordered from the APC through Schneider Electric’s website, www.apc.com.
- Smart External Battery Pack (XLBP): An enclosure that contains RBC(s) and battery management electronics.
- User Interface (UI): Any interface by which a user can interact with the system. This may include a UPS display interface, a network management interface, or PowerChute™ Network Shutdown software.
NOTE: Do not use a battery that is not APC by Schneider Electric approved.
The system will not detect the presence of a non-APC by Schneider Electric-approved battery and may adversely affect the operation of the system. Use of a non-APC by Schneider Electric approved battery will void the manufacturer warranty.
Maintenance
- RBC maintenance: The APC by Schneider Electric RBC uses sealed lead acid battery cells and does not require maintenance.
- Runtime Test (Calibration): This should be performed anytime the steady state load is changed significantly, for example, a new server is added to or removed from the UPS load.
- Battery health monitoring: The battery energy output and voltage are monitored to assess the health of the installed batteries when the UPS is operating on the battery. Battery health monitoring is done during a UPS Self Test, a Runtime Calibration Test, and when the UPS is operating on battery power.
The UPS can be configured to perform periodic, automatic Self Tests.
End of useful life
- Near end-of-life notification: A message will appear on the UPS display interface screen when each RBC is approaching the end of its useful life. For configuration details refer to Replacement Notification Time and Replacement Battery Alarm Time in the UPS Operation Manual. The estimated replacement date for each RBC is available through the UI.
- Needs replacement notification: The UPS display interface screen shows when RBC replacement is required. The RBC must be replaced as soon as possible.
When an RBC requires replacement, the UPS display interface may recommend that additional RBCs be replaced if they will soon reach the end of their useful life.
Note: Continued operation after the end of useful life notification may cause damage to the batteries.
- Recycling: Remove the RBC from the XLBP. Recycle the RBC. Do not disassemble an RBC.
Recommended actions after installing new RBCs or XLBPs
Refer to the UPS Operation Manual for details on Test and Diagnostics Menu options for the following tests:
- Self Test
- Runtime Test
- Visible Alarm Test
The following actions should be performed after installing a new RBC or XLBP:
- Verify that the UPS is connected to input power and output power is turned on.
- When a new XLBP is installed, verify that the XLBP is detected by the system.
- Perform a UPS Visible Alarm Test.
- Check that the LED on all installed XLBPs continuously flashes.
- To verify that the installation of a replacement battery cartridge (RBC), has been successful, go to the UPS display interface. Use the Status menus to verify that the UPS recognizes the RBCs.
- Verify that the UPS load is greater than 400 watts. This can be verified through the UPS display interface.
- Perform a UPS Self Test.
- If at the time of XLBP installation UPS input power is not available, turn on the UPS output from battery power for 30 seconds. This will allow the UPS to detect all installed RBCs. Refer to the UPS Operation Manual for instructions on how to turn the UPS on and off.
- Verify on the UPS display interface that the installation dates for the replaced RBCs are set to the current date. The installation dates can be changed manually on the UPS display interface. If all RBCs have been replaced at the same time, all installation dates can be changed simultaneously. For configuration details refer to Battery Install Date in the UPS Operation Manual.
- Allow the system to charge for 24 hours to ensure full runtime capability.
- Initiate a Runtime Calibration Test through the UI.
User interface
View notifications: The status of connected XLBPs can be viewed using the UPS display interface menu options.
- XLBP Status LED: The XLBP LED illuminates red to indicate three possible states.
- Off: No message. This is the default state.
- Solid red: XLBP cannot communicate with UPS. The XLBP controller is not functional.
- Flashing red:
For identification purposes, each XLBP is automatically assigned a number. To verify the number of a specific XLBP, use the UPS display interface menu options. Select an XLBP number. The LED will flash on the XLBP assigned to that number.
- XLBP LED test: From the UPS display interface, LED functionality can be tested by executing a Visible Alarm Test. This command causes the LED on each connected XLBP to flash.
- System interfaces: Battery status, alerts, and measurements are shown on the UPS display interface screen. Refer to the UPS Operation Manual.

Troubleshooting
| Issues | Possible Cause | Solution |
| XLBP LED flashes. | • The UPS display interface is requesting XLBP status • Visible Alarm Test has been requested by the UPS • Indicates that an RBC needs to be replaced | • No action is necessary.
• No action is necessary. • Refer to the UPS display interface screen for information. |
| XLBP LED remains illuminated | XLBP has detected a potential hardware error | • Contact APC by Schneider Electric Customer Support. Refer to the Service section in the Operation Manual for contact information. |
| UPS display interface shows an RBC disconnected message. | • RBC is not connected • XLBP has detected an RBC hardware error | Connect the RBCs. Verify that the UPS recognizes the RBCs. Perform a UPS Self Test. If the message remains on the display interface screen replace the RBC. |
| XLBP is not recognized. | • XLBP has detected a communication issue • XLBP has detected a potential hardware error | • Be sure the battery connections to the XLBPs are secure. • Be sure the connection between the XLBPs and the UPS is secure. • Perform a Visible Alarm Test to verify that the LED flashes. • If the detected issue persists, contact APC through Schneider Electric Customer Support. Refer to the Service section in the Operation Manual for contact information. |
| UPS display interface shows XLBP disconnected message. | • Power cable is not securely connected to an XLBP or to the UPS • XLBP has detected a hardware error | • Be sure the battery connections to the XLBPs are secure. • Perform a Visible Alarm Test to verify that the LED flashes. • If the detected issue persists, contact APC by Schneider Electric Customer Support. Refer to the Service section in the Operation Manual for contact information. |
Limited Factory Warranty
Schneider Electric IT Corporation (SEIT), warrants its products to be free from defects in materials and workmanship for a period of two (2) years from the date of purchase. The SEIT obligation under this warranty is limited to repairing or replacing, at its own sole option, any such defective products. Repair or replacement of a defective product or parts thereof does not extend the original warranty period.
This warranty applies only to the original purchaser who must have properly registered the product within 10 days of purchase. Products may be registered online at warranty.apc.com.
SEIT shall not be liable under the warranty if its testing and examination disclose that the alleged defect in the product does not exist or was caused by the end user’s or any third person’s misuse, negligence, improper installation, testing, operation, or use of the product contrary to SEIT recommendations or specifications. Further, SEIT shall not be liable for defects resulting from 1) unauthorized attempts to repair or modify the product, 2) incorrect or inadequate electrical voltage or connection, 3) inappropriate on-site operation conditions, 4) Acts of God, 5) exposure to the elements, or 6) theft. In no event shall SEIT have any liability under this warranty for any product where the serial number has been altered, defaced, or removed.
EXCEPT AS SET FORTH ABOVE, THERE ARE NO WARRANTIES, EXPRESS OR IMPLIED, BY OPERATION OF LAW OR OTHERWISE, APPLICABLE TO PRODUCTS SOLD, SERVICED, OR FURNISHED UNDER THIS AGREEMENT OR IN CONNECTION HEREWITH.
SEIT DISCLAIMS ALL IMPLIED WARRANTIES OF MERCHANTABILITY, SATISFACTION, AND FITNESS FOR A PARTICULAR PURPOSE.
SEIT EXPRESS WARRANTIES WILL NOT BE ENLARGED, DIMINISHED, OR AFFECTED BY AND NO OBLIGATION OR LIABILITY WILL ARISE OUT OF, SEIT’S RENDERING OF TECHNICAL OR OTHER ADVICE OR SERVICE IN CONNECTION WITH THE PRODUCTS.
THE FOREGOING WARRANTIES AND REMEDIES ARE EXCLUSIVE AND IN LIEU OF ALL OTHER WARRANTIES AND REMEDIES. THE WARRANTIES SET FORTH ABOVE CONSTITUTE SEIT’S SOLE LIABILITY AND THE PURCHASER’S EXCLUSIVE REMEDY FOR ANY BREACH OF SUCH WARRANTIES. SEIT WARRANTIES EXTEND ONLY TO THE ORIGINAL PURCHASERS AND ARE NOT EXTENDED TO ANY THIRD PARTIES.
IN NO EVENT SHALL SEIT, ITS OFFICERS, DIRECTORS, AFFILIATES, OR EMPLOYEES BE LIABLE FOR ANY FORM OF INDIRECT, SPECIAL, CONSEQUENTIAL, OR PUNITIVE DAMAGES, ARISING OUT OF THE USE, SERVICE, OR INSTALLATION OF THE PRODUCTS, WHETHER SUCH DAMAGES ARISE IN CONTRACT OR TORT, IRRESPECTIVE OF FAULT, NEGLIGENCE OR STRICT LIABILITY OR WHETHER SEIT HAS BEEN ADVISED IN ADVANCE OF THE POSSIBILITY OF SUCH DAMAGES. SPECIFICALLY, SEIT IS NOT LIABLE FOR ANY COSTS, SUCH AS LOST PROFITS OR REVENUE, WHETHER DIRECT OR INDIRECT, LOSS OF EQUIPMENT, LOSS OF USE OF EQUIPMENT, LOSS OF SOFTWARE, LOSS OF DATA, COSTS OF SUBSTITUTE, CLAIMS BY THIRD PARTIES, OR OTHERWISE.
NOTHING IN THIS LIMITED WARRANTY SHALL SEEK TO EXCLUDE OR LIMIT SEIT’S LIABILITY FOR DEATH OR PERSONAL INJURY RESULTING FROM ITS NEGLIGENCE OR ITS FRAUDULENT MISREPRESENTATION OF TO THE EXTENT THAT IT CANNOT BE EXCLUDED OR LIMITED BY APPLICABLE LAW.
To obtain service under warranty you must obtain a Returned Material Authorization (RMA) number from customer support. Customers with warranty claims issues may access the SEIT worldwide customer support network through the APC by Schneider Electric website: www.apc.com. Select your country from the country selection drop-down menu. Open the Support tab at the top of the web page to obtain information about customer support in your region. Products must be returned with transportation charges prepaid and must be accompanied by a brief description of the problem encountered and proof of date and place of purchase.
APC by Schneider Electric Worldwide Customer Support
Customer support for this or any other APC by Schneider Electric product is available at no charge in any of the following ways:
- Visit the APC by Schneider Electric website to access documents in the APC by Schneider Electric Knowledge Base and to submit customer support requests.
- www.apc.com (Corporate Headquarters) Connect to localized APC by Schneider Electric websites for specific countries, each of which provides customer support information.
- www.apc.com/support/ Global support searching APC by Schneider Electric Knowledge Base and using e-support.
- Contact APC by Schneider Electric Customer Support Center by telephone or e-mail.
- Local, country-specific centers: go to www.apc.com/support/contact for contact information.
- For information on how to obtain local customer support, contact the APC by Schneider Electric representative or other distributors from whom you purchased your APC by Schneider Electric product.
FAQ’s
How often should the batteries be replaced?
The batteries should be replaced at least every 5 years or when the UPS indicates battery replacement is necessary.
What type of batteries does the APC SRT96BP External Battery Pack Smart-UPS use?
The APC SRT96BP External Battery Pack Smart-UPS uses Maintenance-Free Sealed Lead Acid batteries.
How many battery modules are included in the APC SRT96BP External Battery Pack Smart-UPS?
The APC SRT96BP External Battery Pack Smart-UPS includes 2 battery modules.
How long are the battery cables for the APC SRT96BP External Battery Pack Smart-UPS?
The battery cables for the APC SRT96BP External Battery Pack Smart-UPS are 500 mm (19.7 in) long.
How do I install the XLBP connectors?
What are the installation guidelines for rack-mount and tower installations of the APC SRT96BP External Battery Pack Smart-UPS?
Rack-Mount Installation: Always install the XLBP at the bottom of the rack, below the UPS. Use recommended screws to secure brackets and the XLBP to the rack. Tower Installation: Install tie brackets, stabilizer brackets, and connect ground cables. Always install the XLBP and UPS models together in a tower configuration.
How do I remove the battery modules from the APC SRT96BP External Battery Pack Smart-UPS?
Use the battery module handle to carefully slide the battery modules in or out of the XLBP. Practice safe lifting techniques and do not use the battery module handle to lift or carry the battery module.
Where can I find more information on replacement batteries for the APC SRT96BP External Battery Pack Smart-UPS?
Contact your dealer or visit the APC by Schneider Electric website for information on replacement batteries.
How can I verify if the installation of an external battery pack (XLBP) was successful?
To verify the installation, go to the UPS display interface and perform a Visible Alarm Test. If the XLBP is recognized by the UPS, the LED on the XLBP will flash.
How many XLBPs can be connected to the UPS?
The UPS can recognize up to 10 XLBPs connected to it. However, adding more XLBPs will increase the recharge time.
What should I do if the UPS indicates that a battery needs to be replaced?
Perform a Runtime Calibration Test to verify if battery replacement is required.
How often should the battery modules be charged during storage?
Charge the battery modules every six months during storage.
Download this PDF Link: APC SRT96BP External Battery Pack Smart-UPS Installations Guide
















