
INARI 8 Quick Start Guide
INARI features, buttons & interfaces
Front

- Ambient Light Sensor
Recognizes the ambient light and adjusts the display brightness if enabled in the operating system - Front microphone outlet
- Front camera
2MP camera for video conferencing - Camera Indicator LED
Lights up if camera is activated and during device boot and shutdown. - Charging indicator LED
OFF not connected to the charger
ORANGE charging
GREEN connected and fully charged
RED charge fault - Second microphone outlet
- NFC antenna position
Can be used to read NFC & RFID tags over the display
Topside
- On / Off Button
Push it once to start the tablet; push it again to enable the sleep mode. Push and
hold it to shut down the device. - Volume key
Push the left side to reduce the volume, use the right side to increase the volume
Right and Bottom side
- Docking connector
- USB-C for charging, data, audio and video
- Stereo speakers
Rearview
- Camera flash LED
- Rear camera
8MP camera for high-resolution images & video - Battery lid (with custom logo sticker)
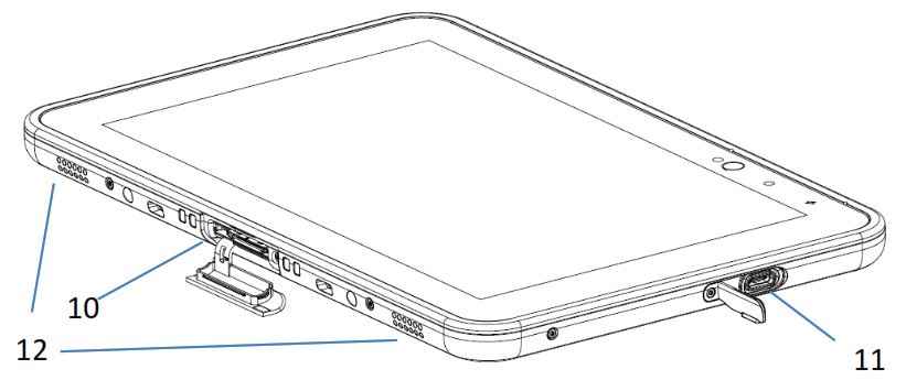
Replacing Battery / Adding a memory card
To replace the battery, take of the battery lid by pulling on the lid carefully.
Pull-on the battery holder hook (1) to the bottom of the device. Pull the battery up (2) using pull tab, and pull on the second battery holder hook (3).

The memory card and SAM card can be inserted on the left, please ensureyou insert it in the right direction as shown on the picture.
When putting the battery back in place, please make sure both hooks have clicked and are safely secured. Ensure to put the battery lid in place securely.
Using the Tablet for the first time
- Connect power supply for the first time and make sure battery is fully charged before disconnecting. We recommend a charging dock or docking station to charge the tablet. If you use a USB-C wall charger, please ensure it is LPS/PS2 compliant. This product is using USB-C power profiles 5V/3A and 9V/2A. USB-C wall charger shall follow USB- standard and has at least 18W output power.
- To turn the tablet on, press the power button for at least 1 second.
- Follow the instructions in the operating system to complete the setup.
Troubleshooting
In case devices freeze and you need to do a hard reset, press and hold the power button for approx. 14 seconds. The device will be turned off now.
Connecting USB3.0 devices while being connected to a WLAN network requires it to be a 5GHz connection to maintain it.
2.4GHz networks will be disconnected on the INARI side while USB3.0 devices are in use.
Important Product and Safety information
- Do not drop, bend or twist your tablet. This can break tablet display glass, internal circuit boards or mechanics. If the glass breaks, do not touch the glass parts of the device or attempt to remove the broken glass from the device. Stop using the device until the glass is replaced by qualified service personnel.
- Do not try to disassembly your tablet. This may damage the device.
- Operate your device in a place where the temperature is between -20°C and +50°C. Operation between -20°C to -10°C will result in limited performance.
- Charge your device with the recommended charger in a place where the temperature is between 0°C and +40°C. When not charging, the device can operate in temperatures up to +50°C. Please note that charging speed is reduced at higher temperatures.
- Store your device in a place where the temperature is between -20°C and +60°C. Please note that battery storage requires special handling, so please check the comments about battery safety.
- This product is equipped with a USB-C connector, intended to be supplied by a certified LPS/PS2 compliant power supply capable of providing 5V-9V according to USB specification.
- For charging the socket outlet shall be installed near the equipment and shall be easily accessible.
- Protect your device from water and moisture intake. Keep connector doors closed when not in use to prevent water and moisture intake.
- Listen to a headset at a moderate level, and do not place the device’s loudspeaker outlets near your ear when the loudspeakers are in use.
- Use only soft, clean and dry lint-free cloth to clean your device.
- Keep the unit and accessories away from small children.
- Switch off your device before boarding to an aircraft.
- Switch off your device in any area with a potentially explosive atmosphere.
- Your device meets guidelines for exposure to radio waves (SAR, Specific Absorption Rate) when kept in a close distance to your body.
- The power rating for the device: 3.8V 3.5A
- Use only LPS/PS2 compliant wall charger that has at least 18W and follows USB-C standards.
- Do not disconnect the charger by pulling the cord.
- Do not use damaged power cords or plugs.
- Save energy. You can save energy by doing the following. o Close unused applications and data connections.
o Decrease screen brightness and sound volume.
o Deactivate unnecessary sounds like touch panel sound.
o Disconnect your charger from mains outlet when charger is not needed.
o Do no keep unnecessary accessories connected in your device. - Recycle. Return your used electronic units to dedicated collection points. Please note that your tablet has a battery, so it is not allowed to be disposed to normal household waste and the battery requires separate recycling.
- Replaceable battery safety
o Batteries have life cycles. If the time that the battery powers equipment becomes much shorter than usual, the battery life might be at the end. Replace the battery when a significant loss of run time is detected.
o When batteries are stored over six (6) months, some irreversible deterioration in overall battery quality may occur.
o Store batteries at half of the full charge in a dry, cool place, removed from the equipment to prevent loss of capacity, rusting of metallic parts and electrolyte leakage. Do NOT store it at full charge, especially not in high-temperature environments.
o, Do not store the battery for more than 1 month in environments with temperatures between 35°C to 60°C (≤90%RH).
o, Keep the device away from heat (battery temperature not to exceed 60°C).
o, Stop using the tablet if abnormal heat, order, discoloration, deformation, or abnormal condition is detected during use, charge, or storage.
o Do not throw the battery into fire, it may be exploded.
o, Do not soak the battery with liquid like water, tea, coffee etc.
o, Do not hit, bend, deform or drop the battery.
o, Do not pierce the battery with a sharp object such as a needle, etc.
o, Keep battery away from children.
o The battery should not have liquid from electrolyte flowing, but in case the electrolyte comes into contact with eyes, don’t rub your eyes. Wash your eyes well with clean water and go to see a doctor immediately. In case the electrolyte comes into contact with your skin, wash it well with clean water.
o Do not externally short-circuit the battery. If externally short-circuited, the battery may be heated, ignited or broken.
o There is a risk of explosion if you replace the battery with an incorrect type. Only use the correct battery type for this device.
o Dispose of battery needs to be done according to instructions above.
Warning Statements![]()
To prevent possible hearing damage, do not listen at high volume levels for long periods.
Antenna positions
Your device meets guidelines for exposure to radio waves (SAR, Specific Absorption Rate) when kept in a close distance to your body. Antenna areas are highlighted in below pictures.
Radio Waves Specifications
The device has the following radio waves specifications:
| Radio Waves Specifications | ||
| Radio | Frequency | Max. Output Power |
| NFC | 13.56MHz | 18±2dBuA/m @10m |
| Bluetooth | 2.4-24835GHz | 8±2dBm(EIRP) |
| 2.4G Wi-Fi | 2.4-2.4835GHz | 18±2dBm(EIRP) |
| 5G Wi-Fi | 5.15-5.35GHz | 21 ± 2dBm(EIRP) |
| 5.47-5.725GHz | 21 ± 2dBm(EIRP) | |
| 5.725-5.85GHz | 12 ± 2dBm(EIRP) | |
Conformity Declarations
Depending on the actual model, the following conformity/compliance statements are valid. Please check the type label of
your device for further information.
EU Declaration of Conformity
Hereby, Aava Mobile declares that the radio equipment INARI 8 is in compliance with Directive 2011/65/EU and
1999/5/EC or 2014/53/EU (2014/53/EU supersedes 1999/5/EC from 13th June 2017). The full text of the EU Declaration
of Conformity is available at the following internet address: http://www.aavamobile.com/doc
Marking and European Economic Area (EEA)
The use of RLAN’s, for use throughout the EEA, have the following restrictions:
- maximum radiated transmit power of 100 mW EIRP in the frequency range 2.400 – 2.4835 GHz
- 5.13 – 5.35 GHz is restricted to indoor use only
Bluetooth® Wireless Technology for use through the EEA has the following restrictions: - maximum radiated transmit power of 100mW EIRP in the frequency range 2.400 -2.4835 GHz Wireless Devices Country Approvals
Wireless devises Country Approvals
Regulatory markings, subject to certification, are applied to the device signifying the radio(s) are approved for use in the following countries: United States, Canada, and Europe
1 . Please refer to the Aava Mobile Declaration of Conformity (DoC) for details of other country markings. This is available at http://www.aavamobile.com/doc. 1
Europe includes: Austria, Belgium, Bulgaria, Croatia, Czech Republic, Cyprus, Denmark, Estonia, Finland, France, Germany, Greece, Hungary, Iceland, Ireland, Italy, Latvia, Liechtenstein, Lithuania, Luxembourg, Malta, Netherlands, Norway, Poland, Portugal, Romania, Slovak Republic, Slovenia, Spain, Sweden, Switzerland and the UK(NI).
The device supports WLAN 5150-5350 MHz with indoor usage restrictions.![]()
FCC Compliance Statement
Note: This equipment has been tested and found to comply with the limits for a Class B digital device, pursuant to Part 15 of the FCC rules. These limits are designed to
provide reasonable protection against harmful interference in a residential installation. This equipment generates, uses and can radiate radio frequency energy and, if not installed and used in accordance with the instructions, may cause harmful interference to radio communications. However, there is no guarantee that interference will not occur in a particular installation. If this equipment does cause harmful interference to radio or television reception, which can be determined by turning the equipment off and on, the user is encouraged to try to correct the interference by one or more of the following measures:
- Reorient or relocate the receiving antenna
- Increase the separation between the equipment and receiver
- Connect the equipment into an outlet on a circuit different from that to which the receiver is connected
- Consult the dealer or an experienced radio/TV technician for help.
Radio Transmitters (Part 15)
This device complies with Part 15 of the FCC Rules. Operation is subject to the following two conditions: (1) this device may not cause harmful interference, and (2) this device must accept any interference received, including interference that may cause undesired operation.
Changes or modifications not expressly approved by the party responsible for compliance could void the user‘s authority to operate the equipment.
FCC type approval ID: 2ABVH-INARI8C1
RF Exposure Information (SAR)
This model device meets the government’s requirements for exposure to radio waves. This device is designed and manufactured not to exceed the emission limits for exposure to radiofrequency (RF) energy set by the Federal Communications Commission of the U. S. Government. The exposure standard for wireless devices employs a unit of measurement known as the Specific Absorption Rate, or SAR. The regulatory SAR limit set by the FCC is 1.6 W/kg, the maximum measured single transmission SAR is 1.091 W/kg. Tests for SAR are conducted using standard operating positions accepted by the FCC with the device transmitting at its highest certified level, the actual SAR level of the device while operating can be well below the maximum value. This is because the device is designed to operate at multiple power levels so as to use only the poser required to reach the network. In general, the closer you are to a wireless base station antenna, the lower the power output.
While there may be differences between the SAR levels of various devices and at various positions, they all meet the government requirement.
The FCC has granted an Equipment Authorization for this model device with all reported SAR levels evaluated as in compliance with the FCC RF exposure guidelines. SAR information on this model device is on file with the FCC and can be found under the Display Grant section of http://www.fcc.gov/oet/fccid after searching on the below:
FCC ID: 2ABVH-INARI8C1
This device is compliant with SAR for general population / uncontrolled exposure limits in SNAI / IEEE C95.1-1999 and had been tested in accordance with the measurement methods and procedures specified in the Office of Engineering and Technology (OET) Laboratory Division Knowledge Database (KDB), 447498 D03. Specific Absorption Rate (SAR): 1.091 W/kg
This product has been tested and found to comply with the following standards:
• For the worst case positions, the INARI8 is in compliance with the IC RSS 102 Issue 5 (RSS 102) and Federal Communications Commission (FCC) Guidelines (KDB) 447498 D03 for uncontrolled exposure. SAR assessment in body-worn was conducted with a distance of 0 mm between the housing of the handheld and the flat phantom.
• EM 6231Radio Frequency Interference Requirements – Canada
CAN ICES-3 (B)/NMB-3(B)
Radio Transmitters
This device complies with Industry Canada’s license-exempt RSS. Operation is subject to the following two conditions: (1)
This device may not cause interference; and (2) This device must accept any interference, including interference that may
cause undesired operation of the device.
For RLAN Devices: 1:2008: Assessment of electronic and electrical equipment related to human exposure restrictions for electromagnetic fields (0 Hz – 300 GHz).
The use of 5 GHz RLAN’s, for use in Canada, have the following restrictions:
IC type approval ID: 11875A-INARI8C1
Radiation Exposure Statement (SAR)
Warning: This equipment complies with SAR for general population / uncontrolled exposure limits in SNAI / IEEE C.951, Federal Communication Commission Office of Engineering and Technology (KDB) 447498 D03, Canada RSS-102, and CENELEC limits for exposure to radiofrequency (RF) radiation. Specific Absorption Rate (SAR) 1.091 W/kg 802.11a Radio Precaution Statement
– The device for operation in the band 5150-5250 MHz is only for indoor use to reduce the potential for harmful interference to co-channel mobile satellite systems;
– Users should also be advised that high-power radars are allocated as primary users (i.e. priority users) of the ban ds 5250-5350 MHz and 5650-5850 MHz and that these radars could cause interference and/or damage to LE-LAN devices.
802.11 Radio Precaution statement
Users are responsible for configuring the channels of operation that comply with their country regulatory standards. A Wireless Network Administrator should review the operating restrictions detailed within the Access Point installation manual.
Radio Frequency Interference Requirements – Brazil
The device meets the SAR limit of 2.0 W/kg established by Anatel (National Telecommunications Agency in Brazil). The product should be kept at least 1.5 cm from the body to ensure compliance with the radio frequency exposure limits.
For EU Customers: All products at the end of their life must be returned to Aava Mobile for recycling. For
information on how to return a product, please go to: http://www.aavamobile.com/weee.

Aava Mobile Oy
Nahkatehtaankatu 2
FI-90130 Oulu, Finland
Tel.: +358 8 373 800 Aava Mobile US, LLC
84 Peachtree St., NW
Atlanta, GA 30303, USA
Tel.: +1 800 656 3470 Aava Mobile GmbH
Harksheider Str. 3
22399 Hamburg, Germany
Tel.: +49 40 6979 5939
www.aavamobile.com
© 2021 Aava Mobile Oy, All rights reserved





















