IKEA FULLSTANDING Extractor Hood

PART LIST

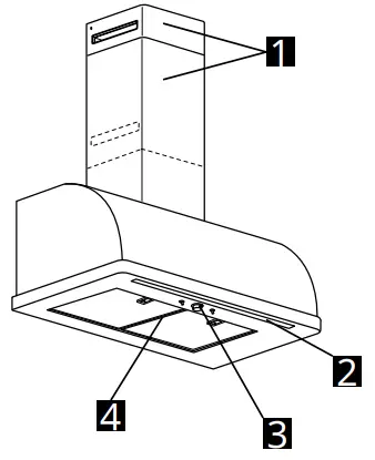
Description of the appliance

- Chimney
- Lamp
- Control Panel
- Grease Filter
Control Panel

- A Engine on/off switch
- B Suction speed (power) selection knob Speed
- C Low suction speed (power)
- D Average suction speed (power)
- E High suction speed (power)
- F Maximum suction speed (power)
- G Lighting on/off switch
Technical Data
| Type of appliance | Wall-mounted Hood | ||
|
Dimensions | Width | mm | 798 |
| Depth | mm | 498 | |
| Total height in suction mode (min-max) | mm | 756-1023 | |
| Total height in recirculation mode (min-max) | mm | 756-1095 | |
| Total power | W | 257 | |
| Light info | Type | LED | |
| Number & Power | W | 1x7w | |
| Connection | LED Strip | ||
| Minimum installation height – gas cooker | mm | 650 | |
| Minimum installation height – electric cooker | mm | 500 | |
| Product weight | Kg | 18 | |
| Product information in accordance with EU Regulation no. 65/2014 | |||
| Name of Supplier | IKEA | ||
| Model identification code | FULLSTÄNDIG 70527008 | ||
| Annual energy consumption – AEC | Kwh/year | 36.9 | |
| Energy efficiency class | To | ||
| Fluid dynamic efficiency FDE | % | 35.4 | |
| Fluid dynamic efficiency class | To | ||
| Luminous efficiency LE | lux/W | 60.1 | |
| Luminous efficiency class | lux | To | |
| Grease filtering efficiency – GFE | % | 85.1 | |
| Grease filtering efficiency class | B | ||
| Minimum air flow (normal power) | m3/h | 280.0 | |
| Maximum air flow (normal power) | m3/h | 640.0 | |
| Airflow setting in boost mode | m3/h | NA | |
| A-weighted sound power level of noise emissions at minimum speed | Db(A) re 1pW | 46.0 | |
| A-weighted sound power level of noise emissions at maximum speed | Db(A) re 1pW | 65.0 | |
| A-weighted sound power level of noise emissions in boost mode | Db(A) re 1pW | NA | |
| Power consumption in off mode-P0 | W | 0.49 | |
| Power consumption in standby mode-Ps | W | NA | |
| Product information in accordance with EU Regulation no. 66/2014 | |||
| Factor of increase over time – f | 0.7 | ||
| Energy efficiency index – EEI | 42.1 | ||
| Airflow measured at best efficiency point – QBEP | m3/h | 345.0 | |
| Air pressure measured at best efficiency point – PBEP | Pa | 460.0 | |
| Maximum airflow – Qmax | m3/h | – | |
| Electric power consumption at best efficiency point – WBEP | W | 124.5 | |
| Rated power of lighting system – WL | W | 7.0 | |
| Average illuminance of the lighting system on the cooking surface – Emiddle | lux | 421.0 | |




















