BLACK DECKER NVB, WDB Series Mini Handy Vacuum User Guide
Intended use
Your Black & Decker Dustbuster® handheld vacuum cleaner has been designed for light dry vacuum cleaning purposes (NVB115W, NVB115WA, NVB215W, NVB215WA). This appliance is intended for household use only.
Your Black & Decker Dustbuster® handheld vacuum cleaner has been designed for light wet and dry vacuum cleaning purposes (WDB115W, WDB115WA, WDB215W, WDB215WA). This appliance is intended for household use only.
Safety instructions
Warning! Read all safety warnings and all instructions. Failure to follow the warnings and instructions listed below may result in electric shock, fire and/or serious injury.
Warning! When using battery powered appliances, basic safety precautions, including the following, should always be followed to reduce the risk of fire, leaking batteries, personal injury and material damage.
- Read all of this manual carefully before using the appliance.
- The intended use is described in this manual. The use of any accessory or attachment or the performance of any operation with this appliance other than those recommended in this instruction manual may present a risk of personal injury.
- Retain this manual for future reference.
Using your appliance
- Do not use the appliance to pick up liquids or any materials that could catch fire.
- Do not use the appliance near water.
- Do not immerse the appliance in water.
- Never pull the charger lead to disconnect the charger from the socket. Keep the charger lead away from heat, oil and sharp edges.
- This appliance can be used by children aged from 8 years and above and persons with reduced physical, sensory or mental capabilities or lack of experience and knowledge if they have been given supervision or instruction concerning use of the appliance in a safe way and understand the hazards involved. Children shall not play with theappliance. Cleaning and user maintenance shall not be made by children without supervision.
Inspection and repairs
- Before use, check the appliance for damaged or defective parts. Check for breakage of parts, damage to switches and any other conditions that may affect its operation.
- Do not use the appliance if any part is damaged or defective.
- Have any damaged or defective parts repaired or replaced by an authorized repair agent.
- Regularly check the charger lead for damage. Replace the charger if the lead is damaged or defective.
- Never attempt to remove or replace any parts other than those specified in this manual.
Additional safety instructions
Residual risks.
Additional residual risks may arise when using the tool which may not be included in the enclosed safety warnings. These risks can arise from misuse, prolonged use etc.
Even with the application of the relevant safety regulations and the implementation of safety devices, certain residual risks can not be avoided. These include:
- Injuries caused by touching any moving parts.
- Injuries caused by touching any hot parts.
- Injuries caused when changing any parts or accessories.
- njuries caused by prolonged use of the appliance. When using any appliance for prolonged periods ensure you take regular breaks.
Batteries and chargers
Batteries
- Never attempt to open for any reason.
- Do not expose the battery to water.
- Do not expose the battery to heat.
- Do not store in locations where the temperature may exceed 40°C.
- Charge only at ambient temperatures between 10°C and 40°C.
- Charge only using the charger provided with the appliance/tool. Using the wrong charger could result in an electric shock or overheating of the battery.
- When disposing of batteries, follow the instructions given in the section “Protecting the environment”.
- Do not damage/deform the battery pack either by puncture or impact, as this may create a risk of injury and fire.
- Do not charge damaged batteries.
- Under extreme conditions, battery leakage may occur. When you notice liquid on the batteries carefully wipe the liquid off using a cloth. Avoid skin contact.
- In case of skin or eye contact, follow the instructions below.
Chargers
Your charger has been designed for a specific voltage. Always check that the mains voltage corresponds to the voltage on the rating plate and the information in the technical data table.
Warning! Never attempt to replace the charger unit with a regular mains plug.
- Use your Black & Decker charger only to charge the battery in the appliance/ tool with which it was supplied. Other batteries could burst, causing personal injury and damage.
- Never attempt to charge nonrechargeable batteries.
- If the supply cord is damaged, it must be replaced by the manufacturer or an authorised Black & Decker Service Centre in order to avoid a hazard.
- Do not expose the charger to water.
- Do not open the charger.
- Do not probe the charger.
- The appliance/tool/battery must be placed in a well ventilated area when charging.
Electrical safety
Your charger has been designed for a specific voltage. Always check that the mains voltage corresponds to the voltage on the rating plate. Never attempt to replace the charger unit with a regular mains plug.
Symbols on the charger
- Read all of this manual carefully before using the appliance.

- This tool is double insulated; therefore no earth wire is required. Always check that the power supply corresponds to the voltage on the rating plate.

- The charging base is intended for indoor use only.

Labels on appliance
The following symbols appear on this appliance along with the date code:
Only use with charger S003AQ 15![]()
Features
This tool includes some or all of the following features.
- On/off switch (press and hold)
- Bowl release button
- Dust bowl
- Charger
- Charging bracket
Fig. A
- Dry pick up cloth filter (NVB units Only)
- Pre-filter (NVB units Only)
- Wet/Dry foam insert (WDB units Only)
- Wet/Dry deflector (WDB units Only)
Fig. B
- Squeegee (WDB___WA units Only)
- Brush tool (WDB___WA and NVB___WA units Only)
- Crevice tool (WDB___WA and NVB___WA units Only)
Installation
Wall Mounting (fig. C)
The product can be attached to a wall to provide a convenient storage and charging point for the appliance.
When fixing to a wall, make sure that the fixing method is suitable for the wall type and is appropriate to the weight of the appliance.
- Mark the location of the screw holes (within reach of an electrical outlet for charging the vac while it is on the wall bracket).
- Fix the mounting bracket to the wall using appropriate screws and plugs for the type of wall and weight of the appliance.
- Hang the appliance on the wall by placing the opening on the base of the vac over the hooks in the wall mount charging bracket.
Assembly
Accessories (fig .B)
These models may be supplied with some of the following accessories:
- A squeege tool (10) for wet use on hard surfaces.
- A brush tool (11) for furniture and stairs.
- A crevice tool (12) for confined spaces.
Fitting (Fig. D)
- Insert the appropriate accessory into the front of the appliance. Make sure that the accessory is pushed fully in.
Use
- Before first use, the battery must be charged for at least 24 hours.
- Place the appliance on the charging bracket whenever it is not in use.
Warning! Before charging, be sure to empty all liquid contents and dry thoroughly, to avoid damage to your appliance.
Charging the battery (Fig. C)
- Make sure that the appliance is switched off. The battery will not be charged with the on/off switch (1) pressed.
- lace the appliance on the charging bracket (5).
- Plug in the charger. Switch on at the mains.
- Leave the appliance to charge for at least 21 hours. While charging, the charger may become warm. This is normal and does not indicate a problem.
The appliance can be left connected to the charger indefinitely.
Warning! Do not charge the battery at ambient temperatures below 10 °C or above 40 °C.
Switching on and off (fig. E)
- To switch the appliance on, press and hold the on/off switch (1).
- To switch the appliance off, release on/off switch (1).
Dry pick up (NVB units Only)
- For everyday spills of dry material.
Warning! Never pick up wet applications with these units.
Wet and dry pick up (WDB units Only)
- For everyday spills of dry material, use your appliance without the squeegee accessory.
Warning! Your product is designed for light spills only. - This appliance can also be used to pick up everyday liquid spills. Use the squeegee accessory on non-absorbent, hard surfaces. On absorbent surfaces, such as carpet, your appliance will pick up wet spills better without the accessory.
- For best performance on hard surface wet pickups, insert squeegee into the bowl nozzle opening.
- For best results when using this accessory, hold the appliance at an angle of 45° and pull it slowly towards you.
- Do not fill the bowl beyond the end of the intake chute. If there is any liquid in the bowl, do not turn the unit upside down, sideways, point the nozzle upward, or shake the vac excessively.
- After picking up liquid substances clean the appliance and filter immediately. Mold and mildew may form if the unit is not properly cleaned after wet pickups.
- Before charging, be sure to empty all liquid contents and dry thoroughly, to avoid damage to your appliance.
Optimising the suction force
In order to keep the suction force optimised, the filters must be
cleared regularly during use.
Emptying and cleaning the product.
Removing the dust bowl and filters (fig. F & G).

Warning! The filters are re-usable and should be cleaned regularly.
- Press the bowl release button (2) and pull the dust bowl (3) straight off.
- While holding the dust bowl over a bin or sink, pull out the filter to empty the contents of the bowl.
- To replace the dust bowl, place it back onto the handle until it “clicks” firmly into position.
Warning! Never use the appliance without the filters. Optimum dust collection will only be achieved with clean filters.
Foam insert (fig. H) (WDB units Only)
- Place the foam insert (8) into the centre of the wet/dry deflector (9).
Warning! Never use the appliance for wet applications without the water deflector and foam insert fitted.
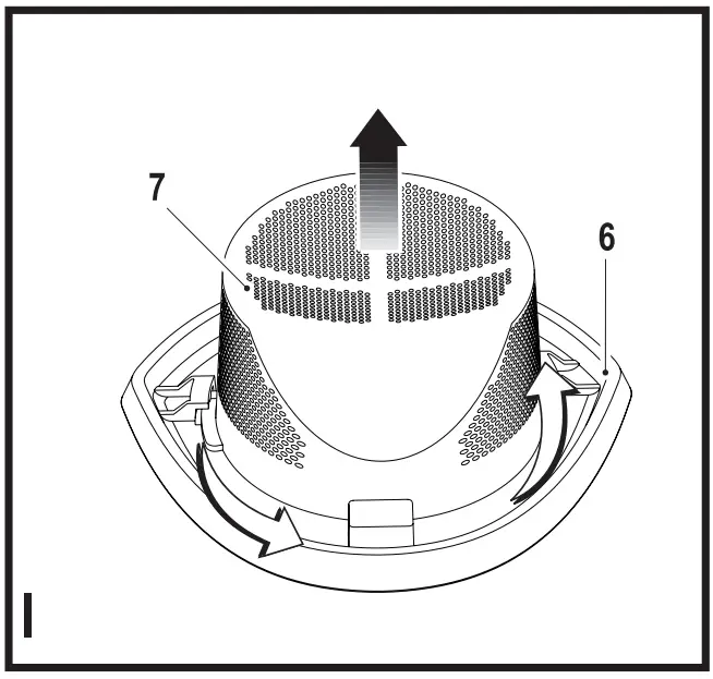
Pre-filter (fig. I) (NVB units Only)
The Filter and pre-filter can be separated to allow better cleaning.
- Twist the pre-filter (7) in an anti-clockwise direction and lift from the filter (6).
Warning! Never pick up wet applications with these units.
Cleaning the dust bowls and filters
- The dust bowls and filters can be washed in warm soapy water.
- Make sure that the filters and the dust bowl are dry before re-fitting.
Replacing the filters
The filters should be replaced every 6 to 9 months and whenever worn or damaged.
Replacement filters are available from your Black & Decker dealer:
For models: NVB115W, NVB115WA, NVB215W, NVB215WA use filter part number FLVD10-XJ
For models: WDB115W, WDB115WA, WDB215W, WDB215WA use filter part number FLWD10-XJ
Maintenance
Your Black & Decker corded/cordless appliance/tool has been designed to operate over a long period of time with a minimum of maintenance. Continuous satisfactory operation depends upon proper tool care and regular cleaning.
Warning! Before performing any maintenance on corded/ cordless power tools:
- Switch off and unplug the appliance/tool.
- Or switch off and remove the battery from the appliance/ tool if the appliance/tool has a separate battery pack.
- Or run the battery down completely if it is integral and then switch off.
- Unplug the charger before cleaning it. Your charger does not require any maintenance apart from regular cleaning.
- Regularly clean the ventilation slots in your appliance/tool/ charger using a soft brush or dry cloth.
- Regularly clean the motor housing using a damp cloth. Do not use any abrasive or solvent-based cleaner.
Protecting the environment
Separate collection. Products and batteries marked with this symbol must not be disposed of with normal household waste.
Products and batteries contain materials that can be recovered or recycled reducing the demand for raw materials. Please recycle electrical products and batteries according to local provisions. Further information is available at
www.2helpU.com
Technical data
| NBV115W, NBV115WA, WDB115W, WDB115WA | NBV215W, NBV215WA WDB215W, WDB215WA | |
| Voltage (VDc) | 3.6 | 7.2 |
| Battery | Li-Ion | Li-Ion |
| Weight (Kg) | 0.61 | 0.65 |
| Charger | 9062787 | 9062787 |
| Input Voltage (VAC) | 100 – 240 | 100 – 240 |
| Output Voltage (V) | 15 | 15 |
| Current (mA) | 150 | 150 |
| Approx charge time (h) | 10 | 10 |
Guarantee
Black & Decker is confident of the quality of its products and offers consumers a 24 month guarantee from the date of purchase. This guarantee is in addition to and in no way prejudices your statutory rights. The guarantee is valid within the territories of the Member States of the European Union and the European Free Trade Area.
To claim on the guarantee, the claim must be in accordance with Black&Decker Terms and Conditions and you will need to submit proof of purchase to the seller or an authorised repair agent. Terms and conditions of the Black&Decker 2 year guarantee and the location of your nearest authorised repair agent can be obtained on the Internet at www.2helpU.com, or by contacting your local Black & Decker office at the address indicated in this manual.
Please visit our website www.blackanddecker.co.uk to register your new Black & Decker product and receive updates on new products and special offers.
Support
| BelgielBelgique/Luxembourg www.blackanddecker.be [email protected] | Stanley Black & Decker Belgium BVBA Egide Walschaertsstraat 16 2800 Mechelen | Tel. NL +32 15 47 37 65 Tel. FR+32 15 47 37 66 Fax.+32 15 47 37 99 |
| Danmark | Black & Decker Roskildevej 22 2620 Albertslund | [email protected] www.blackanddecker.dk |
| Deutschland www.blackanddecker.de [email protected] | Stanley Black & Decker Deutschland Gmbh Black & Decker Str. 40, D – 65510 ldstein | Tel.: 06126 21-0 Fax: 06126 21-2980 |
| EM65a www.blackanddecker.gr [email protected] SERVICE: | Stanley Black & Decker (EMAI) EITE 1–PAOEIA:ITp68wvoc 7 & BouAlayptvg 166 74 rAinpaaa – A8rjva Hpcpoc Temoc 2 -X6vi Aodp 193 00 Acmporrupvoc – Aefiva | TO. 210-8981616 OcR 210-8983570 TO. Service 210-8985208 (kg 210-5597598 |
| Espana www.blackanddecker.es [email protected] | Stanley Black & Decker lberica, S.C.A. Parc de Negocis “Mas Blau” Edificio Muntadas, c/Bergada, 1, Of. A6 08820 El Prat de Llobregat (Barcelona) | Tel.: 934 797 400 Fax: 934 797 419 |
| France www.blackanddecker.fr | Black & Decker (France) S.A.S. 5 allee des H8tres B.P. 30084 69579 Limonest Cedex | Tel.:04 72 20 39 20 Fax: 04 72 20 39 00 |
| Helvetia www.blackanddecker.ch [email protected] | ROFO AG Gewerbezone Seeblick 3213 Kleinbosingen | Tel. 026-6749393 Fax: 026-6749394 |
| Italia www.blackanddecker.it service.italiasbdinc.com | Stanley Black & Decker Italia Via Energypark 6 20871 Vimercante (MB) | Tel. 039-9590200 Fax: 039-9590313 Numero verde 800-213935 |
| BelgielBelgique/Luxembourg www.blackanddecker.be [email protected] | Stanley Black & Decker Belgium BVBA Egide Walschaertsstraat 16 2800 Mechelen | Tel. NL: +32 15 47 37 65 Tel. FR: +32 15 47 37 66 Fax.: +32 15 47 37 99 |
| Danmark | Black & Decker Roskildevej 22 2620 Albertslund | [email protected] www.blackanddecker.dk |
| Deutschland www.blackanddecker.de [email protected] | Stanley Black & Decker Deutschland Gmbh Black & Decker Str. 40, D – 65510 ldstein | Tel.: 06126 21-0 Fax: 06126 21-2980 |
| EM65a www.blackanddecker.gr [email protected] SERVICE: | Stanley Black & Decker (EMAI) EITE 1–PAOEIA:ITp68wvoc 7 & BouAlayptvg 166 74 rAinpaaa – A8rjva Hpcpoc Temoc 2 -X6vi Aodp 193 00 Acmporrupvoc – Aefiva | TO. 210-8981616 OcR 210-8983570 TO. Service 210-8985208 (kg 210-5597598 |
| Espana www.blackanddecker.es [email protected] | Stanley Black & Decker lberica, S.C.A. Parc de Negocis “Mas Blau” Edificio Muntadas, c/Bergada, 1, Of. A6 08820 El Prat de Llobregat (Barcelona) | Tel. 934 797 400 Fax: 934 797 419 |
| France www.blackanddecker.fr | Black & Decker (France) S.A.S. 5 allee des H8tres B.P. 30084 69579 Limonest Cedex | Tel. 04 72 20 39 20 Fax: 04 72 20 39 00 |
| Helvetia www.blackanddecker.ch servicerofoag.ch | ROFO AG Gewerbezone Seeblick 3213 Kleinbosingen | Tel. 026-6749393 Fax: 026-6749394 |
| Italia www.blackanddecker.it service.italiasbdinc.com | Stanley Black & Decker Italia Via Energypark 6 20871 Vimercante (MB) | Tel. 039-9590200 Fax: 039-9590313 Numero verde 800-213935 |

References
Inkfix. Handschriftliche Mailings in beliebiger Auflage.
2helpU
Power Tools | Garden Tools | Household Products | BLACK+DECKER
Elektrowerkzeuge | Gartengeräte | Haushaltsprodukte | BLACK+DECKER
Elværktøj | Haveredskaber | Husholdningsprodukter | BLACK+DECKER
Sähkötyökalut | Puutarhatyökalut | Kotitaloustuotteet | BLACK+DECKER
Ηλεκτρικά Εργαλεία | Εργαλεία Κήπου | Οικιακές συσκευές | BLACK+DECKER
Elektroverktøy | Hageprodukter | husholdning produkterBLACK+DECKER
Elverktyg | Trädgård | Hushåll | BLACK+DECKER
zijn.De




















