
DVC320B
DVC320B21
DVC320BRG
| ![]() |
![]() | ![]() |
| ![]() |
![]() | ![]() |
![]() | ![]() |
Intended use
Your BLACK + DECKER DVC320B, DVC320B1,DVC320BRG Dustbuster® handheld vacuum cleaner has been designed for light dry vacuum cleaning purposes. This
appliance is intended for household use only.
Safety instructions
Warning! Read all safety warnings and all instructions. Failure to follow the warnings and instructions listed below may result in electric shock, fire and/or serious injury.
Warning! When using battery-powered appliances, basic safety precautions, including the following, should always be followed to reduce the risk of fire, leaking batteries, personal injury and material damage.
- Read all of this manual carefully before using the appliance.
- The intended use is described in this manual. The use of any accessory or attachment or the performance of any operation with this appliance other than those recommended in this instruction manual may present a risk of personal injury.
- Retain this manual for future reference.
Using your appliance
- This appliance contains batteries that are only replaceable by skilled persons.
- Do not use the appliance to pick up liquids or any materials that could catch fire.
- Do not use the appliance near water.
- Do not immerse the appliance in water.
- Never pull the charger lead to disconnect the charger from the socket. Keep the charger lead away from heat, oil and sharp edges.
- Keep hair, loose clothing, fingers, and all parts of body away from openings and moving parts.
- Do not use without dust bag and/or filters in place.
- This appliance can be used by children aged from 8 years and above and persons with reduced physical, sensory or mental capabilities or lack of experience and knowledge
if they have been given supervision or instruction concerning use of the appliance in a safe way and understand the hazards involved.
Children shall not play with the appliance. Cleaning and user maintenance shall not be made by children without supervision.
Inspection and repairs
- Before use, check the appliance for damaged or defective parts. Check for breakage of parts, damage to switches and any other conditions that may affect its operation.
- Do not use the appliance if any part is damaged or defective.
- Have any damaged or defective parts repaired or replaced by an authorized repair agent.
- Regularly check the charger lead for damage. Replace the charger if the lead is damaged or defective.
- Never attempt to remove or replace any parts other than those specified in this manual.
Additional safety instructions
- When not in use, the appliance should be stored in a dry place.
- Children should not have access to stored appliances.
Residual risks.
Additional residual risks may arise when using the tool which may not be included in the enclosed safety warnings. These risks can arise from misuse, prolonged use etc.
Even with the application of the relevant safety regulations and the implementation of safety devices, certain residual risks can not be avoided. These include:
- Injuries caused by touching any moving parts.
- Injuries caused by touching any hot parts.
- Injuries caused when changing any parts or accessories.
- Injuries caused by prolonged use of the appliance. When using any appliance for prolonged periods ensure you take regular breaks.
- Health hazards caused by breathing dust developed when using your tool (example:- working with wood, especially oak, beech and MDF.)
Batteries and chargers
Batteries
- Never attempt to open for any reason.
- Do not expose the battery to water.
- Do not expose the battery to heat.
- Do not store in locations where the temperature may exceed 40°C.
- Charge only at ambient temperatures between 10°C and 40°C.
- Charge only using the charger provided with the appliance/tool.
Using the wrong charger could result in an electric shock or overheating of the battery. - When disposing of batteries, follow the instructions given in the section “Protecting the environment”.
- Do not damage/deform the battery pack either by puncture or impact, as this may create a risk of injury and fire.
- Do not charge damaged batteries.
- Under extreme conditions, battery leakage may occur. When you notice liquid on the batteries carefully wipe the liquid off using a cloth. Avoid skin contact.
- In case of skin or eye contact, follow the instructions below.
Warning! The battery fluid may cause personal injury or damage to property. In case of skin contact, immediately rinse with water. If redness, pain or irritation occurs seek edical attention. In case of eye contact, rinse immediately with clean water and seek medical attention.
Chargers
Your charger has been designed for a specific voltage.
Always check that the mains voltage corresponds to the voltage on the rating plate and the information in the technical data table.
Warning! Never attempt to replace the charger unit with a regular mains plug.
- Use your BLACK+DECKER charger only to charge the battery in the appliance/tool with which it was supplied.
Other batteries could burst, causing personal injury and damage. - Never attempt to charge nonrechargeable batteries.
- If the supply cord is damaged, it must be replaced by the manufacturer or an authorised BLACK+DECKER Service Centre in order to avoid a hazard.
- Do not expose the charger to water.
- Do not open the charger.
- Do not probe the charger.
- The appliance/tool/battery must be placed in a well ventilated area when charging.
Electrical safety
Your charger has been designed for a specific voltage. Always check that the mains voltage corresponds to the voltage on the rating plate. Never attempt to replace the charger unit with a regular mains plug.
Symbols on the charger
Read all of this manual carefully before using the appliance.
This tool is double insulated; therefore no earth wire is required. Always check that the power supply corresponds to the voltage on the rating plate.
The charging base is intended for indoor use only.
Labels on appliance
The following symbols appear on this appliance along with the date code.
Read all of this manual carefully before using the appli-ance
Only use with charger N893139 / JOD-S-150050**
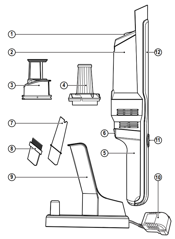
Features
This tool includes some or all of the following features.
| 1. Dust bowl cover release button 2. Dust bowl 3. Prefilter 4. Filter 5. Battery pack 6. Battery pack release button | 7. Crevice nozzle 8. Brush 9. Charging stand 10. Charging adapter 11. Power button 12. Unit body |
Operation
- Press the Power Button (11) as shown in figure A
- Unit starts in high speed. press button again to slow speed.
- Press the Power Button once more, the appliance stops working.
Attaching Accessories
- If you need to use the accessory Brush (8), insert the Brush into the air inlet as shown in figure B and then start the appliance.
- If you need to use the accessory Crevice Nozzle (7), insert the Crevice Nozzle into the air inlet as shown in figure B and then start the appliance.
Charging
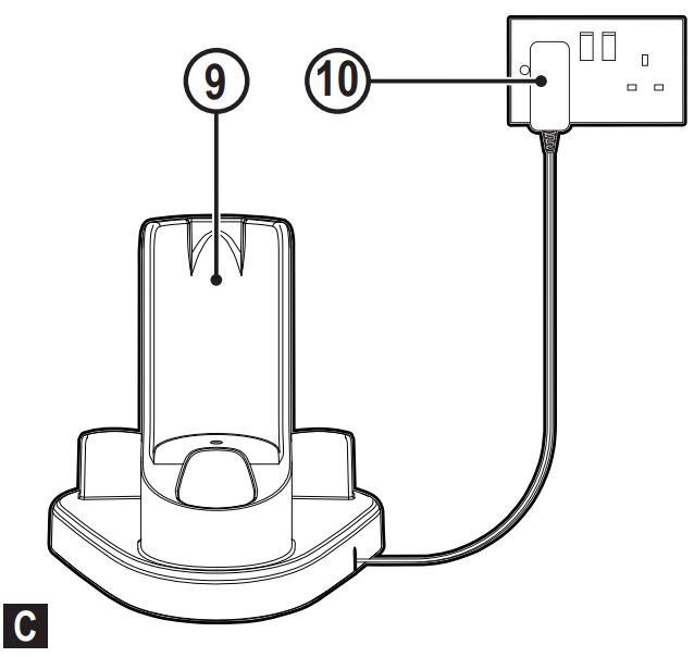
- Plug the Charging Adapter (10) into the mains power socket as shown in figure C.
- Place the appliance into the charging stand (9) so that the socket in the appliance is engaged into the plug of the charging adapter as shown in figure D.
- The charging LED indicator turns on and the appliance starts to charge. When the appliance charges fully, the charging LED indicator turns off.
Warning! Do not charge the battery off the unit to protect from contamination.
Cleaning the filters
- Rotate the Dust bowl (2) in a counterclockwise direction to release from the appliance body as shown in figure G.
- Hold the Filter grip (4) and rotate the Dust bowl to take out the Filter (4).
- Press the Dust bowl cover release button (1) and dispose of the dirt inside as shown in figure G.
- Dispose of the dirt inside. The Dust bowl can be rinsed by water. However it needs to be dried afterwards.
- The prefilter can be rinsed with water and should be dried afterwards.
Replacing the filters
The filters should be replaced every 6 to 9 months and whenever worn or damaged.
Replacement filters are available from your BLACK+DECKER dealer
Storage
The unit can be safely stored using the charging station (10) as shown in figure D.
Maintenance
Your BLACK+DECKER corded/cordless appliance/tool has been designed to operate over a long period of time with a minimum of maintenance. Continuous satisfactory operation depends upon proper tool care and regular cleaning.
Warning! Before performing any maintenance on corded/ cordless power tools:
- Switch off and unplug the appliance/tool.
- Or switch off and remove the battery from the appliance/ tool if the appliance/tool has a separate battery pack.
- Or run the battery down completely if it is integral and then switch off.
- Unplug the charger before cleaning it. Your charger does not require any maintenance apart from regular cleaning.
- Regularly clean the ventilation slots in your appliance/tool/ charger using a soft brush or dry cloth.
- Regularly clean the motor housing using a damp cloth. Do not use any abrasive or solvent-based cleaner.
Protecting the environment
Separate collection. Products and batteries marked with this symbol must not be disposed of with normal household waste.
Products and batteries contain materials that can be recovered or recycled reducing the demand for raw materials. Please recycle electrical products and batteries according to local provisions.
Further information is available at www.2helpU.com
Note:
- BLACK+DECKER’s policy is one of continuous improvement to our products and, as such, we reserve the right to change product specifications without prior notice.
- Standard equipment and accessories may vary by country.
- Product specifications may differ by country.
- Complete product range may not be available in all countries. Contact your local BLACK+DECKER dealers for range availability.
Technical data
DVC320B, DVC320B21, DVC320BRG | |
| Voltage (Vdc) | 12 |
| Battery | Li-Ion |
| Weight (Kg) | 0.83 |
| Charger | N893139 / JOD-S-150050′ |
| Input Voltage (Vac) | 100 — 240 |
| Input AC frequency (Hz) | 50/60 |
| Output Voltage (Vdc) | 15.0 |
| Output Current (A) | 0.5 |
| Approx charge time (h) | 3.5 – 5 |
| Output power (W) | 7.5 |
| Average active efficiency (%) | 84.37 |
| No-load power consumption | 0.07 |
Guarantee
Black & Decker is confident of the quality of its products and offers consumers a 24 month guarantee from the date of purchase. This guarantee is in addition to and in no way
prejudices your statutory rights. The guarantee is valid within the territories of the Member States of the European Union and the European Free Trade Area.
To claim on the guarantee, the claim must be in accordance with Black&Decker Terms and Conditions and you will need to submit proof of purchase to the seller or an authorised repair agent. Terms and conditions of the Black&Decker 2 year guarantee and the location of your nearest authorised repair agent can be obtained on the Internet at www.2helpU.com, or by contacting your local Black & Decker office at the address indicated in this manual.
Please visit our website www.blackanddecker.co.uk to register your new Black & Decker product and receive updates on new products and special offers.
| België/Belgique/Luxembourg www.blackanddecker.be [email protected] | Stanley Black & Decker Belgium BVBA Egide Walschaertsstraat 16 2800 Mechelen | Tel. NL +32 15 47 37 65 Tel. FR +32 15 47 37 66 Fax. +32 15 47 37 99 |
| Danmark | Black & Decker Roskildevej 22 2620 Albertslund | [email protected] www.blackanddecker.dk |
| Deutschland www.blackanddecker.de [email protected] | Stanley Black & Decker Deutschland Gmbh Black & Decker Str. 40, D – 65510 Idstein | Tel. 06126 21-0 Fax 06126 21-2980 |
| United Kingdom & Republic Of Ireland www.blackanddecker.co.uk [email protected] | Black & Decker 270 Bath Road Slough, Berkshire SL1 4DX | Tel. 01753 511234 Fax 01753 512365 |
| Middle East & Africa www.blackanddecker.ae [email protected] | Black & Decker P.O.Box -17164 Jebel Ali Free Zone (South), Dubai, UAE | Tel. +971 4 8863030 Fax +971 4 8863333 |

www.blackanddecker.eu
N876985 REV-02
References
Ηλεκτρικά Εργαλεία | Εργαλεία Κήπου | Οικιακές συσκευές | BLACK+DECKER
2helpU
Power Tools | Garden Tools | Household Products | BLACK+DECKER
Elektrowerkzeuge | Gartengeräte | Haushaltsprodukte | BLACK+DECKER
Elværktøj | Haveredskaber | Husholdningsprodukter | BLACK+DECKER
Sähkötyökalut | Puutarhatyökalut | Kotitaloustuotteet | BLACK+DECKER
Elettroutensili | Utensili da giardino| Pulizia della casa | BLACK+DECKER
Elektrisch gereedschap | Tuingereedschap | Huishoudproducten | BLACK+DECKER
Elektroverktøy | Hageprodukter | husholdning produkterBLACK+DECKER
Elverktyg | Trädgård | Hushåll | BLACK+DECKER

























