
9″ MAGNUM EDGE HARDWOOD SHEAR
Part# MS90-1909
EDI# 29999
104 S. 8th Ave.
Marshalltown, IA Phone 800-888-0127
641-753-0127
Fax 800-477-6341
641-753-6341
www.MARSHALLTOWN.com
WS2636
INTRODUCTION
Thank you for your purchase of the Bullet by Marshalltown 9″ Magnum Edge Hardwood Shear. This top-of-the-line shear is a versatile, heavy-duty flooring shear is manufactured in the USA with the highest-grade materials. We have designed this tool with the flooring professional in mind.
Your new 9″ Magnum Edge Hardwood Shear includes features such as:
- Easy and quiet one-cut action
- Ability to cut inside without dust, noise, or electrical cords
- Built-in ruler and moveable fence for 45 and 90-degree cuts
- LED light kit included for precision cuts
- A strong, lightweight aircraft-grade aluminum construction
- Specialty Hardwood Cutting Blade (Replaceable)
And can cut materials up to 3/4″ thick and 9″ wide, including:
- Wood Flooring
- Bamboo Flooring
- Most Hardwood Flooring
- Engineered Flooring
- Laminate Flooring
- WPC/Vinyl Plank Flooring
This owner’s manual provides the information needed to operate and maintain this 9″ Magnum Edge, Hardwood Shear. Carefully read and follow all safety and operating instructions in this manual. Ensure every operator of this flooring shear reads this manual before operating the unit. The replacement of any part on this flooring shear with a component other than a manufacturer authorized replacement part may adversely affect the performance, durability, or safety of the product.
Be sure safety precautions are observed. Read and follow all safety and operating instructions in this operator’s manual.
The manufacturer reserves the right to make changes on or add improvements to its product at any time without prior notice or obligation. The manufacturer reserves the right to decide, upon its sole discretion and at any time, to discontinue this product or replace parts thereof.
This manual covers the 9″ Magnum Edge, Hardwood Shear. For technical questions or repair parts, please call MARSHALLTOWN customer service at 1-800-888-0127 or visit www.MARSHALLTOWN.com.
SAFETY PRECAUTIONS

DANGER or
WARNING safety signs are located near specific hazards.
General precautions are listed on CAUTION safety signs.- This notation appears before warnings in the text.It means that the step that follows must be carried out to avoid the possibility of personal injury or death. These warnings are intended to help the technician avoid any potential hazards encountered in the normal service procedures. We strongly recommend that the reader takes advantage of the information provided to prevent personal injury or injury to others.
THE FOLLOWING PRECAUTIONS ARE SUGGESTED TO HELP PREVENT ACCIDENTS. A CAREFUL OPERATOR IS THE BEST OPERATOR. MOST ACCIDENTS CAN BE AVOIDED BY OBSERVING CERTAIN PRECAUTIONS. READ AND TAKE THE FOLLOWING PRECAUTIONS BEFORE OPERATING THIS EQUIPMENT TO HELP PREVENT ACCIDENTS. EQUIPMENT SHOULD BE OPERATED ONLY BY THOSE WHO ARE RESPONSIBLE AND
INSTRUCTED TO DO SO.
CALIFORNIA PROPOSITION 65 WARNING:
This product can expose you to chemicals known to the State of California to cause cancer, birth defects, or other reproductive harm.
- Read all operating and maintenance instructions before operating or servicing the flooring shear.
- A flooring shear is only as safe as its operator. Give complete and undivided attention to the operation of the flooring shear.
- Know how to stop the flooring shear instantly.
NEVER operate the flooring shear if any shear components have been removed.- Keep inexperienced and unauthorized people away from the flooring shear at all times.
- Keep the flooring shear in good operational condition. Loose or damaged parts are dangerous.
- Avoid loose clothing that could get caught in moving parts
Keep hands and feet away from moving parts.- Keep all warning, caution, and safety instruction labels in good condition. Replace missing, damaged or illegible labels.
- Clear the work area around the shear to prevent tripping or falling onto the shear.
- Operate on level ground to prevent the flooring shear from flipping over.
- DO NOT OPERATE this flooring shear under the influence of alcohol or while taking medication that impairs your reactions.
- Use only factory-authorized parts for replacement.
- Wear safety glasses when operating the flooring shear.
- Always use caution when replacing the shear blade
- Only operate the shear with the approved materials. If extreme force is required to cut a material, it may result in personal injury and/or damage to the flooring shear.
- Wear proper protective clothing while operating flooring shear, including eye, ear, and clothing.
- Handle all solvents and cleaning agents with care and follow the manufacturer’s instructions on safety and disposal.
SAFETY DECALS
If your safety decals are damaged, they can be replaced by contacting Customer Service. Blade Warning Label
WARRANTY
This product is warranted to the original purchaser only, to be free of defects in material and workmanship under normal use, for 5 years from the purchase date. MARSHALLTOWN shall without charge for parts and labor, repair or replace such parts which are found to be defective. All transportation charges for replacement parts must be borne by the purchaser.
For warranty service, the product must be delivered, with proof of purchase date, to MARSHALLTOWN. Contact MARSHALLTOWN Customer Service to determine the best method of delivering the product that is under warranty. The delivery of the product must be made no later than 30 days after the expiration of the warranty period.
All implied warranties, including those of merchantability and fitness for a particular purpose, are limited to one year from the date of purchase by the original retail customer, and to the extent permitted by law any and all implied warranties are excluded and disclaimed after the expiration of such period.
Some states do not allow limitations on how long an implied warranty lasts or the exclusion or limitations of incidental or consequential damages, so the above limitations or exclusions may not apply to you. This warranty gives you specific legal rights, and you may also have other rights, which vary from state to state.
Exclusion from this warranty:
- All consequential damages, including pickup and delivery of the unit, communication, mileage charges, and/ or rental of a replacement unit during repairs are not covered under this warranty or are any loss of income and/or other loss resulting from the failure of the product to function due to a warranty defect.
- This warranty will not apply when the product becomes inoperative due to misuse, normal wear, neglect, improper maintenance, accident or freight damage; has not been operated and maintained in accordance with the instructions furnished in the Operator’s Manual; or has been altered or modified without approval from the factory Service Department.
- No parts or products are to be returned to the factory without prior written approval from the factory.
PRODUCT OPERATION
Note: Every 1″ of width requires approximately 40lb (18kg) on the handle. (e.g. a 4″ wide plank requires 160lb (72kg) to cut, 5″ wide plank requires 200lb (90kg) to cut.)
MAKING CUTS
The Magnum Edge Hardwood Shear is operated manually. The two-part extendable handle is grasped by the operator and pushed down to make a cut.
CUTTING
- To unlock, gently press the handle down, and slide Bullet Cam-Lock (A) in and down.
- Place Material (B) on the table, and slide under the blade to the desired cut position.
- Push handle (C) down until material is completely cut.
ADJUSTMENTS
The blade should be set so it cuts into the plastic blade stop (D) when the handle is pressed down.
To set the blade depth, rotate the two large nuts (E) on the underside of the base with an 11/2″ (38mm) wrench.
Ensure that both are turned an equal amount.
Adjust in 1/4 turn increments and check to see how deep the blade is set.
To open the blade to cut 1″ material, loosen the Back Stop Knob (F) and rotate the Back Stop (G) up.
Please note: Approved materials may vary in density and hardness. If extreme pressure is required to cut a product, it may result in damage to your machine. Please contact MARSHALLTOWN before proceeding. The warranty is void if an unapproved product damages the machine.
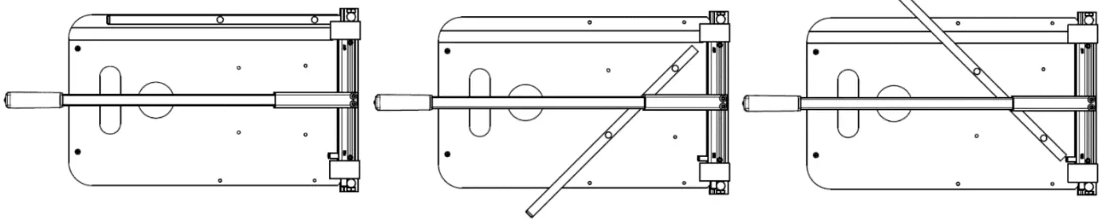
45 DEGREE CUTS
Firmly lift the friction-fit fence to remove it from the table and press back down in the appropriate 45-degree position. NOTE: This image is for the Marksman. Your shear may look slightly different.
SAFETY LOCK
For maximum security, the safety lock will automatically reset in the “locked” position unless disengaged. The safety lock can be disengaged by sliding the knob over and down, and hooking it into the slot. (Shown Right)
TRANSPORT
It is important to re-engage the lock and secure the unextended handle in the down position while storing, carrying, or transporting your Magnum Edge Flooring Shear.
TIP: DOUBLE CUTTING
Most materials shear very well with just one cut. However, some brands may require cutting twice to produce a better cut.
Simply make your first cut 1/8″ to 1/4″ (3 to 6mm) longer than your mark, then go back and make your second cut on your mark. This is very useful to create a cleaner cut when a trim molding or transition cannot be used to cover your cut end.
TIP:
If the groove of your planks splits when cutting, rip a scrap piece and place it alongside as support.
THE ANVIL
The anvil has two edges: a 1/32″ (0.75mm) narrow edge and a 3/16″ (4.5mm) wide edge. Either edge can be used according to the support needed to make a clean cut (some soft-backed products require the wider anvil edge).
TO CHANGE BETWEEN ANVIL EDGES
Simply remove the anvil screws and flip the anvil over. Ensure blade stop is in place.
MAINTENANCE
HONING THE BLADE
Push the handle down until the blade is 1/8″ (3mm) above the tabletop. Place the provided Hone Stone against the flat side of the blade. Slide the honing stone from one end of the blade to the other 3-4 times. This will remove any burrs from your blade.
When you first get your shear, you should hone after your 5th cut, then hone your blade every 10th cut for the first 100 cuts until your blade is broken in. From there, you only need to hone once per job. Use caution when honing the blade. The blade is sharp and can easily cause injury. Cut-resistant gloves are recommended when honing the blade.
For more information on honing your blade, scan the QR code or visit www.marshalltown.com/honing-your-blade
SHARPENING THE BLADE
The blade can be sharpened to restore a one-sided, 21° 22° knife edge. It is important to note that the blade must be sharpened only on the beveled side, leaving the flat side flat. We recommend that powder grinding only be done professionally, as the blade must be fluid cooled during this process.
TIGHTEN THE SCREWS
With regular use, several of the screws on this shear can sometimes become loose. Regularly check tightness on all screws, especially those connecting the handle. They should be turned in until they stop then torqued an extra 1/4 extra turn. Use 4mm or 5mm hex key, as appropriate.
CHANGING THE BLADE
Required tools: 5/32″ or 4mm hex key “Allen” wrench
WARNING
USE EXTREME CAUTION! The blade is very sharp.
- TURN THE SHEAR UPSIDE DOWN
Tip: put the shear on the edge of a sturdy table. - LOOSEN THE BLADE
Using a 5/32″ or 4mm hex key “Allen” wrench, remove the Button Head Socket Cap Screws screws.
- REMOVE BLADE
Hold blade by each end and carefully lift out of pocket. - INSTALL BLADE
Hold the blade by each end and carefully place it into the blade pocket in the head, with the flat side of the blade facing the table. Be sure that it is firmly seated, and the pocket is clear of debris. - TIGHTEN THE BLADE
Using a 5/32″ or 4mm hex key “Allen” wrench, replace and tighten the screws, starting with the center screw.
LUBRICATING
Your Magnum Edge has been pre-lubricated with grease under the end caps. Re-grease every 2 years of use, or if the shear starts squeaking.
– Lock the handle down
– Lay your Magnum Edge on its side
– Remove the end cap by unscrewing the two-button head screws with a 5mm hex key “Allen” wrench
– Fill the grease cavity with grease
– Re-attach the end cap
– Repeat the procedure on the other side
THE BLADE STOP
The blade stop may become worn. Remove anvil, turn blade stopover for more use. Replacements can be purchased at your dealer.
PARTS BREAKDOWN

PARTS BREAKDOWN
REF # | DESCRIPTION | EDI | PART# | QTY |
| 1 | MAGNUM 1909 BASE | R7390 | CON-BSE-1909 | 1 |
| 2 | MAGNUM 1909 HEAD | R7402 | CON-HED-1909 | 1 |
| 3 | MAGNUM 1900 SERIES PIN (LEFT) ZINC PLATED | WU948 | COT-PIN-190L | 1 |
| 4 | MAGNUM 1900 SERIES PIN (RIGHT) ZINC PLATED | WU966 | COT-PIN-190R | 1 |
| 5 | MAGNUM 1909 CAM | R7392 | CON-CAM-1909 | 1 |
| 6 | BEARING ASSEMBLY, POWERCAM FOR MAGNUM SHEARS | R7529 | SUB-BNG-PCAM | 2 |
| 7 | EX09 ANVIL | R7022 | CON-ANV-EX09 | 1 |
| 8 | EX09 BLADE STOP | R7119 | CON-BST-EX09 | 1 |
| 9 | MAGNUM HARDWOOD BLADE | WX2604 | RAW-BDE-P909 | 1 |
| 10 | MAGNUM 1909 TABLE | R7433 | CON-TBL-1909 | 1 |
| 11 | EZ/RCT UPPER HANDLE | R7206 | CON-HAN-U200 | 1 |
| 12 | .40 S&W SPENT CASING | WX2532 | GEN-BUL-LET4 | 1 |
| 13 | 1/2 X 41/2 HEX HEAD GRADE 5 PLATED AXLE BOLT | WR1508 | FAS-BLT-9037 | 2 |
| 14 | M8 X 16 SHCS 12.9 | WR1611 | FAS-SCW-9040 | 2 |
| 15 | BUTTON SPRING, HAIRPIN, 5/16 | WR1630 | GEN-SPR-0847 | 1 |
| 16 | HANDLE GRIP, (1 X 1 X 5 X 1/8″) | WK232 | GEN-HAN-0868 | 1 |
| 17 | UNIVERSAL FENCE | R7184 | CON-FNC-9000 | 1 |
| 18 | END CAP, 5/8″ SQ, LDPE BLK | WL795 | GEN-CAP-850E | 1 |
| 19 | MAGNUM 1900 SERIES LEFT ENDCAP | R7173 | CON-END-190L | 1 |
| 20 | M6 X 45MM SHCS | WR1506 | FAS-BLT-9010 | 1 |
| 21 | 1/2″ DIAMETER CAM LOCK PIN | R7154 | CON-CML-D900 | 1 |
| 22 | M6-1.0 X 16 FHPMS ZP | WR1604 | FAS-SCW-8569 | 4 |
| 23 | #10 X 1 FHPSMS | WR1556 | FAS-SCW-0010 | 3 |
| 24 | M6-1.0 X 12 BHSCS ZINC PLT | WR1585 | FAS-SCW-5612 | 12 |
| 25 | MAGNUM 1900 SERIES HANDLE STUB | R7296 | CON-STB-1900 | 1 |
| 26 | MAGNUM 1909 HARDWOOD SERIES LOWER HANDLE | R7396 | CON-HAN-192L | 1 |
| 27 | MAGNUM 1909 HARDWOOD SERIES RAIL | WC1140 | CON-RAL-1932 | 2 |
| 28 | MAGNUM 1909 TAIL | R7430 | CON-TAL-1909 | 1 |
| 29 | MAGNUM 1900 SERIES RIGHT ENDCAP | R7174 | CON-END-190R | 1 |
| 30 | MAGNUM 1900 SERIES BACKSTROKE STOP | R7107 | CON-BSS-19BS | 1 |
| 31 | 5/16-18 X 21/2 TORX PH THREAD CUTTING SCREW | WR1597 | FAS-SCW-7525 | 4 |
| 32 | SET SCREW, M6 X 35MM, CUP PT | WR1610 | FAS-SCW-9035 | 1 |
| 33 | 5/16-18 X 1 TORX PH THREAD CUTTING SCREW | WR1596 | FAS-SCW-7510 | 4 |
| 34 | M8-1.25 X 20 BHSCS ZINC PLATED | WR1587 | FAS-SCW-5821 | 1 |
| REF # | DESCRIPTION | EDI | PART# | QTY |
| 35 | M8-1.25 X 30 BHSCS ZINC PLATED | WR1588 | FAS-SCW-5830 | 5 |
| 36 | DOWEL PIN, 1/4″ X 11/4″ | WR1541 | FAS-PIN-0881 | 2 |
| 37 | 1-14 NUT | WR1524 | FAS-NUT-1014 | 2 |
| 38 | SPRING, 1.046 ID X 3.5L | WR1631 | GEN-SPR-0859 | 2 |
| 39 | SPRING, 3/8 X 31/2″, CAM LOCK | WR1640 | GEN-SPR-D000 | 1 |
| 40 | M6 PUSH ON KNURLED KNOB FOR SHCS | WL814 | GEN-KNB-931B | 1 |
| 41 | M6 X 25 SHCS ZP | WR1737 | FAS-SCW-EZ04 | 1 |
| 42 | M8 X 12 SET SCREW -CUP POINT (100/BX) AXLE SCREW (MET SS8.12) | WR1612 | FAS-SCW-9041 | 2 |
REPLACEMENT PARTS
REPLACEMENT EDI | REPLACEMENT PART# | DESCRIPTION | INCLUDES DETAIL #’S |
| 29984 | MB93-P909 | 9″ HARDWOOD SHEAR BLADE | 9 |
| 29860 | 847-RP | REPLACEMENT HANDLE SPRING PIN, 5/16″ 1 SIDED | 15 |
| 29767 | 854-RP-0009 | ANVIL REPLACEMENT, 9″ X 1/2″ FOR SHARPSHOOTER PRO AND MAGNUM EDGE 9″ | 7 |
| 29769 | 869-RP-0009 | BLADESTOP REPLACEMENT, 9″ X 1/2″ FOR SHARPSHOOTER PRO AND MAGNUM EDGE 9″ | 8 |
| 29907 | 868-RP-MAG | REPLACEMENT HANDLE GRIP, 1″ SQ X 5″ | 16 |
| 29871 | 856-RP-I | REPLACEMENT FENCE, EDGE, 220-SID, I-SERIES MAGNUM | 17,18,36 |
| 29883 | 858-RP-U900 | REPLACEMENT HANDLE UPPER ONLY (EDGE 13 & I-SERIES MAGNUM) | 11,15,16 |
| 29905 | 856UPG-RP | REPLACEMENT BEARING SET, 2EA PC BALL BEARINGS W/ SLEEVES | 6 |
| 29763 | 860-MAG-RP | 1/2″ CAMLOCK PIN REPLACEMENT | 21 |
Replacement parts are available at www.marshalltown.com search for the Replacement EDI as listed above.
TROUBLESHOOTING
Before troubleshooting double-checks the manual:
- Is your shear properly assembled?
- Is it being operated correctly?
- Is it properly lubricated?
- Has the blade been honed as recommended?
Visually inspect shear, watching for objects that might obstruct the blade or powerhead travel:
- Foreign material is present between the blade and anvil, in the pin springs or under the cam.
- Check your blade for chips, cracks or burrs.
- Make sure bearings are intact and lubricated. They should not be spinning/moving on the cam during use.
NOTE: This troubleshooting is for all Bullet shears. If you are uncertain if it pertains to your shear, please contact Marshalltown customer service.
PROBLEM CHECK FIRST CHECK SECOND CHECK THIRD CHECK FOURTH
| PROBLEM | CHECK FIRST | CHECK SECOND | CHECK THIRD | CHECK FOURTH |
| Difficulty cutting | Ensure the cam lock is OFF. If equipped, engage power lobes (Model 226) | Make sure the handle is FULLY extended | Check blade sharpness/ condition | Inspect and lubricate bearings/pins |
| Not cutting completely through the material | Inspect pins for oblong/wallowed orifice | Adjust front stroke stop (MAGNUM shears) | Check bearings for wear/play | Ensure the blade is proper nominal height |
| Blade sticking after completing cuts | Check/remove & replace blade stops if damaged | Ensure blade screws are tight | Remove the anvil, turn it over, reinstall | Check for marks on the anvil (overbite) |
| Rough or crushed cuts | Check veneer thickness (max= 1/16″) | Check blade condition (chips, burrs, breaks) | Ensure the blade is honed and sharp | Review approved materials list |
| Cuts aren’t square | Loosen fence screws, align fence, tighten | Check pins for uneven wear | Inspect blade and anvil/blade-stop for contact | |
| Handle not returning to open position | Ensure pins are lubricated | Apply grease to the contact area of bearing | Lubricate axle bolts | Check springs for breakage |
| The material won’t fit into the cut area | Check the max thickness of material for your shear | Reverse backstroke stop | Ensure the blade is proper nominal height | If you have two bearings, switch which bearing is engaged |
| Cam lock pin bent/stuck | Do not lift or carry shear by the handle | Return handle slowly to open position – do not “let it fly” | Disengage cam lock pin BEFORE cutting | |
| Blade chipping | Hone as directed in the manual (~25 cuts, then daily) | Do not cut stranded bamboo | Do not cut high-pressure laminate | Check veneer thickness (max=1/16″) |
| Pin openings wallowed out / oblong where cam axle passes through | Do not lift or carry shear by the handle | Return handle slowly to open position – do not “let it fly” | Check veneer thickness (max= 1/16″) | Review approved materials list |
| Not cutting to edge of the material | Check fence alignment – adjust if needed | Do not “angle” material beyond the blade edge | Ensure angle fence(s) are installed with WIDE edge inward (620 models) |

104 S. 8th Ave., Marshalltown,
IA Phone 800-888-0127 / 641-753-0127
Fax 800-477-6341
64 1-753-6341
www.MARSHALLTOWN.com
WS2636






















