Edvivi EW4875BK Aria 8 Inch 1 Light Matte Black Indoor Wall Sconce

MOUNTING AND WIRING
WARNING:
Improper installation may cause electrical shock, fire, or equipment damage. The person performing the installation must be familiar with the construction and operation of the product and associated hazards
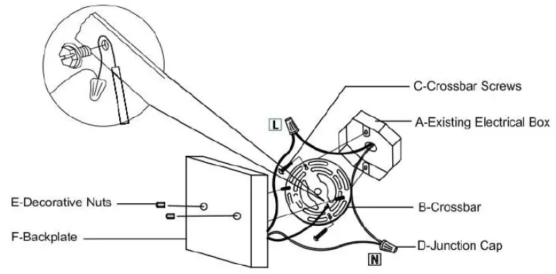
Wire Connection Diagram
Please proceed in an alphabetical order
- Attach the Round Crossbar (B) on the Electrical Box (A) with Crossbar screw (C).
- Secure the Ground Wire on the Round Crossbar (B).
- Connect the power source wire (L) & (N) with black & white main wire with Junction Cap (D).
- Secure the fixture Backplate (F) on the Round Crossbar (B) with Decorative Nut (E).
INSTALLATION INSTRUCTIONS
IMPORTANT SAFETY INSTRUCTIONS
- Please read through all the instructions carefully and completely before beginning assembly and installation
- This product must be installed in accordance with installation instructions and all safety and building codes. It is strongly suggested that all direct wired fixtures be installed by a licensed electrician
- Be sure the electricity to the wires you are working on is shut off; either the fuse is removed or the circuit breaker is turned off. Turning the power off using the light switch is not sufficient to prevent electrical shock

CALIFORNIA PROPOSITON 65 WARNING
- WARNING: This product contains chemicals known to the State of California to cause cancer and birth defects or other reproductive harm. (California law requires this warning to be given to customers in the State of California.)
- For more information:www.P65Warnings.ca.gov
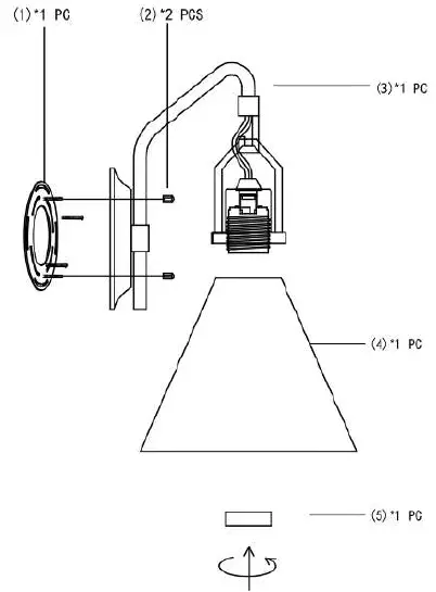
PART LIST AND ASSEMBLY ILLUSTRATION
Note: Some parts may be pre-installed or pre-assembled.

ASSEMBLING, INSTALLATION, AND MOUNTING

Customer Service Number: (832) 478-8866
Customer Service Email Address: [email protected]
Please include your name, contact methods, product name, and model number in the email.
Pictures are always helpful for understanding the issues.













